norelem uses cookies to optimally design and continually improve the website. By continuing to use this website, you agree to the use of cookies. You can find more information about cookies in our Data protection declaration.okay

Item description/product images

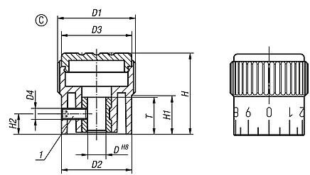
DescriptionMaterial:Thermoplastic, black grey.
Bush steel.
Version:Bush blue passivatedNote:Available without graduations or with 20 graduations and 10 digits.

Δ Add the desired cap colour here. No colour code is required with black grey caps.
On request:Special graduations.Drawing reference:
Form A: without graduations
Form C: with standard graduations

1) Set screw for locking (by Form C between numbers 5 and 6)
Special features:
DownloadHere is all the information as a PDF datasheet:

Are you looking for CAD data? These can be found directly in the product table.
 Datasheet 06100_C Knurled knobs Form C, with standard scale 222 kB

Drawings

Knurled knobs Form C, with standard scale

Item selection/filter

Order No.FormColour
Cap
DD1D2D3D4HH1H2TCADAcc.PriceOrder
06100-3105Cblack grey RAL 70215211919M32210,5510 on request
06100-31051Corange RAL 20045211919M32210,5510 on request
06100-31052Csignal green RAL 60325211919M32210,5510 on request
06100-31053Cblue RAL50175211919M32210,5510 on request
06100-31055Clight grey RAL 70355211919M32210,5510 on request
06100-31056Ctraffic red RAL 30205211919M32210,5510 on request
06100-31057Ccolza yellow RAL 10215211919M32210,5510 on request
06100-3206Cblack grey RAL 70216262323M32612610 on request
06100-32061Corange RAL 20046262323M32612610 on request
06100-32062Csignal green RAL 60326262323M32612610 on request
06100-32063Cblue RAL50176262323M32612610 on request
06100-32065Clight grey RAL 70356262323M32612610 on request
06100-32066Ctraffic red RAL 30206262323M32612610 on request
06100-32067Ccolza yellow RAL 10216262323M32612610 on request
06100-3308Cblack grey RAL 70218343131M43617,5714 on request
06100-33081Corange RAL 20048343131M43617,5714 on request
06100-33082Csignal green RAL 60328343131M43617,5714 on request
06100-33083Cblue RAL50178343131M43617,5714 on request
06100-33085Clight grey RAL 70358343131M43617,5714 on request
06100-33086Ctraffic red RAL 30208343131M43617,5714 on request
06100-33087Ccolza yellow RAL 10218343131M43617,5714 on request

Other items in this category

My norelemE-mailPassword
Shopping cart
Number of items: 0
Amount: 0.00  
shopping cart
欢迎扫描二维码
咨询诺瑞朗官方客服微信
China
苏ICP备20011289号-1  苏公网安备32058502011222 Sitemap Print Recommended Top
Copyright © 2025 norelem. All rights reserved. Tel. +49 71 45/206-44 to 45 · Fax +49 71 45/206-83