norelem uses cookies to optimally design and continually improve the website. By continuing to use this website, you agree to the use of cookies. You can find more information about cookies in our Data protection declaration.okay
UNILOCK 5-axis basic module system size 80 mm
42200

UNILOCK 5-axis basic module system size 80 mm

go back

Item description/product images

Show/filter all items
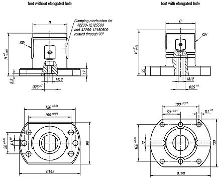
DescriptionMaterial:Carbon steel.Version:Main body oxidised.
Contact faces hardened and ground.
Note:The UNILOCK 5-axis basic module can be adapted directly to subplates with grid holes or T-slots or to tooling plates with a hole pitch of 40/50 mm system size M12. Suitable for UNILOCK zero point clamping system with UNILOCK clamping bolts. Can also be used on the conventional zero point clamping systems by mounting an appropriate adapter clamping bolt.

The following clamping forces are possible with the UNILOCK clamping bolt in conjunction with M10, M12, M16 fastening screws:
- Clamping force (M10) 35,000 N
- Clamping force (M12) 50,000 N
- Clamping force (M16) 75,000 N
Clamping force with DIN EN ISO 4762 -12.9 cap screws

Clamping bolts may only be clamped in conjunction with a mounted interchangeable unit in the clamping module.
On request:With rotation lock
DownloadHere is all the information as a PDF datasheet:

Are you looking for CAD data? These can be found directly in the product table.
 Datasheet 42200 UNILOCK 5-axis basic module system size 80 mm 252 kB

Drawings (total overview)

UNILOCK 5-axis basic module system size 80 mm

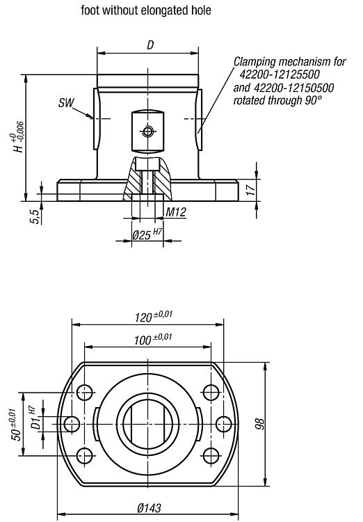
UNILOCK 5-axis basic module system size 80 mm, foot without elongated hole

More information

Drawings

UNILOCK 5-axis basic module system size 80 mm, foot without elongated hole

Item selection/filter

Order No.Version 2Form

Form definitionHDD1SWHolding
force
F kN
Tightening
torque
max. Nm
weight
kg
CADAcc.PriceOrder
42200-1207550400foot without elongated holeAwithout rotation lock758012650153.64 on request
42200-1210050400foot without elongated holeAwithout rotation lock1008012650154.45 on request

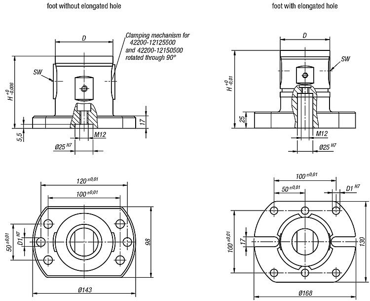
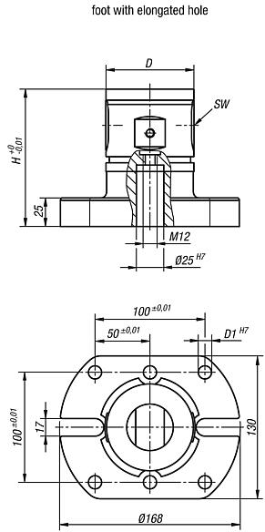
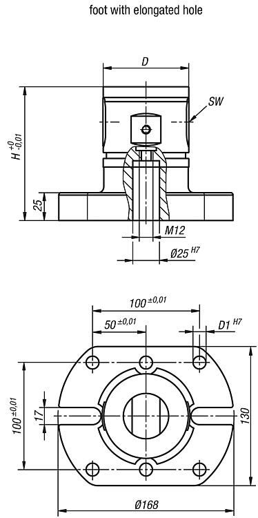
UNILOCK 5-axis basic module system size 80 mm, foot with elongated hole

More information

Drawings

UNILOCK 5-axis basic module system size 80 mm, foot with elongated hole

Item selection/filter

Order No.Version 2Form

Form definitionHDD1SWHolding
force
F kN
Tightening
torque
max. Nm
weight
kg
CADAcc.PriceOrder
42200-12125500foot with elongated holeAwithout rotation lock1258012650156.68 on request
42200-12150500foot with elongated holeAwithout rotation lock1508012650157.5 on request
42200-12175500foot with elongated holeAwithout rotation lock1758012650158.45 on request
My norelemE-mailPassword
Shopping cart
Number of items: 0
Amount: 0.00  
shopping cart
欢迎扫描二维码
咨询诺瑞朗官方客服微信
China
苏ICP备20011289号-1  苏公网安备32058502011222 Sitemap Print Recommended Top
Copyright © 2025 norelem. All rights reserved. Tel. +49 71 45/206-44 to 45 · Fax +49 71 45/206-83