norelem uses cookies to optimally design and continually improve the website. By continuing to use this website, you agree to the use of cookies. You can find more information about cookies in our Data protection declaration.okay
Bracket with hook and loop fastener for screw mounting
80900

Bracket with hook and loop fastener for screw mounting

go back

Item description/product images

DescriptionMaterial:Bracket fibreglass reinforced polyamide.
Hook and loop fastener polypropylene.
Version:Bracket black, self-extinguishing as per UL94-V0.
Hook and loop fastener black, self-extinguishing as per UL94-V2.
Note:The hook and loop fastener bracket serves as an installation aid for the damage-free securing of wires, cables and hoses. The bracket is already fitted with a hook and loop strip The hook and loop strip can be inserted and removed without tools. The hook and loop strip can be opened and fastened hundreds of times.

The hook and loop fastener bracket can be mounted using countersunk screws. Hook and loop fastener bracket B=30 with cap screw.
Special features:
RoHS
DownloadHere is all the information as a PDF datasheet:

Are you looking for CAD data? These can be found directly in the product table.
 Datasheet 80900 Bracket with hook and loop fastener for screw mounting 371 kB

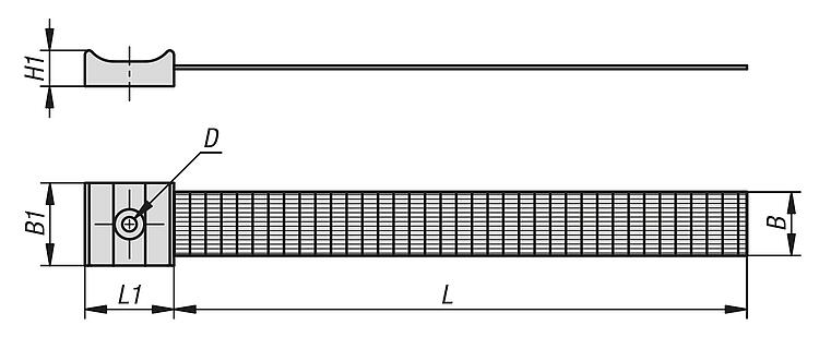
Drawings

Bracket with hook and loop fastener for screw mounting

Item selection/filter

Order No.B

B1D
for screw
H1LL1Clamping range
mm
CADAcc.PriceOrder
80900-071507,515M48,6150194-20 on request
80900-101501015M48,6150194-20 on request
80900-201802026M411,3180298-35 on request
80900-202002026M411,32003610-60 on request
80900-303003038M6193006220-100 on request
My norelemE-mailPassword
Shopping cart
Number of items: 0
Amount: 0.00  
shopping cart
欢迎扫描二维码
咨询诺瑞朗官方客服微信
China
苏ICP备20011289号-1  苏公网安备32058502011222 Sitemap Print Recommended Top
Copyright © 2025 norelem. All rights reserved. Tel. +49 71 45/206-44 to 45 · Fax +49 71 45/206-83