norelem uses cookies to optimally design and continually improve the website. By continuing to use this website, you agree to the use of cookies. You can find more information about cookies in our Data protection declaration.okay
Ball lock pins, stainless steel, retractable with stainless steel twist knob
03191-99

Ball lock pins, stainless steel, retractable with stainless...

go back

Item description/product images

DescriptionMaterial:

Housing and pin stainless steel 1.4305.
Twist knob stainless steel 1.4301.

Version:Bright.Note:M2 or M3 stainless steel fastening screws are included.
Mounting option 1 for plate thickness 6 mm.
Mounting option 2 for plate thickness >6 to 14 mm.

A gap of more than 0.1 mm appears between the plates if the retaining force is exceeded.
Type of operation:Check that the twist knob is in the "OFF" position and that the pin is retracted.
Place the ball lock pin over the receiving bush or insert it. Press the twist knob down and turn it to the "ON" position.
Accessory:Locating bush for ball lock pin 03192-02.Drawing reference:
1) Mounting option 1
2) Mounting option 2
3) Plate
Special features:
Stainless steelRoHS
DownloadHere is all the information as a PDF datasheet:

Are you looking for CAD data? These can be found directly in the product table.
 Datasheet 03191-99 Ball lock pins, stainless steel, retractable with stainless steel twist knob 337 kB

Drawings

Ball lock pins, stainless steel, retractable with stainless steel twist knob

Item selection/filter

Order No.D

D1D2D3D4D5D6D7D8HH1H2L1L2MTT1T2CADAcc.PriceOrder
03191-99-162014625282114264,42,4586,543,55,519,5M2x366-102,5 on request
03191-99-11022181034362818356,53,46610505,521,5M3x466-142,5 on request
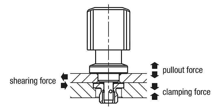
Order No.Shearing force
kN
Clamping
force
N
Pullout force F
kN
Holding
force
N
Temperature
resistance
CADAcc.PriceOrder
03191-99-16203300,590≤180 °C on request
03191-99-110229501,5150≤180 °C on request
Order No.ItemVersion 1Version 2Form definitionCADAcc.PriceOrder
03191-99-1620Ball Lock Pin--- on request
03191-99-11022Ball Lock Pin--- on request
My norelemE-mailPassword
Shopping cart
Number of items: 0
Amount: 0.00  
shopping cart
欢迎扫描二维码
咨询诺瑞朗官方客服微信
China
苏ICP备20011289号-1  苏公网安备32058502011222 Sitemap Print Recommended Top
Copyright © 2025 norelem. All rights reserved. Tel. +49 71 45/206-44 to 45 · Fax +49 71 45/206-83