|
|
|
03330Eccentric bushes and assembly tools for lateral spring plungers |
go back |
|
Item description/product images |
|
|
DescriptionMaterial:Steel.Version:Black oxidised.Note:Eccentric bushes enable lateral spring plungers to be precisely positioned with regard to the workpiece.Drawing reference:Special features: DownloadHere is all the information as a PDF datasheet:
Are you looking for CAD data? These can be found directly in the product table.
|
Drawings (total overview) |
|
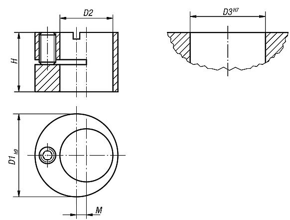
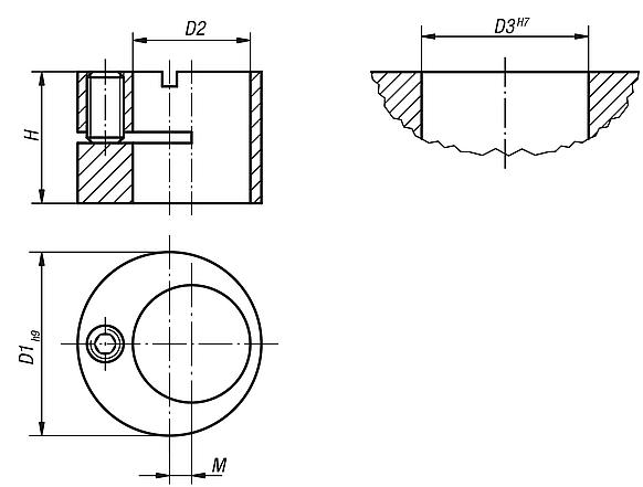
Order No. | Item | D1 | D2 | D3 | D4 | H | M | Suitable for lateral spring plungers with D = | CAD | Acc. | Price | Order |
|---|
| 03330-120 | Holder | 12 | 6 | 12 | 6,3 | 9,9 | 2 | 6 |  | | on request | | | 03330-150 | Holder | 15 | 8 | 15 | 8,3 | 9,9 | 2 | 8 |  | | on request | | | 03330-160 | Holder | 16 | 10 | 16 | 10,3 | 11,9 | 2 | 10 |  | | on request | | | 03330-180 | Holder | 18 | 12 | 18 | 12,3 | 13,9 | 2 | 12 |  | | on request | | | 03330-250 | Holder | 25 | 16 | 25 | 16,3 | 17,9 | 3 | 16 |  | | on request | |
|
Other items in this category |
|
|