norelem uses cookies to optimally design and continually improve the website. By continuing to use this website, you agree to the use of cookies. You can find more information about cookies in our Data protection declaration.okay

Item description/product images

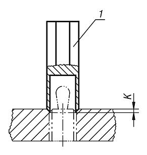
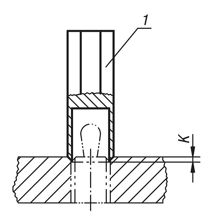
DescriptionMaterial:Steel.Version:Black oxidised.Note:Spring-loaded lateral plungers can fitted without problems using the assembly tool.Drawing reference:
1) assembly tool
Special features:
RoHS
DownloadHere is all the information as a PDF datasheet:

Are you looking for CAD data? These can be found directly in the product table.
 Datasheet 03334_MW Assembly tools 150 kB

Drawings

Assembly tools for lateral spring plungers with threaded sleeve

Item selection/filter

Order No.

Suitable for
lateral spring plungers
with D =
CADAcc.PriceOrder
03334-06M12on request
03334-10M18on request
My norelemE-mailPassword
Shopping cart
Number of items: 0
Amount: 0.00  
shopping cart
欢迎扫描二维码
咨询诺瑞朗官方客服微信
China
苏ICP备20011289号-1  苏公网安备32058502011222 Sitemap Print Recommended Top
Copyright © 2025 norelem. All rights reserved. Tel. +49 71 45/206-44 to 45 · Fax +49 71 45/206-83