|
|
|
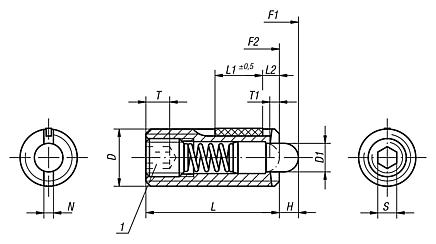
03056Spring plungers with hex socket and thrust pin, stainless steel,... |
go back |
|
|
DescriptionMaterial:Sleeve 1.4305.
Thrust pin 1.4034.
Spring 1.4310.
Thread lock nylon. Version:Bright. Thrust pin hardened.Drawing reference:L2 = ca. two full threads
1) grub screw glued-in Special features: DownloadHere is all the information as a PDF datasheet:
Are you looking for CAD data? These can be found directly in the product table.
|
Drawings (total overview) |
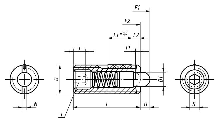
Spring plungers with hexagon socket and thrust pin, stainless steel, standard spring force, with thread lock |
More information |
Order No. | D | D1 | H | L | L1 | T1 | N | S | Spring force initial pressure F1 approx. N | Spring force final pressure F2 approx. N | Tightening torque approx. Nm | Loosening torque approx. Nm | Order No. Assembly key | CAD | Acc. | Price | Order |
|---|
| 03056-05 | M5 | 2,4 | 2,3 | 18 | 7 | 0,8 | 0,8 | 1,5 | 5 | 17 | 0,12 | 0,08 | 03040-905 |  |  | on request | | | 03056-06 | M6 | 2,7 | 2,5 | 20 | 7 | 1 | 1 | 2 | 6 | 17 | 0,45 | 0,22 | 03040-906 |  |  | on request | | | 03056-08 | M8 | 3,5 | 3 | 22 | 8 | 1,4 | 1,2 | 2,5 | 7 | 29 | 1,05 | 0,37 | 03040-908 |  |  | on request | | | 03056-10 | M10 | 4 | 3 | 22 | 9 | 1,4 | 1,6 | 3 | 8 | 31 | 1,3 | 0,6 | 03040-910 |  |  | on request | | | 03056-12 | M12 | 6 | 4 | 28 | 10 | 2 | 2 | 4 | 10 | 47 | 2 | 1,3 | 03040-912 |  |  | on request | | | 03056-16 | M16 | 7,5 | 5 | 32 | 14 | 2,5 | 2,5 | 5 | 38 | 85 | 3,9 | 3 | 03040-916 |  |  | on request | |
|
Spring plungers with hexagon socket and thrust pin, stainless steel, strong spring force, with thread lock |
More information |
Order No. | D | D1 | H | L | L1 | T1 | N | S | Spring force initial pressure F1 approx. N | Spring force final pressure F2 approx. N | Tightening torque approx. Nm | Loosening torque approx. Nm | Order No. Assembly key | CAD | Acc. | Price | Order |
|---|
| 03056-205 | M5 | 2,4 | 2,3 | 18 | 7 | 0,8 | 0,8 | 1,5 | 9 | 26 | 0,12 | 0,08 | 03040-905 |  |  | on request | | | 03056-206 | M6 | 2,7 | 2,5 | 20 | 7 | 1 | 1 | 2 | 11 | 35 | 0,45 | 0,22 | 03040-906 |  |  | on request | | | 03056-208 | M8 | 3,5 | 3 | 22 | 8 | 1,4 | 1,2 | 2,5 | 15 | 48 | 1,05 | 0,37 | 03040-908 |  |  | on request | | | 03056-210 | M10 | 4 | 3 | 22 | 9 | 1,4 | 1,6 | 3 | 15 | 58 | 1,3 | 0,6 | 03040-910 |  |  | on request | | | 03056-212 | M12 | 6 | 4 | 28 | 10 | 2 | 2 | 4 | 19 | 74 | 2 | 1,3 | 03040-912 |  |  | on request | |
|
Other items in this category |
|
|