|
|
|
05582Compression lever latches zinc |
go back |
|
Item description/product images |
|
|
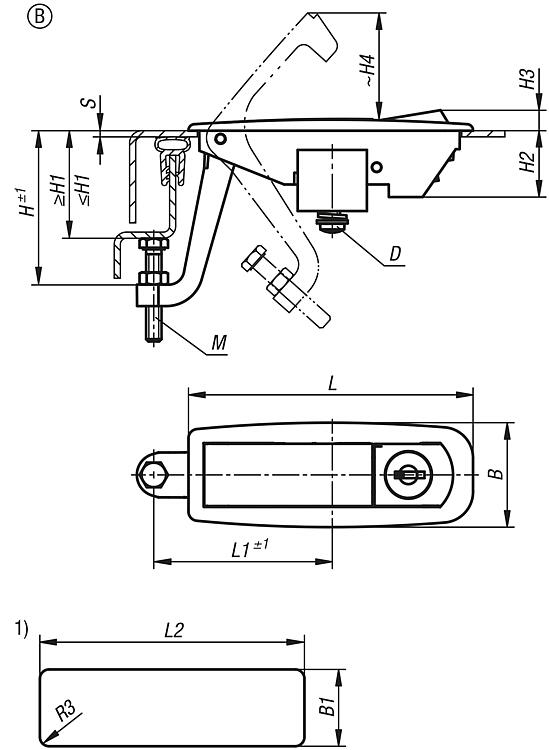
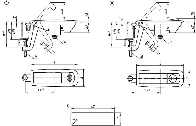
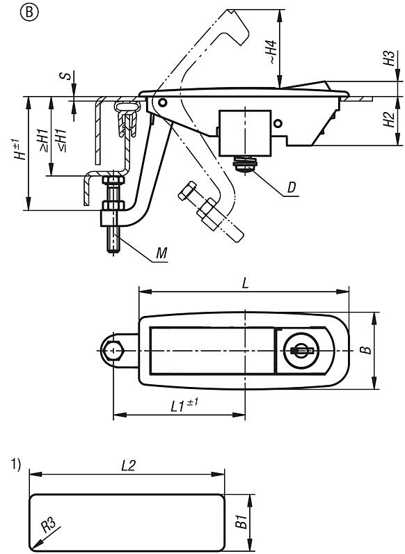
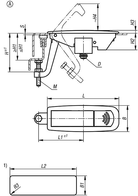
DescriptionProduct description:Compression latches are mainly used for doors, hatches, covers and housings where a higher contact pressure of the seal is required to seal components under pressure. Their leverage creates a compressive force that presses the seals together. As a result, they are much more resistant to vibrations, dust and/or water.Material:Housing die-cast zinc. Bracket, screw and nut steel.Version:Housing black, powder-coated. Bracket, screw and nut electro zinc-plated.Note:Adjustment travel H1 optionally adjustable from 2 mm to 19 mm or 24 mm to 42 mm. Door leaf thickness max. 5 mm.
Form A: non-lockable Form B: lockable
The locks have a single key system, i.e. each lock can be opened with the same key.Type of operation:Actuating the button moves the latch to the open position and the door can be opened. Closing the lever presses the door against the frame.Application:- Machine construction - Switchboxes - Vehicle construction - Laboratory equipment - Packaging industryAssembly:1. Cut out a mounting hole as shown in the drawing. 2. Insert the latch into the mounting hole from the front. 3. Tighten the screw from behind, this pulls the mounting bracket onto the door panel and fixates the latch in the installation opening. Supplied withScrews, nuts and mounting brackets are supplied. The lockable compression lever latches are each supplied with 2 keys.Drawing reference:Special features: DownloadHere is all the information as a PDF datasheet:
Are you looking for CAD data? These can be found directly in the product table.
|
Drawings (total overview) |
| Order No. | Form | Form definition | B | B1 | D | H | H1 min. | H1 max. | H2 | H3 | H4 | L | L1 | L2 | M | S = Door thickness in mm | CAD | Acc. | Price | Order |
|---|
| 05582-0127 | A | not lockable | 34 | 25 | M05X12 | 27,5 | 2 | 19 | 21,6 | 3,8 | 37 | 92,5 | 57,5 | 86 | M5x30 | 1-5 |  | | on request | | | 05582-0150 | A | not lockable | 34 | 25 | M05X12 | 50 | 24 | 42 | 21,6 | 3,8 | 37 | 92,5 | 57,5 | 86 | M5x30 | 1-5 |  | | on request | |
|
| Order No. | Form | Form definition | B | B1 | D | H | H1 min. | H1 max. | H2 | H3 | H4 | L | L1 | L2 | M | S = Door thickness in mm | CAD | Acc. | Price | Order |
|---|
| 05582-1127 | B | lockable | 34 | 25 | M05X12 | 27,5 | 2 | 19 | 21,6 | 6,7 | 37 | 92,5 | 57,5 | 86 | M5x30 | 1-5 |  | | on request | | | 05582-1150 | B | lockable | 34 | 25 | M05X12 | 50 | 24 | 42 | 21,6 | 6,7 | 37 | 92,5 | 57,5 | 86 | M5x30 | 1-5 |  | | on request | |
|
Other items in this category |
|
|