norelem uses cookies to optimally design and continually improve the website. By continuing to use this website, you agree to the use of cookies. You can find more information about cookies in our Data protection declaration.okay
Quarter-turn clamp locks stainless steel rotary knob plastic or stainless steel
05591

Quarter-turn clamp locks stainless steel rotary knob plastic or...

go back

Item description/product images

Show/filter all items
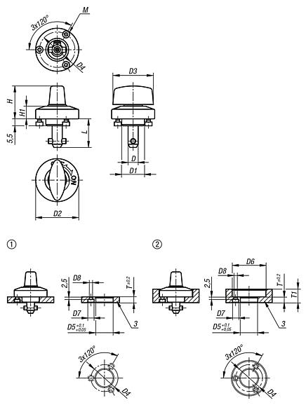
DescriptionMaterial:Housing stainless steel.
Pin steel or stainless steel.
Pin stainless steel.
Twist knob stainless steel or thermoplastic PA (polyamide)
Version:Housing bright.
Pin nickel plated or bright.
Pin bright.
Twist knob fibreglass reinforced PA, black.
Twist knob stainless steel, bright.
Note:M2 or M3 fastening screws are supplied.
Mounting option 1 for plate thickness 6 or 12 mm.
Mounting option 2 for plate thickness 12 to 20 mm.

A gap of more than 0.1 mm appears between the plates if the retaining force is exceeded.
Accessory:Clamping plates 05592Drawing reference:
1) plate
DownloadHere is all the information as a PDF datasheet:

Are you looking for CAD data? These can be found directly in the product table.
 Datasheet 05591 Quarter-turn clamp locks stainless steel rotary knob plastic or stainless steel 223 kB
 Technical Information quarter-turn clamp lock 05591 and clamping plate 05592 178 kB

Drawings (total overview)

Quarter-turn clamp locks stainless steel rotary knob plastic or stainless steel

Quarter-turn clamp locks stainless steel, rotary knob plastic

More information

Drawings

Quarter-turn clamp locks stainless steel, rotary knob plastic

Item selection/filter

Order No.Component
material
Version 2DLD1D2D3D4HH1MD5D6D7D8TT1Holding
force
N
Clamping
force
N
Shearing force
kN
Pullout force F
kN
Temperature
resistance
CADAcc.PriceOrder
05591-516plasticpins steel515,514252021196,5M2x314264,42,466-1060601,81,2≤130 °C on request
05591-817plasticpins steel817183432282610M3x418356,53,466-1490903,22,6≤130 °C on request
05591-823plasticpins steel823183432282610M3x418356,53,41212-2090903,22,6≤130 °C on request

Quarter-turn clamp locks stainless steel, rotary knob stainless steel

More information

Drawings

Quarter-turn clamp locks stainless steel, rotary knob stainless steel

Item selection/filter

Order No.Component
material
Version 2DLD1D2D3D4HH1MD5D6D7D8TT1Holding
force
N
Clamping
force
N
Shearing force
kN
Pullout force F
kN
Temperature
resistance
StatusCADAcc.PriceOrder
05591-5161stainless steelpins steel515,514252021196,5M2x314264,42,466-1060601,81,2≤200 °Cexpiring on request
05591-8231stainless steelpins steel8231834322825,510M3x418356,53,41212-2090903,22,6≤200 °Cexpiring on request
05591-15161stainless steelpin stainless steel515,514252021196,5M2x314264,42,466-1060601,81,2≤200 °C on request
05591-18171stainless steelpin stainless steel8171834322825,510M3x418356,53,466-1490903,22,6≤200 °C on request
05591-18231stainless steelpin stainless steel8231834322825,510M3x418356,53,41212-2090903,22,6≤200 °C on request
My norelemE-mailPassword
Shopping cart
Number of items: 0
Amount: 0.00  
shopping cart
欢迎扫描二维码
咨询诺瑞朗官方客服微信
China
苏ICP备20011289号-1  苏公网安备32058502011222 Sitemap Print Recommended Top
Copyright © 2025 norelem. All rights reserved. Tel. +49 71 45/206-44 to 45 · Fax +49 71 45/206-83