norelem uses cookies to optimally design and continually improve the website. By continuing to use this website, you agree to the use of cookies. You can find more information about cookies in our Data protection declaration.okay
Star gripswith projecting steel bush
06210

Star grips with projecting steel bush

go back

Item description/product images

Show/filter all items
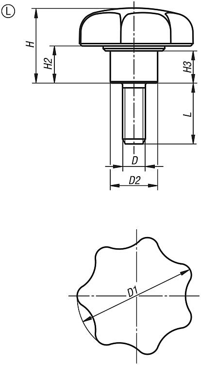
DescriptionMaterial:

Black thermoplastic.
Steel grade 5.8 or stainless steel 1.4305.

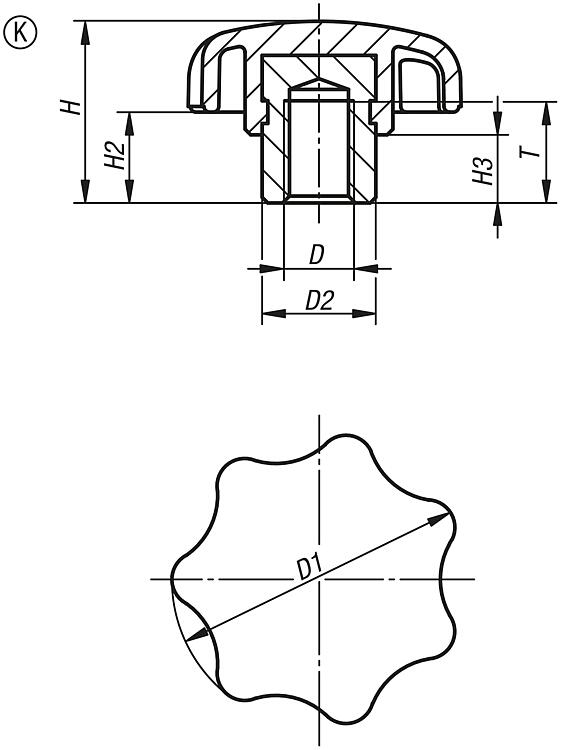
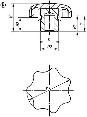
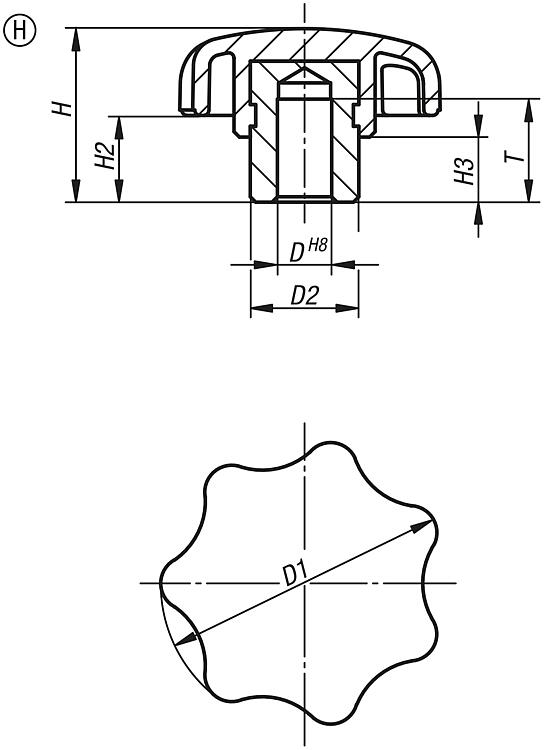
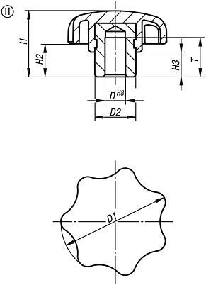
Version:Metal parts trivalent blue passivated steel or bright stainless steel.Note:Star grips with projecting steel bush and blind hole or internal thread are especially suited for cross pinning.Drawing reference:
Form H: bush with blind hole
Form K: tapped bush
Form L: external thread
DownloadHere is all the information as a PDF datasheet:

Are you looking for CAD data? These can be found directly in the product table.
 Datasheet 06210 Star gripswith projecting steel bush 163 kB

Drawings (total overview)

Star gripswith projecting steel bush

Star grips, Form H, with projecting steel bush with blind hole

More information

Drawings

Star grips, Form H, with projecting steel bush with blind hole

Item selection/filter

Order No.

FormComponent
material
DD1D2HH2H3TCADAcc.PriceOrder
06210-105Hsteel5251017979,5 on request
06210-106Hsteel63213,521119,512,5 on request
06210-1061Hsteel64013,525131012,5 on request
06210-108Hsteel84013,525131012,5 on request
06210-1081Hsteel8501932171219,5 on request
06210-110Hsteel10501932171219,5 on request
06210-1101Hsteel10631937181219,5 on request
06210-112Hsteel12631937181219,5 on request
06210-116Hsteel16632340211524,5 on request

Star grips, Form K, with projecting steel tapped bush

More information

Drawings

Star grips, Form K, with projecting steel tapped bush

Item selection/filter

Order No.

FormComponent
material
DD1D2HH2H3TCADAcc.PriceOrder
06210-205KsteelM5251017979 on request
06210-206KsteelM63213,521119,512 on request
06210-2061KsteelM64013,525131012 on request
06210-208KsteelM84013,525131012 on request
06210-2081KsteelM8501932171217 on request
06210-210KsteelM10501932171217 on request
06210-2101KsteelM10631937181217 on request
06210-212KsteelM12631937181217 on request
06210-216KsteelM16632340211523 on request
06210-305Kstainless steelM5251017979 on request
06210-306Kstainless steelM63213,521119,512 on request
06210-3061Kstainless steelM64013,525131012 on request
06210-308Kstainless steelM84013,525131012 on request
06210-3081Kstainless steelM8501932171217 on request
06210-310Kstainless steelM10501932171217 on request
06210-3101Kstainless steelM10631937181217 on request
06210-312Kstainless steelM12631937181217 on request
06210-316Kstainless steelM16632340211523 on request

Star grips, Form L, projecting steel bush with external thread

More information

Drawings

Star grips, Form L, projecting steel bush with external thread

Item selection/filter

Order No.FormComponent
material
DD1D2HH2H3LCADAcc.PriceOrder
06210-405X10LsteelM52510179710 on request
06210-405X15LsteelM52510179715 on request
06210-405X20LsteelM52510179720 on request
06210-406X10LsteelM63213,521119,510 on request
06210-406X15LsteelM63213,521119,515 on request
06210-406X20LsteelM63213,521119,520 on request
06210-406X25LsteelM63213,521119,525 on request
06210-406X30LsteelM63213,521119,530 on request
06210-408X15LsteelM84013,525131015 on request
06210-408X20LsteelM84013,525131020 on request
06210-408X25LsteelM84013,525131025 on request
06210-408X30LsteelM84013,525131030 on request
06210-408X40LsteelM84013,525131040 on request
06210-408X50LsteelM84013,525131050 on request
06210-410X20LsteelM10501932171220 on request
06210-410X25LsteelM10501932171225 on request
06210-410X30LsteelM10501932171230 on request
06210-410X40LsteelM10501932171240 on request
06210-410X50LsteelM10501932171250 on request
06210-410X60LsteelM10501932171260 on request
06210-412X20LsteelM12631937181220 on request
06210-412X25LsteelM12631937181225 on request
06210-412X30LsteelM12631937181230 on request
06210-412X40LsteelM12631937181240 on request
06210-412X50LsteelM12631937181250 on request
06210-412X60LsteelM12631937181260 on request
06210-505X10Lstainless steelM52510179710 on request
06210-505X15Lstainless steelM52510179715 on request
06210-505X20Lstainless steelM52510179720 on request
06210-506X10Lstainless steelM63213,521119,510 on request
06210-506X15Lstainless steelM63213,521119,515 on request
06210-506X20Lstainless steelM63213,521119,520 on request
06210-506X25Lstainless steelM63213,521119,525 on request
06210-506X30Lstainless steelM63213,521119,530 on request
06210-508X15Lstainless steelM84013,525131015 on request
06210-508X20Lstainless steelM84013,525131020 on request
06210-508X25Lstainless steelM84013,525131025 on request
06210-508X30Lstainless steelM84013,525131030 on request
06210-508X40Lstainless steelM84013,525131040 on request
06210-508X50Lstainless steelM84013,525131050 on request
06210-510X20Lstainless steelM10501932171220 on request
06210-510X25Lstainless steelM10501932171225 on request
06210-510X30Lstainless steelM10501932171230 on request
06210-510X40Lstainless steelM10501932171240 on request
06210-510X50Lstainless steelM10501932171250 on request
06210-510X60Lstainless steelM10501932171260 on request
06210-512X20Lstainless steelM12631937181220 on request
06210-512X25Lstainless steelM12631937181225 on request
06210-512X30Lstainless steelM12631937181230 on request
06210-512X40Lstainless steelM12631937181240 on request
06210-512X50Lstainless steelM12631937181250 on request
06210-512X60Lstainless steelM12631937181260 on request
My norelemE-mailPassword
Shopping cart
Number of items: 0
Amount: 0.00  
shopping cart
欢迎扫描二维码
咨询诺瑞朗官方客服微信
China
苏ICP备20011289号-1  苏公网安备32058502011222 Sitemap Print Recommended Top
Copyright © 2025 norelem. All rights reserved. Tel. +49 71 45/206-44 to 45 · Fax +49 71 45/206-83