|
|
|
22281-52Chain tensioner TS with arched or elliptical profile |
go back |
|
|
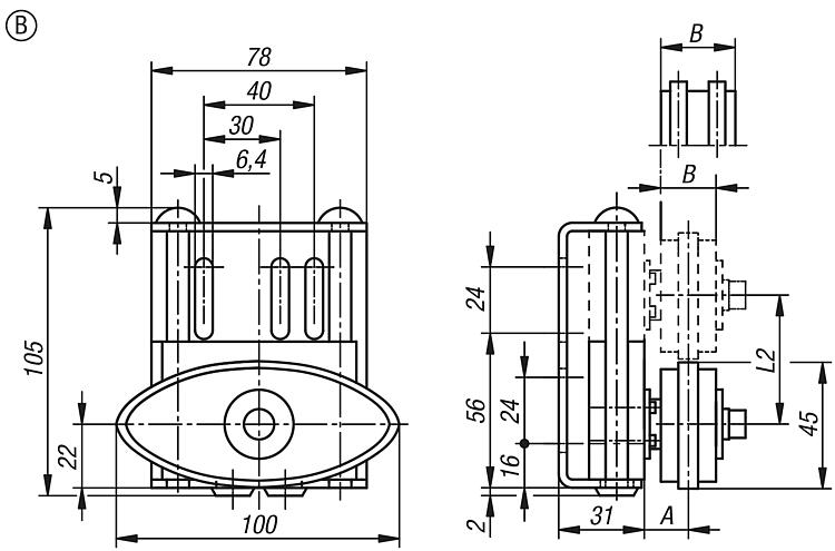
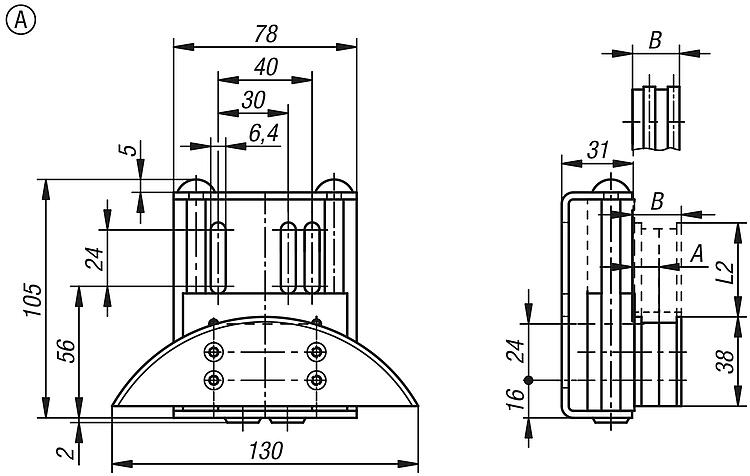
DescriptionMaterial:Housing steel. Chain tensioner, ultra-high molecular polyethylene PE-UHMW.Version:Housing electro zinc-plated and painted black.Note:Ready-to-install chain tensioner for low-noise, low-wear running of ISO 606 roller chains. The TS chain tensioner is used when there is insufficient space for a conventional tensioning system. Space required under the chain is just 40 mm.
Two different versions are available: Form A: with arched profile. Form B: with elliptical profile (if one side wears down, the slide can simply be turned over and the other side used).
The TS chain tensioner has two pre-tensioned springs. They can be loosened individually and enable three different tension settings. The arrangement of the holes and slots on the housing generally facilitates installation and offers additional adjustment options for re-tensioning.Temperature range:-20 °C to +60 °C (briefly up to +80 °C).Assembly:The ideal mounting location is directly behind the drive sprocket, so that the length of the slack side being tensioned is kept as short as possible. Several chain links should be in contact to minimise wear. The TS chain tensioner is supplied in a locked position. Only after installation are one or both springs released, depending on the tension required. The locking screw is released by rotating it approximately four turns. Only the left spring released: light tension. Only the right spring released: medium tension. Both springs released: high tensionAccessory:Angle brackets 22281-90.Special features: DownloadHere is all the information as a PDF datasheet:
Are you looking for CAD data? These can be found directly in the product table.
|
Drawings (total overview) |
| Order No. | Form | Form definition | A | B | Size | ISO No. | Clamping force both springs released (N)
| Clamping force left spring released (N)
| Clamping force right spring released (N)
| Clamping travel L2 | Division inches | Matching angle bracket
| CAD | Acc. | Price | Order |
|---|
| 22281-52-1061 | A | arched profile | 10 | 20 | TS | 06 B-1 | 190-96 | 58-32 | 132-60 | 40 | 3/8X7/32 | 22281-90-29900 |  | | on request | | | 22281-52-1081 | A | arched profile | 16,5 | 20 | TS | 08 B-1 | 190-96 | 58-32 | 132-60 | 40 | 1/2X5/16 | 22281-90-29900 |  | | on request | | | 22281-52-1101 | A | arched profile | 15,6 | 20 | TS | 10 B-1 | 190-96 | 58-32 | 132-60 | 40 | 5/8X3/8 | 22281-90-29900 |  | | on request | | | 22281-52-1121 | A | arched profile | 14,8 | 20 | TS | 12 B-1 | 190-96 | 58-32 | 132-60 | 40 | 3/4X7/16 | 22281-90-29900 |  | | on request | | | 22281-52-1062 | A | arched profile | 7,5 | 20 | TS | 06 B-2 | 190-96 | 58-32 | 132-60 | 40 | 3/8X7/32 | 22281-90-29900 |  | | on request | | | 22281-52-1082 | A | arched profile | 15,2 | 32 | TS | 08 B-2 | 190-96 | 58-32 | 132-60 | 40 | 1/2X5/16 | 22281-90-29900 |  | | on request | | | 22281-52-1102 | A | arched profile | 11,3 | 32 | TS | 10 B-2 | 190-96 | 58-32 | 132-60 | 40 | 5/8X3/8 | 22281-90-29900 |  | | on request | | | 22281-52-1053 | A | arched profile | 7,4 | 20 | TS | 05 B-3 | 190-96 | 58-32 | 132-60 | 40 | 8,0mmX3,0mm | 22281-90-29900 |  | | on request | | | 22281-52-1063 | A | arched profile | 9,4 | 32 | TS | 06 B-3 | 190-96 | 58-32 | 132-60 | 40 | 3/8X7/32 | 22281-90-29900 |  | | on request | |
|
|
Other items in this category |
|
|