norelem uses cookies to optimally design and continually improve the website. By continuing to use this website, you agree to the use of cookies. You can find more information about cookies in our Data protection declaration.okay
Eccentric bushes and assembly tools for lateral spring plungers - inch
03330 inch

Eccentric bushes and assembly tools for lateral spring plungers...

go back

Item description/product images

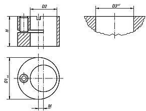
DescriptionMaterial:Steel.Version:Black oxidised.Note:For the inch series, dimension D, D1, D2 et D3 are in inches, all other dimensions are in mm.Drawing reference:
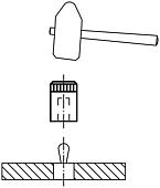
1) assembly tool
Special features:
RoHS
DownloadHere is all the information as a PDF datasheet:

Are you looking for CAD data? These can be found directly in the product table.
 Datasheet 03330 inch Eccentric bushes and assembly tools for lateral spring plungers, inch 238 kB

Drawings (total overview)

Eccentric bushes and assembly tools for lateral spring plungers - inch

Eccentric bushes for lateral spring plungers - inch

More information

Drawings

Eccentric bushes for lateral spring plungers - inch

Item selection/filter

Order No.

ItemD1D2D3D4HMSuitable for
lateral spring plungers
with D =
CADAcc.PriceOrder
03330-120CMHolder1/21/41/26,39,921/4 on request
03330-160CUHolder11/167/1611/1610,311,927/167/16 on request
03330-180CPHolder3/41/23/412,313,921/21/2 on request
03330-250CQHolder15/8116,317,935/85/8 on request

Assembly tools for lateral spring plungers - inch

More information

Drawings

Assembly tools for lateral spring plungers - inch

Item selection/filter

Order No.

ItemSuitable for
lateral spring plungers
with D =
CADAcc.PriceOrder
03330-03CMAssembly tool1/4 on request
03330-05CUAssembly tool7/167/16 on request
03330-08CPAssembly tool1/21/2 on request
03330-10CQAssembly tool5/85/8 on request
My norelemE-mailPassword
Shopping cart
Number of items: 0
Amount: 0.00  
shopping cart
欢迎扫描二维码
咨询诺瑞朗官方客服微信
China
苏ICP备20011289号-1  苏公网安备32058502011222 Sitemap Print Recommended Top
Copyright © 2025 norelem. All rights reserved. Tel. +49 71 45/206-44 to 45 · Fax +49 71 45/206-83