norelem 使用 Cookies 以优化设计和持续改进网页。您通过继续使用网页,同意使用 Cookies。在我们的数据保护声明中可以找到有关 Cookies 主题的详细信息。同意
夹紧块,曲柄式,钢制
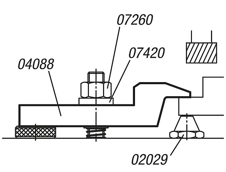
04088

夹紧块,曲柄式,钢制

返回

商品描述/产品说明

产品说明材料:调制钢。规格:热处理及黑色氧化处理。提示:通过扁平的夹紧凸缘还可以夹紧和加工位置较低的部分。使用球面垫圈 07420 时要使用 G 型。特点:
RoHS
下载此处为收集信息的 PDF:

查找 CAD 数据?请直接在产品列表中查找。
 Datasheet 04088 夹紧块,曲柄式,钢制 202 kB

图纸

夹紧块,曲柄式,钢制

商品选择/筛选

订货号

ABD

EE1HLL1L2L3L4夹紧力
kN
CAD配件价格订购
04088-0600528326,27,52,518,56720612,544,82 根据要求
04088-0601028506,210,52,521,58520612,544,82 根据要求
04088-0800528328,27,52,518,56720612,548,77 根据要求
04088-0801028508,210,52,521,58520612,548,77 根据要求
04088-10005455010,212430105301020613,9 根据要求
04088-10010458010,217435135301020613,9 根据要求
04088-12005455012,212430105301020620,2 根据要求
04088-12010458012,217435135301020620,2 根据要求
04088-16005728016,2197481684816329,537,8 根据要求
04088-160107212816,2277562164816329,537,8 根据要求
04088-20005728020,2197481684816329,558,8 根据要求
04088-200107212820,2277562164816329,558,8 根据要求
我的 norelemE-Mail密码
购物车
商品数量: 0
总数: 0.00  
点击购物车
欢迎扫描二维码
咨询诺瑞朗官方客服微信
中国
苏ICP备20011289号-1  苏公网安备32058502011222 网页地图 打印 推荐 Top
Copyright © 2025 norelem. 保留所有权利。 电话 +49 71 45/206-44 至 45 · 传真 +49 71 45/206-83