norelem 使用 Cookies 以优化设计和持续改进网页。您通过继续使用网页,同意使用 Cookies。在我们的数据保护声明中可以找到有关 Cookies 主题的详细信息。同意

商品描述/产品说明

产品说明材料:

销钉和吊耳不锈钢 1.4542。
按钮不锈钢 1.4305。
钢珠不锈钢 1.4125。
压力弹簧不锈钢 1.4310。

规格:销钉及钢珠经硬化和钝化处理。提示:使用便捷的吊装元件,配备活动吊耳和紧固片避免意外松脱。按下按钮可以解除钢珠锁定。松开按钮则可以锁紧钢珠。

耐腐蚀和耐气候性。
高强度樱花销钉拥有绝佳的耐磨损型,可以应对极端负载。
温度应用范围最高可达 250 °C。

CE 认证。

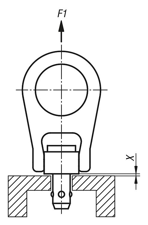
在距离X.min下,F1经过5倍安全系数测试。
附件:固定衬套 07784。特点:
不锈钢RoHS
下载此处为收集信息的 PDF:

查找 CAD 数据?请直接在产品列表中查找。
 Datasheet 07782 顶上销 不锈钢 自锁型 271 kB

图纸

顶上销 不锈钢 自锁型

商品选择/筛选

订货号D1D2L1L2X
max.
F1
kN
安装孔CAD配件价格订购
我的 norelemE-Mail密码
购物车
商品数量: 0
总数: 0.00  
点击购物车
欢迎扫描二维码
咨询诺瑞朗官方客服微信
中国
苏ICP备20011289号-1  苏公网安备32058502011222 网页地图 打印 推荐 Top
Copyright © 2025 norelem. 保留所有权利。 电话 +49 71 45/206-44 至 45 · 传真 +49 71 45/206-83