norelem 使用 Cookies 以优化设计和持续改进网页。您通过继续使用网页,同意使用 Cookies。在我们的数据保护声明中可以找到有关 Cookies 主题的详细信息。同意

商品描述/产品说明

产品说明材料:钢制。规格:电镀锌。提示:DIN 5299 C 型弹簧钩是机械制造中的重要部件,符合最高标准。其按照 DIN 标准制造,是机械和设备制造领域各种应用的可靠连接解决方案。钢结构确保了高强度和耐用性,而 C 型的特殊形状则便于操作。这款弹簧用途广泛,负载能力可满足苛刻环境的要求。特点:
RoHS
下载此处为收集信息的 PDF:

查找 CAD 数据?请直接在产品列表中查找。
 Datasheet 07790-01 弹簧钩,DIN 5299,钢制 C 型 192 kB

图纸

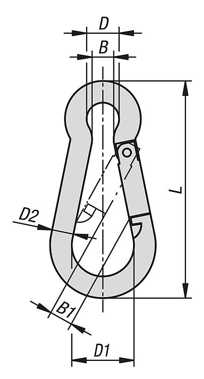
弹簧钩,DIN 5299,钢制 C 型

商品选择/筛选

订货号类型尺寸B

B1D

D1D2L承载负荷
kg
CAD配件价格订购
07790-01-040C40x44761144050 根据要求
07790-01-050C50x547815550120 根据要求
07790-01-060C60x658917660120 根据要求
07790-01-070C70x7881019770180 根据要求
07790-01-080C80x88101223880230 根据要求
07790-01-100C100x101011152910100350 根据要求
我的 norelemE-Mail密码
购物车
商品数量: 0
总数: 0.00  
点击购物车
欢迎扫描二维码
咨询诺瑞朗官方客服微信
中国
苏ICP备20011289号-1  苏公网安备32058502011222 网页地图 打印 推荐 Top
Copyright © 2025 norelem. 保留所有权利。 电话 +49 71 45/206-44 至 45 · 传真 +49 71 45/206-83