norelem 使用 Cookies 以优化设计和持续改进网页。您通过继续使用网页,同意使用 Cookies。在我们的数据保护声明中可以找到有关 Cookies 主题的详细信息。同意

商品描述/产品说明

查看/筛选所有商品
产品说明材料:钢制。规格:镀锌。提示:型号 11E 和型号 4E 钢制螺栓挂钩专为机械制造而设计,可为各种紧固要求提供可靠的解决方案。其由优质钢材制成,结构坚固,承重能力强。精准制造的螺纹便于安装,并提供安全紧固效果。由于用途广泛,它们是紧固机器部件、工具和其他设备的理想选择。我们的螺栓挂钩具有长期性能,是机械制造领域高要求应用的可靠选择。特点:
RoHS
下载此处为收集信息的 PDF:

查找 CAD 数据?请直接在产品列表中查找。
 Datasheet 07182-05 螺栓挂钩,型号 11E 和型号 4E,钢制 172 kB

图片(总概述)

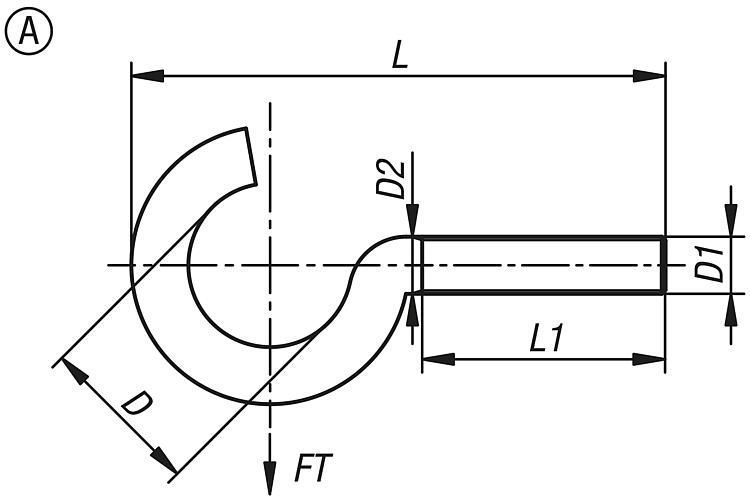
螺栓挂钩,型号 11E 和型号 4E,钢制

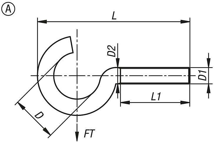
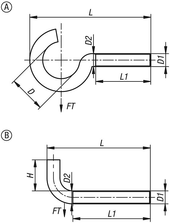
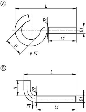
螺栓挂钩,型号 11E 和型号 4E,钢制,A 型

更多信息

图纸

螺栓挂钩,型号 11E 和型号 4E,钢制,A 型

商品选择/筛选

订货号类型形状类型类型 1D

D1D2HLL1最大承载负荷
kg
CAD配件价格订购
07182-05-00440A曲柄式型号 11E12M43,5-40209 根据要求
07182-05-00450A曲柄式型号 11E16M43,5-50259 根据要求
07182-05-00550A曲柄式型号 11E16M54,4-502312,5 根据要求
07182-05-00560A曲柄式型号 11E16M54,4-603012,5 根据要求
07182-05-00650A曲柄式型号 11E18M65,2-502025 根据要求
07182-05-00660A曲柄式型号 11E18M65,2-603025 根据要求
07182-05-00870A曲柄式型号 11E22M87-703240 根据要求
07182-05-00880A曲柄式型号 11E22M87-804240 根据要求

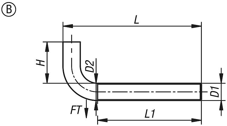
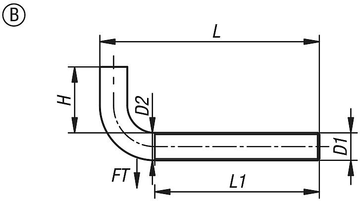
螺栓挂钩,型号 11E 和型号 4E,钢制,B 型

更多信息

图纸

螺栓挂钩,型号 11E 和型号 4E,钢制,B 型

商品选择/筛选

订货号类型形状类型类型 1D1D2HLL1最大承载负荷
kg
CAD配件价格订购
07182-05-10440B直形型号 4EM43,510402512,5 根据要求
07182-05-10550B直形型号 4EM54,412503520 根据要求
07182-05-10660B直形型号 4EM65,214604535 根据要求
07182-05-10860B直形型号 4EM8718604550 根据要求
我的 norelemE-Mail密码
购物车
商品数量: 0
总数: 0.00  
点击购物车
欢迎扫描二维码
咨询诺瑞朗官方客服微信
中国
苏ICP备20011289号-1  苏公网安备32058502011222 网页地图 打印 推荐 Top
Copyright © 2025 norelem. 保留所有权利。 电话 +49 71 45/206-44 至 45 · 传真 +49 71 45/206-83