norelem 使用 Cookies 以优化设计和持续改进网页。您通过继续使用网页,同意使用 Cookies。在我们的数据保护声明中可以找到有关 Cookies 主题的详细信息。同意

商品描述/产品说明

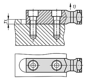
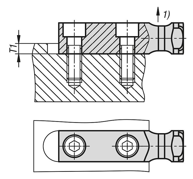
产品说明材料:钢制 1.1191 (CK45)。抗张强度 ≈700 N/mm²。规格:黑色氧化处理。提示:耳轴符合 VDI 3366 标准。

通常情况下,应始终放置四个耳轴。在使用四个耳轴时,应注意两个耳轴支撑工具的全部重量。因此,当转动工具时,负载可分布在两个耳轴上。

随附内六角螺栓。
图纸提示:
1) kg max.
特点:
RoHS
下载此处为收集信息的 PDF:

查找 CAD 数据?请直接在产品列表中查找。
 Datasheet 07679-01 耳轴 VDI 3366 327 kB

图纸

耳轴 VDI 3366

商品选择/筛选

订货号A

A1BB1D1D2D3G
用于
内六角螺栓
LL2L3TT1承载负荷
kg
CAD配件价格订购
07679-01-16103420-169,514,5M8x258062096320 根据要求
07679-01-20103725-2011,517,5M10x3090825118630 根据要求
07679-01-25123835-251420M12x4010083013101250 根据要求
07679-01-32164640-321826M16x45120103217,5102000 根据要求
07679-01-40185450-402333M20x60140104021,5123200 根据要求
07679-01-50225960-502739M24x70160124525145000 根据要求
07679-01-6320788040632333M20x100200125021,5168000 根据要求
我的 norelemE-Mail密码
购物车
商品数量: 0
总数: 0.00  
点击购物车
欢迎扫描二维码
咨询诺瑞朗官方客服微信
中国
苏ICP备20011289号-1  苏公网安备32058502011222 网页地图 打印 推荐 Top
Copyright © 2025 norelem. 保留所有权利。 电话 +49 71 45/206-44 至 45 · 传真 +49 71 45/206-83