norelem 使用 Cookies 以优化设计和持续改进网页。您通过继续使用网页,同意使用 Cookies。在我们的数据保护声明中可以找到有关 Cookies 主题的详细信息。同意
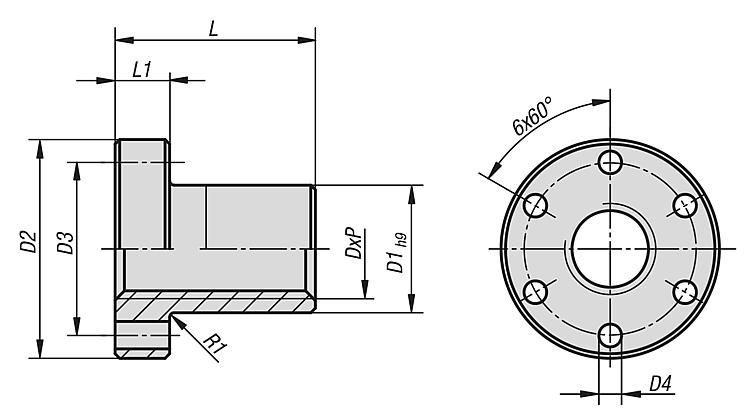
圆形梯形螺纹螺母,带法兰 右旋双螺纹
24006

圆形梯形螺纹螺母,带法兰 右旋双螺纹

返回

商品描述/产品说明

产品说明材料:炮铜 Rg7。规格:亮色。提示:ISO 梯形螺纹符合 DIN 103 标准。

针对较低和中等速度下的推动力。没有润滑剂时,钢丝杠上炮铜制梯形螺纹螺母具备良好的干运行特性。

公差等级 7H。
下载此处为收集信息的 PDF:

查找 CAD 数据?请直接在产品列表中查找。
 Datasheet 24006 圆形梯形螺纹螺母,带法兰 右旋双螺纹 194 kB

图纸

圆形梯形螺纹螺母,带法兰 右旋双螺纹

商品选择/筛选

订货号DxPD1

D2D3D4LL1CAD配件价格订购
24006-060213Tr 6x2 P11325193,2155 根据要求
24006-120613Tr 12x6 P328483863512 根据要求
24006-160813Tr 16x8 P428483863512 根据要求
24006-200813Tr 20x8 P43255456,54412 根据要求
24006-241013Tr 24x10 P53255456,54412 根据要求
24006-301213Tr 30x12 P63862506,54614 根据要求
24006-401413Tr 40x14 P763957896616 根据要求
我的 norelemE-Mail密码
购物车
商品数量: 0
总数: 0.00  
点击购物车
欢迎扫描二维码
咨询诺瑞朗官方客服微信
中国
苏ICP备20011289号-1  苏公网安备32058502011222 网页地图 打印 推荐 Top
Copyright © 2025 norelem. 保留所有权利。 电话 +49 71 45/206-44 至 45 · 传真 +49 71 45/206-83