|
|
|
22281-52弧形或椭圆形轮廓 TS 链条张紧器 |
返回 |
|
|
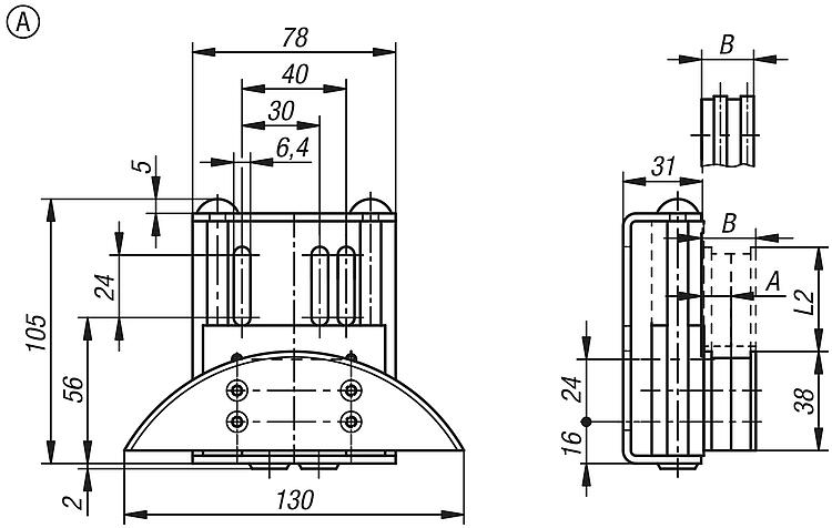
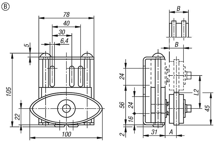
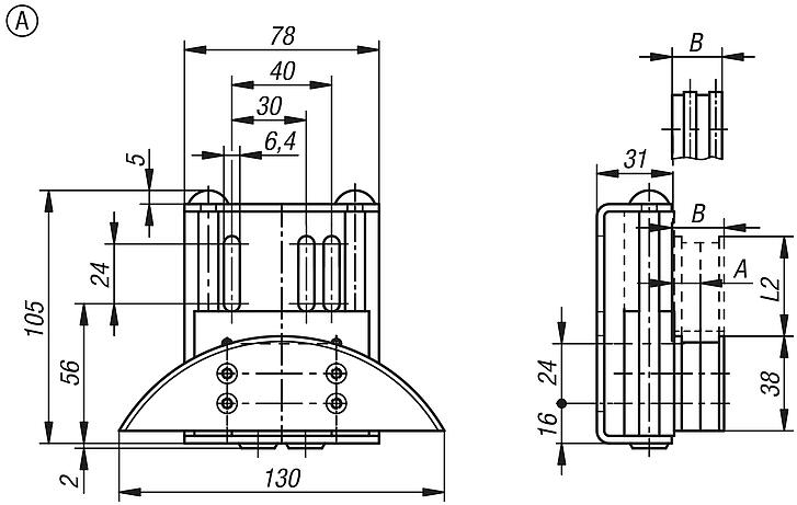
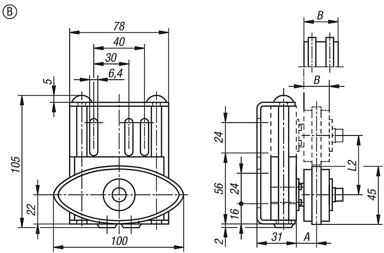
产品说明材料:外壳为钢制。 链条滑块采用超高分子量聚乙烯 PE-UHMW。规格:外壳镀锌并涂成黑色。提示:根据 ISO 606,准备安装链条张紧器,以实现滚子链的低噪音和低磨损运行。如果没有足够的空间容纳传统的张紧系统,则使用 TS 链条张紧器。链条下仅需 40 mm 的间隙。
有两种不同型号可供选择: A 型:带弧形轮廓。 B 型:椭圆形轮廓(如果一侧磨损,可简单旋转轮廓,使用另一侧)。
TS 链条张紧器配有两个预紧压力弹簧。它们可以单独触发,并允许三种不同的夹紧压力设置。基本上,外壳上的孔和槽孔的布置便于组装,并为重新夹紧提供了额外的调整选项。温度范围:-20 °C 到 +60 °C(短时温度达 +80 °C)。装配:最好将其直接安装在驱动轮后方,以尽可能缩短需要张紧的松弛边长度。为减少磨损,应使多个链节接触。 TS 链条张紧器在交付时处于锁定状态。只有在组装后,才能根据所需的夹持力释放一或两个弹簧。拧松锁紧螺钉约四圈。 仅释放左侧弹簧:夹持力轻。 仅释放右侧弹簧:夹持力重。 释放两个弹簧:夹持力超重。附件:角形托架 22281-90。特点: 下载此处为收集信息的 PDF:
查找 CAD 数据?请直接在产品列表中查找。
|
弧形或椭圆形轮廓 TS 链条张紧器,A 型 |
更多信息 |
| 订货号 | 类型 | 形状类型 | A | B | 尺寸 | ISO 编号 | 夹持力 双侧弹簧已释放 (N)
| 夹持力 左侧弹簧已释放 (N)
| 夹持力 右侧弹簧已释放 (N)
| 夹紧行程 L2 | 节距,英寸 | 合适的 安装支架
| CAD | 配件 | 价格 | 订购 |
|---|
| 22281-52-1061 | A | 弧形轮廓 | 10 | 20 | TS | 06 B-1 | 190-96 | 58-32 | 132-60 | 40 | 3/8X7/32 | 22281-90-29900 |  | | 根据要求 | | | 22281-52-1081 | A | 弧形轮廓 | 16,5 | 20 | TS | 08 B-1 | 190-96 | 58-32 | 132-60 | 40 | 1/2X5/16 | 22281-90-29900 |  | | 根据要求 | | | 22281-52-1101 | A | 弧形轮廓 | 15,6 | 20 | TS | 10 B-1 | 190-96 | 58-32 | 132-60 | 40 | 5/8X3/8 | 22281-90-29900 |  | | 根据要求 | | | 22281-52-1121 | A | 弧形轮廓 | 14,8 | 20 | TS | 12 B-1 | 190-96 | 58-32 | 132-60 | 40 | 3/4X7/16 | 22281-90-29900 |  | | 根据要求 | | | 22281-52-1062 | A | 弧形轮廓 | 7,5 | 20 | TS | 06 B-2 | 190-96 | 58-32 | 132-60 | 40 | 3/8X7/32 | 22281-90-29900 |  | | 根据要求 | | | 22281-52-1082 | A | 弧形轮廓 | 15,2 | 32 | TS | 08 B-2 | 190-96 | 58-32 | 132-60 | 40 | 1/2X5/16 | 22281-90-29900 |  | | 根据要求 | | | 22281-52-1102 | A | 弧形轮廓 | 11,3 | 32 | TS | 10 B-2 | 190-96 | 58-32 | 132-60 | 40 | 5/8X3/8 | 22281-90-29900 |  | | 根据要求 | | | 22281-52-1053 | A | 弧形轮廓 | 7,4 | 20 | TS | 05 B-3 | 190-96 | 58-32 | 132-60 | 40 | 8,0mmX3,0mm | 22281-90-29900 |  | | 根据要求 | | | 22281-52-1063 | A | 弧形轮廓 | 9,4 | 32 | TS | 06 B-3 | 190-96 | 58-32 | 132-60 | 40 | 3/8X7/32 | 22281-90-29900 |  | | 根据要求 | |
|
|
|
|