norelem 使用 Cookies 以优化设计和持续改进网页。您通过继续使用网页,同意使用 Cookies。在我们的数据保护声明中可以找到有关 Cookies 主题的详细信息。同意
钢制锥形齿轮,传动比 1:1 齿部铣削,竖直啮合,啮合角 20°
22433

钢制锥形齿轮,传动比 1:1 齿部铣削,竖直啮合,啮合角 20°

返回

商品描述/产品说明

产品说明材料:锌 ZnAl4Cu1。规格:铸造,竖直啮合。啮合角 20°。轴角度 = 90°。亮色。
经过切削加工的钻孔。
提示:伞齿轮单件提供。如需伞齿轮对,请为此一起订购配对齿轮。温度范围:在有载荷作业情况下,锌制锥齿轮允许在最高 +100 °C 的温度下使用。说明:表格中说明的扭矩仅涉及啮合,这时既不考虑轴直径,也不考虑滑键尺寸等。承重能力的计算以齿面凹坑承重能力以及出现的齿根应力为基础。齿轮的相应承重能力取决于大量的因素,因此说明的值仅为参考值,以方便选择。扭矩信息是指一个齿轮。根据节圆直径、啮合齿轮等,得出确定可传输扭矩必不可少的重合度。在最简单的直齿啮合情况下,在实践中通常的接触比为 1.1 至 1.25。为了扩大重合度,使用带小模块的大齿数。良好的端面重合度可减少点蚀等损伤。特点:
RoHS
下载此处为收集信息的 PDF:

查找 CAD 数据?请直接在产品列表中查找。
 Datasheet 22433 钢制锥形齿轮,传动比 1:1 齿部铣削,竖直啮合,啮合角 20° 356 kB

图纸

钢制锥形齿轮,传动比 1:1 齿部铣削,竖直啮合,啮合角 20°

商品选择/筛选

订货号传动

模数齿数

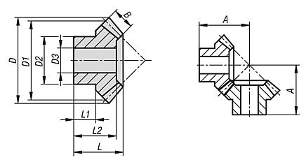
ABD

D1D2D3LL1L2最大
扭矩
Ncm
适配
配对齿轮
CAD配件价格订购
22433-051100161:111617,94,517,316126137,51321,822433-05110016 根据要求
22433-151100161:11,51625,26,9262419818,610,71773,122433-15110016 根据要求
22433-201100161:1216309,634,832231021,31019,2185,722433-20110016 根据要求
22433-251100161:12,51636,212,343,340261225,5122335722433-25110016 根据要求
22433-301100161:131642,71452,348301429,31326576,822433-30110016 根据要求
22433-351100161:13,51649,415,561,456341633,21429,2898,922433-35110016 根据要求
我的 norelemE-Mail密码
购物车
商品数量: 0
总数: 0.00  
点击购物车
欢迎扫描二维码
咨询诺瑞朗官方客服微信
中国
苏ICP备20011289号-1  苏公网安备32058502011222 网页地图 打印 推荐 Top
Copyright © 2025 norelem. 保留所有权利。 电话 +49 71 45/206-44 至 45 · 传真 +49 71 45/206-83