norelem 使用 Cookies 以优化设计和持续改进网页。您通过继续使用网页,同意使用 Cookies。在我们的数据保护声明中可以找到有关 Cookies 主题的详细信息。同意

商品描述/产品说明

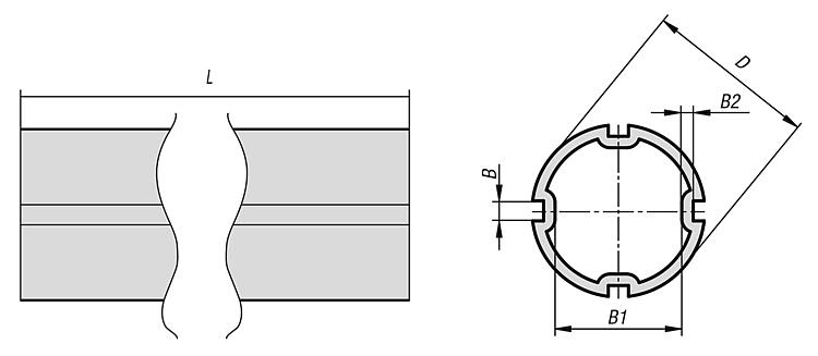
产品说明材料:铝制。规格:自然色阳极氧化。根据要求:其他长度 (L max = 6000mm)。
下载此处为收集信息的 PDF:

查找 CAD 数据?请直接在产品列表中查找。
 Datasheet 29050-05 铝制圆管 带凹槽 125 kB
 用于塑料管接头的扭转止动器的使用说明 1 MB

图纸

铝制圆管 带凹槽

商品概述(精简)

商品选择/筛选
订货号

类型 1BB1B2D

LCAD配件价格订购
29050-05-0230X500带 T 形槽3,522230500 根据要求
29050-05-0230X1000带 T 形槽3,5222301000 根据要求
29050-05-0230X2000带 T 形槽3,5222302000 根据要求

关于本商品的说明

是否未显示所需长度?


请立即联系我们的专业人员。
最大交货长度为 6000mm。

立即订购在此处。

我的 norelemE-Mail密码
购物车
商品数量: 0
总数: 0.00  
点击购物车
欢迎扫描二维码
咨询诺瑞朗官方客服微信
中国
苏ICP备20011289号-1  苏公网安备32058502011222 网页地图 打印 推荐 Top
Copyright © 2025 norelem. 保留所有权利。 电话 +49 71 45/206-44 至 45 · 传真 +49 71 45/206-83