|
|
|
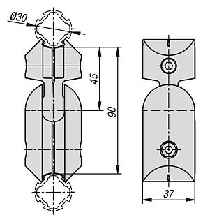
10901-32带防扭转保护的 I 型球形十字接头 Ø30 |
返回 |
|
|
产品说明材料:压铸铝。 组装件钢。规格:亮色。 安装部件镀锌。提示:适用于外径为 30 毫米的型材管。
为可变交叉连接。十字球接头可全方位旋转 180°。这使其适用于任何空间布置中的连接。它可以稳定地连接交叉型材管。可以使用位于球座中的球将连接器旋转到所需位置,并用一个螺钉固定。 球形十字连接器也可以改装到现有结构上以加固或扩展它们。供货范围2 个球连接器半球头。 2 球连接器半球座。 2 个螺钉 DIN EN ISO 4762 (DIN 912) - M6 x 28,镀锌。 2 个自锁螺母 ISO 10511 - M6,镀锌。
项目交付预组装。特点: 下载此处为收集信息的 PDF:
查找 CAD 数据?请直接在产品列表中查找。
|
订货号 | 型材 | 静电放电 静电 放电 | 匹配 遮盖罩 norelem | CAD | 配件 | 价格 | 订购 |
|---|
| 10901-32-30 | Ø30 | 是 | 10901-99-301 |  | | 根据要求 | |
|
|