norelem uses cookies to optimally design and continually improve the website. By continuing to use this website, you agree to the use of cookies. You can find more information about cookies in our Data protection declaration.okay

Item description/product images

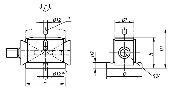
DescriptionMaterial:Carbon steel and ductile iron.Version:Tempered and black oxidised.
Wedge faces fine machined.
Note:Fine adjustment by knurled screw or Allen key. Therefore vertical movement without lateral displacement. Especially suitable for marking or machining heavy parts. Ball handle 02210-01 is added to each height levelling wedge.

H min is reached by removing the baseplate.
Drawing reference:
1) centring hole for 02210
DownloadHere is all the information as a PDF datasheet:

Are you looking for CAD data? These can be found directly in the product table.
 Datasheet 02320 Wedge supports 296 kB

Drawings

Levelling wedges

Item selection/filter

Order No.Clamp rangeBB1HH1H2LSWtravel per
spindle
rotation
F
kN
CADAcc.PriceOrder
02320-5055 - 6863405568763130,8640  on request
02320-100100 - 1251156010012520125241,16100  on request
My norelemE-mailPassword
Shopping cart
Number of items: 0
Amount: 0.00  
shopping cart
欢迎扫描二维码
咨询诺瑞朗官方客服微信
China
苏ICP备20011289号-1  苏公网安备32058502011222 Sitemap Print Recommended Top
Copyright © 2025 norelem. All rights reserved. Tel. +49 71 45/206-44 to 45 · Fax +49 71 45/206-83