norelem uses cookies to optimally design and continually improve the website. By continuing to use this website, you agree to the use of cookies. You can find more information about cookies in our Data protection declaration.okay
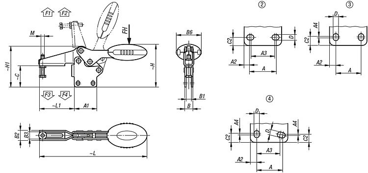
Toggle clamps horizontal with straight foot and adjustable clamping spindle
05904

Toggle clamps horizontal with straight foot and adjustable...

go back

Item description/product images

DescriptionMaterial:Steel.
Grip polyamide.
Version:Carbonitrided and black oxidised.Note:Maintenance-free high quality link bushings. Sustainable constant use of force during opening and closing. Optimum stability through the conical, U-profile clamping arm.Accessory:05280 Protective caps
07110 Ball-end thrust screws
07117 Grippers, adjustable
07120 Grub screws with thrust point DIN 6332
07121 Grub screws with ball thrust point
07140 Thrust pads DIN 6311
07142 Thrust pads
DownloadHere is all the information as a PDF datasheet:

Are you looking for CAD data? These can be found directly in the product table.
 Datasheet 05904 Toggle clamps horizontal with straight foot and adjustable clamping spindle 131 kB

Drawings

Toggle clamps horizontal with straight foot and adjustable clamping spindle

Item selection/filter

Order No.hole
arrangement
Opening
angle of
holding arm
Opening
angle of
handle
Hand
force
FH N
Retaining
force
F1 N
Retaining
force
F2 N
Clamping
force
F3 N
Clamping
force
F4 N
CADAcc.PriceOrder
05904-005002286°67°100650900550620  on request
05904-006002386°67°160135019007201200  on request
05904-008002386°67°200200028008301400  on request
05904-010002390°71°2502200450012002800  on request
05904-012002488°68°2802400550010002800  on request
Order No.

MAA1A2A3A4BB1B2B3B6CC2DHH1LL1CADAcc.PriceOrder
05904-005002M5x2518274,513,5-8,14,113,29,222,526,25,25,552,247,9125,741,8  on request
05904-006002M6x3526396,5-2,514,19,117,512,543,536,985,575,271186,660,5  on request
05904-008002M8x4526449-3,514,19,1211641,546,510,56,288,284,3223,174,9  on request
05904-010002M10x5541,5599-216,29,226194759,6108,8114,3107,5279,4103,9  on request
05904-012002M12x7044651140116,29,228214775,913,58,5128,4125,2314,7122  on request
My norelemE-mailPassword
Shopping cart
Number of items: 0
Amount: 0.00  
shopping cart
欢迎扫描二维码
咨询诺瑞朗官方客服微信
China
苏ICP备20011289号-1  苏公网安备32058502011222 Sitemap Print Recommended Top
Copyright © 2025 norelem. All rights reserved. Tel. +49 71 45/206-44 to 45 · Fax +49 71 45/206-83