norelem uses cookies to optimally design and continually improve the website. By continuing to use this website, you agree to the use of cookies. You can find more information about cookies in our Data protection declaration.okay
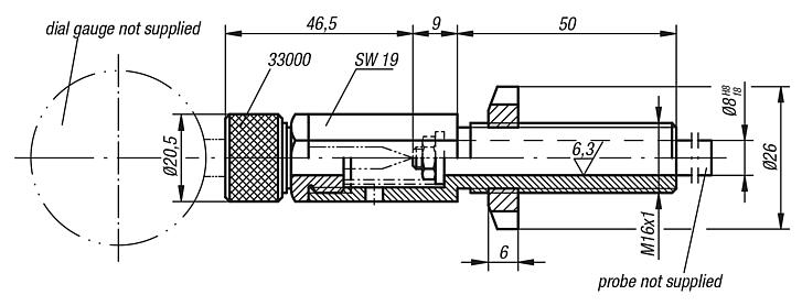
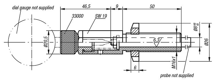
Dial gauge holders short version with thread
33012

Dial gauge holders short version with thread

go back

Item description/product images

DescriptionMaterial:Carbon steel.Version:Black oxidised.Note:Dial gauge and probe are not included.
Dial gauges see 32540 and 32542.
Probes see 33020 up to 33026.
Special features:
RoHS
DownloadHere is all the information as a PDF datasheet:

Are you looking for CAD data? These can be found directly in the product table.
 Datasheet 33012 Dial gauge holders short version with thread 225 kB

Drawings

Dial gauge holders short version with thread

Item selection/filter

Order No.

Supplied for the probe pinCADAcc.PriceOrder
33012-080501 washer 5.3 x 14 x 11 hex nut M51 spring on request
My norelemE-mailPassword
Shopping cart
Number of items: 0
Amount: 0.00  
shopping cart
欢迎扫描二维码
咨询诺瑞朗官方客服微信
China
苏ICP备20011289号-1  苏公网安备32058502011222 Sitemap Print Recommended Top
Copyright © 2025 norelem. All rights reserved. Tel. +49 71 45/206-44 to 45 · Fax +49 71 45/206-83