norelem uses cookies to optimally design and continually improve the website. By continuing to use this website, you agree to the use of cookies. You can find more information about cookies in our Data protection declaration.okay
Dial gauge holders for measuring frame
33018

Dial gauge holders for measuring frame

go back

Item description/product images

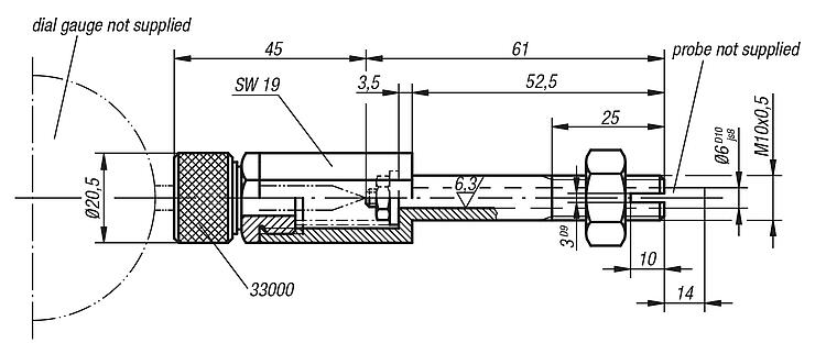
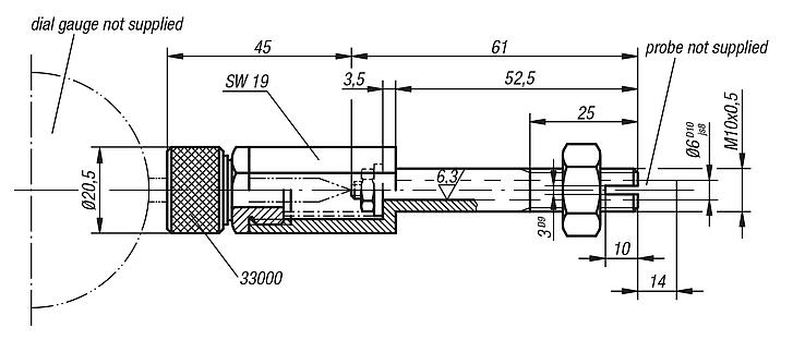
DescriptionMaterial:Carbon steel.Version:Black oxidised.
Collet and body tempered.
Note:Dial gauges and probes are not included.
Dial gauges see 32540 and 32542.
Probes see 33028 up to 33032.
Special features:
RoHS
DownloadHere is all the information as a PDF datasheet:

Are you looking for CAD data? These can be found directly in the product table.
 Datasheet 33018 Dial gauge holders for measuring frame 209 kB

Drawings

Dial gauge holders for measuring frame

Item selection/filter

Order No.

Supplied for the probe pinCADAcc.PriceOrder
33018-060531 washer 4.3 x 14 x 0.91 hex nut M41 spring on request
My norelemE-mailPassword
Shopping cart
Number of items: 0
Amount: 0.00  
shopping cart
欢迎扫描二维码
咨询诺瑞朗官方客服微信
China
苏ICP备20011289号-1  苏公网安备32058502011222 Sitemap Print Recommended Top
Copyright © 2025 norelem. All rights reserved. Tel. +49 71 45/206-44 to 45 · Fax +49 71 45/206-83