norelem uses cookies to optimally design and continually improve the website. By continuing to use this website, you agree to the use of cookies. You can find more information about cookies in our Data protection declaration.okay

Item description/product images

DescriptionMaterial:Base material, steel.
Intermediate layer sintered bronze.
Bearing surface PTFE.
Version:Steel tin-plated.Note:Maintenance-free rolled composite steel plain bearings particularly suitable for dry running. Also highly suitable for lubricated applications (oil lubrication). Very low wear and friction, no stick-slip effect. Suitable for rotary and oscillating movements, high chemical resistance, low water absorption.Technical data:Static load: max. 250 N/mm²
Dynamic load: max. 140 N/mm²
Friction coefficient, dry: 0.03 to 0.20
Sliding speed, dry: max. 2 m/s
Sliding speed, oil lubricated: max. 5 m/s
Thermal conductivity: 42 W(m*K)-1
Thermal expansion coefficient: 11*10-6 K-1
Temperature range: -195°C to +280°C
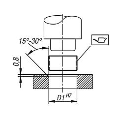
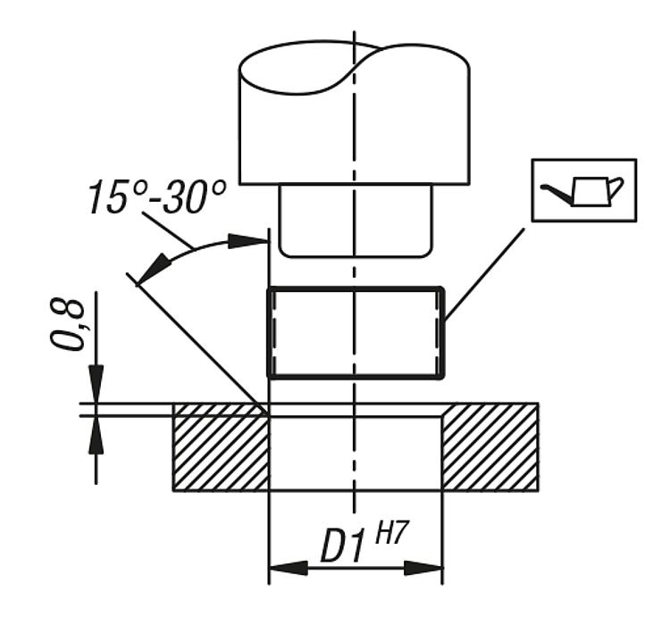
Assembly:The use of a suitable press mandrel is recommended to avoid damaging the bearing surface. The butt joint must be opposite the load zone. The bearing has an interference fit after installation. Gluing is possible but not required.Tolerances:Housing:
Recommended tolerance H7.
Surface finish Ra 0.8 to 1.6.
Chamfer (press-in side 0.8 to 1.2 x 15°).

Shaft:
Recommended tolerance h8 to f7. For applications at a low speed and small loads drawn shafts with h9 can also be used.
Shaft surface Ra 0.4 to 0.8 (preferably ground shafts) for drawn shafts Ra 1.6 to 3.2.
Drawing reference:
1) Butt joint
Special features:
RoHS
DownloadHere is all the information as a PDF datasheet:

Are you looking for CAD data? These can be found directly in the product table.
 Datasheet 23730 Plain bearings cylindrical 220 kB

Drawings

Plain bearings cylindrical

Item selection/filter

Order No.

D

D1LCADAcc.PriceOrder
23730-0030040434,54 on request
23730-0030040534,55 on request
23730-0030040634,56 on request
23730-0040050445,54 on request
23730-0040050645,56 on request
23730-0040050845,58 on request
23730-00500705575 on request
23730-00500708578 on request
23730-00600805685 on request
23730-00600806686 on request
23730-006008106810 on request
23730-007009107910 on request
23730-008010068106 on request
23730-008010088108 on request
23730-0080101081010 on request
23730-0100120610126 on request
23730-0100120810128 on request
23730-01001210101210 on request
23730-01001212101212 on request
23730-01001215101215 on request
23730-01001220101220 on request
23730-0120140612146 on request
23730-0120140812148 on request
23730-01201410121410 on request
23730-01201412121412 on request
23730-01201415121415 on request
23730-01201420121420 on request
23730-01401610141610 on request
23730-01401620141620 on request
23730-01501710151710 on request
23730-01501712151712 on request
23730-01501715151715 on request
23730-01501720151720 on request
23730-01601810161810 on request
23730-01601815161815 on request
23730-01601820161820 on request
23730-01601825161825 on request
23730-01802020182020 on request
23730-02002310202310 on request
23730-02002312202312 on request
23730-02002315202315 on request
23730-02002320202320 on request
23730-02002330202330 on request
23730-02202520222520 on request
23730-02402725242725 on request
23730-02502815252815 on request
23730-02502820252820 on request
23730-02502825252825 on request
23730-02502830252830 on request
23730-02502840252840 on request
23730-02602915263015 on request
23730-02602920263020 on request
23730-02602930263030 on request
23730-02803220283220 on request
23730-02803225283225 on request
23730-03003412303412 on request
23730-03003415303415 on request
23730-03003420303420 on request
23730-03003430303430 on request
23730-03003435303435 on request
23730-03203620323620 on request
23730-03203625323625 on request
23730-03503920353920 on request
23730-03503940353940 on request
23730-03804225384225 on request
23730-04004420404420 on request
23730-04004430404430 on request
23730-04004450404450 on request
23730-05005530505530 on request
23730-05005550505550 on request
My norelemE-mailPassword
Shopping cart
Number of items: 0
Amount: 0.00  
shopping cart
欢迎扫描二维码
咨询诺瑞朗官方客服微信
China
苏ICP备20011289号-1  苏公网安备32058502011222 Sitemap Print Recommended Top
Copyright © 2025 norelem. All rights reserved. Tel. +49 71 45/206-44 to 45 · Fax +49 71 45/206-83