|
|
|
03089 inchIndexing plungers, steel or stainless steel with plastic... |
go back |
|
|
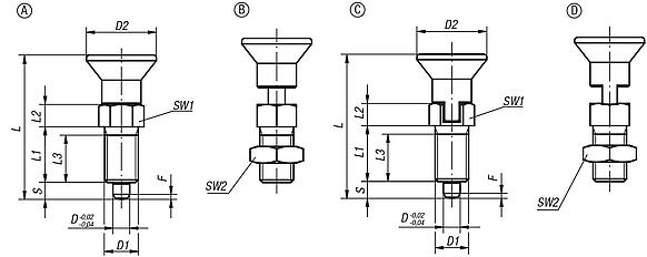
DescriptionProduct description:Indexing plungers are used where any change in locking position due to lateral forces should be prevented. A new locking position can only be attained after the pin has been manually disengaged. Forms C or D should be used where the plunger remains disengaged for an extended period and the indexing pin prevented from springing back. Material:Version:Steel version: Threaded sleeve black oxidised. Indexing pin hardened, ground and black oxidised. Stainless steel version: Threaded sleeve bright. Indexing pin hardened and ground, bright. Indexing pin not hardened and ground, bright.
Mushroom grip black grey RAL7021 or traffic red RAL3020.Note:The materials used enable a wide range of applications. Indexing plungers made from A4 stainless steel are recommended for applications with very high corrosion resistance requirements. On request:Special versions.Drawing reference:Form A: non-lockout type, without locknut Form B: non-lockout type, with locknut Form C: lockout type, without locknut Form D: lockout type, with locknut DownloadHere is all the information as a PDF datasheet:
Are you looking for CAD data? These can be found directly in the product table.
|
Drawings (total overview) |
Indexing plungers, steel or stainless steel with plastic mushroom grip - inch |
More information |
| Order No. | Form | Main material | Steel code | Surface finish body | Component colour | D | D1 | D2 | L | L1 | L2 | L3 | Travel S | SW1 | Fx30° | Spring force initial pressure F1 approx. N | Spring force final pressure F2 approx. N | CAD | Acc. | Price | Order |
|---|
| 03089-1903AJ | A | steel | - | hardened | black grey RAL 7021 | 3 | 1/4-28 | 14 | 31,5 | 12 | 5 | 10 | 3,5 | 8 | 0,8 | 4,5 | 10 |  | | on request | | | 03089-1004AK | A | steel | - | hardened | black grey RAL 7021 | 4 | 5/16-24 | 18 | 38,5 | 15 | 6 | 13 | 4 | 10 | 1 | 6 | 12 |  | | on request | | | 03089-1105AL | A | steel | - | hardened | black grey RAL 7021 | 5 | 3/8-24 | 21 | 43,5 | 17 | 7 | 15 | 5 | 13 | 1,3 | 5 | 12 |  | | on request | | | 03089-1206A5 | A | steel | - | hardened | black grey RAL 7021 | 6 | 1/2-13 | 25 | 51,7 | 20 | 8 | 16 | 6 | 14 | 1,8 | 6 | 14 |  | | on request | | | 03089-1308A6 | A | steel | - | hardened | black grey RAL 7021 | 8 | 5/8-11 | 33 | 68 | 26 | 10 | 21 | 8 | 19 | 2,3 | 15 | 35 |  | | on request | | | 03089-1410A7 | A | steel | - | hardened | black grey RAL 7021 | 10 | 3/4-10 | 33 | 74 | 28 | 12 | 23 | 10 | 22 | 2,8 | 15 | 40 |  | | on request | | | 03089-1412AO | A | steel | - | hardened | black grey RAL 7021 | 12 | 3/4-16 | 33 | 78 | 28 | 14 | 25 | 12 | 22 | 2,8 | 15 | 39 |  | | on request | | | 03089-1516A8 | A | steel | - | hardened | black grey RAL 7021 | 16 | 1-8 | 40 | 96 | 32 | 18 | 28 | 16 | 27 | 3,2 | 20 | 46 |  | | on request | | | 03089-1903AJ84 | A | steel | - | hardened | traffic red RAL 3020 | 3 | 1/4-28 | 14 | 31,5 | 12 | 5 | 10 | 3,5 | 8 | 0,8 | 4,5 | 10 |  | | on request | | | 03089-1004AK84 | A | steel | - | hardened | traffic red RAL 3020 | 4 | 5/16-24 | 18 | 38,5 | 15 | 6 | 13 | 4 | 10 | 1 | 6 | 12 |  | | on request | | | 03089-1105AL84 | A | steel | - | hardened | traffic red RAL 3020 | 5 | 3/8-24 | 21 | 43,5 | 17 | 7 | 15 | 5 | 13 | 1,3 | 5 | 12 |  | | on request | | | 03089-1206A584 | A | steel | - | hardened | traffic red RAL 3020 | 6 | 1/2-13 | 25 | 51,7 | 20 | 8 | 16 | 6 | 14 | 1,8 | 6 | 14 |  | | on request | | | 03089-1308A684 | A | steel | - | hardened | traffic red RAL 3020 | 8 | 5/8-11 | 33 | 68 | 26 | 10 | 21 | 8 | 19 | 2,3 | 15 | 35 |  | | on request | | | 03089-1410A784 | A | steel | - | hardened | traffic red RAL 3020 | 10 | 3/4-10 | 33 | 74 | 28 | 12 | 23 | 10 | 22 | 2,8 | 15 | 40 |  | | on request | | | 03089-1412AO84 | A | steel | - | hardened | traffic red RAL 3020 | 12 | 3/4-16 | 33 | 78 | 28 | 14 | 25 | 12 | 22 | 2,8 | 15 | 39 |  | | on request | | | 03089-1516A884 | A | steel | - | hardened | traffic red RAL 3020 | 16 | 1-8 | 40 | 96 | 32 | 18 | 28 | 16 | 27 | 3,2 | 20 | 46 |  | | on request | | | 03089-01903AJ | A | stainless steel | 1.4034 | hardened | black grey RAL 7021 | 3 | 1/4-28 | 14 | 31,5 | 12 | 5 | 10 | 3,5 | 8 | 0,8 | 4,5 | 10 |  | | on request | | | 03089-01004AK | A | stainless steel | 1.4034 | hardened | black grey RAL 7021 | 4 | 5/16-24 | 18 | 38,5 | 15 | 6 | 13 | 4 | 10 | 1 | 6 | 12 |  | | on request | | | 03089-01105AL | A | stainless steel | 1.4034 | hardened | black grey RAL 7021 | 5 | 3/8-24 | 21 | 43,5 | 17 | 7 | 15 | 5 | 13 | 1,3 | 5 | 12 |  | | on request | | | 03089-01206A5 | A | stainless steel | 1.4034 | hardened | black grey RAL 7021 | 6 | 1/2-13 | 25 | 51,7 | 20 | 8 | 16 | 6 | 14 | 1,8 | 6 | 14 |  | | on request | | | 03089-01308A6 | A | stainless steel | 1.4034 | hardened | black grey RAL 7021 | 8 | 5/8-11 | 33 | 68 | 26 | 10 | 21 | 8 | 19 | 2,3 | 15 | 35 |  | | on request | | | 03089-01410A7 | A | stainless steel | 1.4034 | hardened | black grey RAL 7021 | 10 | 3/4-10 | 33 | 74 | 28 | 12 | 23 | 10 | 22 | 2,8 | 15 | 40 |  | | on request | | | 03089-01412AO | A | stainless steel | 1.4034 | hardened | black grey RAL 7021 | 12 | 3/4-16 | 33 | 78 | 28 | 14 | 25 | 12 | 22 | 2,8 | 15 | 39 |  | | on request | | | 03089-01516A8 | A | stainless steel | 1.4034 | hardened | black grey RAL 7021 | 16 | 1-8 | 40 | 96 | 32 | 18 | 28 | 16 | 27 | 3,2 | 20 | 46 |  | | on request | | | 03089-01903AJ84 | A | stainless steel | 1.4034 | hardened | traffic red RAL 3020 | 3 | 1/4-28 | 14 | 31,5 | 12 | 5 | 10 | 3,5 | 8 | 0,8 | 4,5 | 10 |  | | on request | | | 03089-01004AK84 | A | stainless steel | 1.4034 | hardened | traffic red RAL 3020 | 4 | 5/16-24 | 18 | 38,5 | 15 | 6 | 13 | 4 | 10 | 1 | 6 | 12 |  | | on request | | | 03089-01105AL84 | A | stainless steel | 1.4034 | hardened | traffic red RAL 3020 | 5 | 3/8-24 | 21 | 43,5 | 17 | 7 | 15 | 5 | 13 | 1,3 | 5 | 12 |  | | on request | | | 03089-01206A584 | A | stainless steel | 1.4034 | hardened | traffic red RAL 3020 | 6 | 1/2-13 | 25 | 51,7 | 20 | 8 | 16 | 6 | 14 | 1,8 | 6 | 14 |  | | on request | | | 03089-01308A684 | A | stainless steel | 1.4034 | hardened | traffic red RAL 3020 | 8 | 5/8-11 | 33 | 68 | 26 | 10 | 21 | 8 | 19 | 2,3 | 15 | 35 |  | | on request | | | 03089-01410A784 | A | stainless steel | 1.4034 | hardened | traffic red RAL 3020 | 10 | 3/4-10 | 33 | 74 | 28 | 12 | 23 | 10 | 22 | 2,8 | 15 | 40 |  | | on request | | | 03089-01412AO84 | A | stainless steel | 1.4034 | hardened | traffic red RAL 3020 | 12 | 3/4-16 | 33 | 78 | 28 | 14 | 25 | 12 | 22 | 2,8 | 15 | 39 |  | | on request | | | 03089-01516A884 | A | stainless steel | 1.4034 | hardened | traffic red RAL 3020 | 16 | 1-8 | 40 | 96 | 32 | 18 | 28 | 16 | 27 | 3,2 | 20 | 46 |  | | on request | | | 03089-11903AJ | A | stainless steel | 1.4305 | not hardened | black grey RAL 7021 | 3 | 1/4-28 | 14 | 31,5 | 12 | 5 | 10 | 3,5 | 8 | 0,8 | 4,5 | 10 |  | | on request | | | 03089-11004AK | A | stainless steel | 1.4305 | not hardened | black grey RAL 7021 | 4 | 5/16-24 | 18 | 38,5 | 15 | 6 | 13 | 4 | 10 | 1 | 6 | 12 |  | | on request | | | 03089-11105AL | A | stainless steel | 1.4305 | not hardened | black grey RAL 7021 | 5 | 3/8-24 | 21 | 43,5 | 17 | 7 | 15 | 5 | 13 | 1,3 | 5 | 12 |  | | on request | | | 03089-11206A5 | A | stainless steel | 1.4305 | not hardened | black grey RAL 7021 | 6 | 1/2-13 | 25 | 51,7 | 20 | 8 | 16 | 6 | 14 | 1,8 | 6 | 14 |  | | on request | | | 03089-11308A6 | A | stainless steel | 1.4305 | not hardened | black grey RAL 7021 | 8 | 5/8-11 | 33 | 68 | 26 | 10 | 21 | 8 | 19 | 2,3 | 15 | 35 |  | | on request | | | 03089-11410A7 | A | stainless steel | 1.4305 | not hardened | black grey RAL 7021 | 10 | 3/4-10 | 33 | 74 | 28 | 12 | 23 | 10 | 22 | 2,8 | 15 | 40 |  | | on request | | | 03089-11412AO | A | stainless steel | 1.4305 | not hardened | black grey RAL 7021 | 12 | 3/4-16 | 33 | 78 | 28 | 14 | 25 | 12 | 22 | 2,8 | 15 | 39 |  | | on request | | | 03089-11516A8 | A | stainless steel | 1.4305 | not hardened | black grey RAL 7021 | 16 | 1-8 | 40 | 96 | 32 | 18 | 28 | 16 | 27 | 3,2 | 20 | 46 |  | | on request | | | 03089-11903AJ84 | A | stainless steel | 1.4305 | not hardened | traffic red RAL 3020 | 3 | 1/4-28 | 14 | 31,5 | 12 | 5 | 10 | 3,5 | 8 | 0,8 | 4,5 | 10 |  | | on request | | | 03089-11004AK84 | A | stainless steel | 1.4305 | not hardened | traffic red RAL 3020 | 4 | 5/16-24 | 18 | 38,5 | 15 | 6 | 13 | 4 | 10 | 1 | 6 | 12 |  | | on request | | | 03089-11105AL84 | A | stainless steel | 1.4305 | not hardened | traffic red RAL 3020 | 5 | 3/8-24 | 21 | 43,5 | 17 | 7 | 15 | 5 | 13 | 1,3 | 5 | 12 |  | | on request | | | 03089-11206A584 | A | stainless steel | 1.4305 | not hardened | traffic red RAL 3020 | 6 | 1/2-13 | 25 | 51,7 | 20 | 8 | 16 | 6 | 14 | 1,8 | 6 | 14 |  | | on request | | | 03089-11308A684 | A | stainless steel | 1.4305 | not hardened | traffic red RAL 3020 | 8 | 5/8-11 | 33 | 68 | 26 | 10 | 21 | 8 | 19 | 2,3 | 15 | 35 |  | | on request | | | 03089-11410A784 | A | stainless steel | 1.4305 | not hardened | traffic red RAL 3020 | 10 | 3/4-10 | 33 | 74 | 28 | 12 | 23 | 10 | 22 | 2,8 | 15 | 40 |  | | on request | | | 03089-11412AO84 | A | stainless steel | 1.4305 | not hardened | traffic red RAL 3020 | 12 | 3/4-16 | 33 | 78 | 28 | 14 | 25 | 12 | 22 | 2,8 | 15 | 39 |  | | on request | | | 03089-11516A884 | A | stainless steel | 1.4305 | not hardened | traffic red RAL 3020 | 16 | 1-8 | 40 | 96 | 32 | 18 | 28 | 16 | 27 | 3,2 | 20 | 46 |  | | on request | |
|
Indexing plungers, steel or stainless steel with plastic mushroom grip and locknut - inch |
More information |
| Order No. | Form | Main material | Steel code | Surface finish body | Component colour | D | D1 | D2 | L | L1 | L2 | L3 | Travel S | SW1 | SW2 | Fx30° | Spring force initial pressure F1 approx. N | Spring force final pressure F2 approx. N | CAD | Acc. | Price | Order |
|---|
| 03089-2903AJ | B | steel | - | hardened | black grey RAL 7021 | 3 | 1/4-28 | 14 | 31,5 | 12 | 5 | 10 | 3,5 | 8 | 7/16 | 0,8 | 4,5 | 10 |  | | on request | | | 03089-2004AK | B | steel | - | hardened | black grey RAL 7021 | 4 | 5/16-24 | 18 | 38,5 | 15 | 6 | 13 | 4 | 10 | 1/2 | 1 | 6 | 12 |  | | on request | | | 03089-2105AL | B | steel | - | hardened | black grey RAL 7021 | 5 | 3/8-24 | 21 | 43,5 | 17 | 7 | 15 | 5 | 13 | 9/16 | 1,3 | 5 | 12 |  | | on request | | | 03089-2206A5 | B | steel | - | hardened | black grey RAL 7021 | 6 | 1/2-13 | 25 | 51,7 | 20 | 8 | 16 | 6 | 14 | 3/4 | 1,8 | 6 | 14 |  | | on request | | | 03089-2308A6 | B | steel | - | hardened | black grey RAL 7021 | 8 | 5/8-11 | 33 | 68 | 26 | 10 | 21 | 8 | 19 | 15/16 | 2,3 | 15 | 35 |  | | on request | | | 03089-2410A7 | B | steel | - | hardened | black grey RAL 7021 | 10 | 3/4-10 | 33 | 74 | 28 | 12 | 23 | 10 | 22 | 1-1/8 | 2,8 | 15 | 40 |  | | on request | | | 03089-2412AO | B | steel | - | hardened | black grey RAL 7021 | 12 | 3/4-16 | 33 | 78 | 28 | 14 | 25 | 12 | 22 | 1-1/8 | 2,8 | 15 | 39 |  | | on request | | | 03089-2516A8 | B | steel | - | hardened | black grey RAL 7021 | 16 | 1-8 | 40 | 96 | 32 | 18 | 28 | 16 | 27 | 1-1/2 | 3,2 | 20 | 46 |  | | on request | | | 03089-2903AJ84 | B | steel | - | hardened | traffic red RAL 3020 | 3 | 1/4-28 | 14 | 31,5 | 12 | 5 | 10 | 3,5 | 8 | 7/16 | 0,8 | 4,5 | 10 |  | | on request | | | 03089-2004AK84 | B | steel | - | hardened | traffic red RAL 3020 | 4 | 5/16-24 | 18 | 38,5 | 15 | 6 | 13 | 4 | 10 | 1/2 | 1 | 6 | 12 |  | | on request | | | 03089-2105AL84 | B | steel | - | hardened | traffic red RAL 3020 | 5 | 3/8-24 | 21 | 43,5 | 17 | 7 | 15 | 5 | 13 | 9/16 | 1,3 | 5 | 12 |  | | on request | | | 03089-2206A584 | B | steel | - | hardened | traffic red RAL 3020 | 6 | 1/2-13 | 25 | 51,7 | 20 | 8 | 16 | 6 | 14 | 3/4 | 1,8 | 6 | 14 |  | | on request | | | 03089-2308A684 | B | steel | - | hardened | traffic red RAL 3020 | 8 | 5/8-11 | 33 | 68 | 26 | 10 | 21 | 8 | 19 | 15/16 | 2,3 | 15 | 35 |  | | on request | | | 03089-2410A784 | B | steel | - | hardened | traffic red RAL 3020 | 10 | 3/4-10 | 33 | 74 | 28 | 12 | 23 | 10 | 22 | 1-1/8 | 2,8 | 15 | 40 |  | | on request | | | 03089-2412AO84 | B | steel | - | hardened | traffic red RAL 3020 | 12 | 3/4-16 | 33 | 78 | 28 | 14 | 25 | 12 | 22 | 1-1/8 | 2,8 | 15 | 39 |  | | on request | | | 03089-2516A884 | B | steel | - | hardened | traffic red RAL 3020 | 16 | 1-8 | 40 | 96 | 32 | 18 | 28 | 16 | 27 | 1-1/2 | 3,2 | 20 | 46 |  | | on request | | | 03089-02903AJ | B | stainless steel | 1.4034 | hardened | black grey RAL 7021 | 3 | 1/4-28 | 14 | 31,5 | 12 | 5 | 10 | 3,5 | 8 | 7/16 | 0,8 | 4,5 | 10 |  | | on request | | | 03089-02004AK | B | stainless steel | 1.4034 | hardened | black grey RAL 7021 | 4 | 5/16-24 | 18 | 38,5 | 15 | 6 | 13 | 4 | 10 | 1/2 | 1 | 6 | 12 |  | | on request | | | 03089-02105AL | B | stainless steel | 1.4034 | hardened | black grey RAL 7021 | 5 | 3/8-24 | 21 | 43,5 | 17 | 7 | 15 | 5 | 13 | 9/16 | 1,3 | 5 | 12 |  | | on request | | | 03089-02206A5 | B | stainless steel | 1.4034 | hardened | black grey RAL 7021 | 6 | 1/2-13 | 25 | 51,7 | 20 | 8 | 16 | 6 | 14 | 3/4 | 1,8 | 6 | 14 |  | | on request | | | 03089-02308A6 | B | stainless steel | 1.4034 | hardened | black grey RAL 7021 | 8 | 5/8-11 | 33 | 68 | 26 | 10 | 21 | 8 | 19 | 15/16 | 2,3 | 15 | 35 |  | | on request | | | 03089-02410A7 | B | stainless steel | 1.4034 | hardened | black grey RAL 7021 | 10 | 3/4-10 | 33 | 74 | 28 | 12 | 23 | 10 | 22 | 1-1/8 | 2,8 | 15 | 40 |  | | on request | | | 03089-02412AO | B | stainless steel | 1.4034 | hardened | black grey RAL 7021 | 12 | 3/4-16 | 33 | 78 | 28 | 14 | 25 | 12 | 22 | 1-1/8 | 2,8 | 15 | 39 |  | | on request | | | 03089-02516A8 | B | stainless steel | 1.4034 | hardened | black grey RAL 7021 | 16 | 1-8 | 40 | 96 | 32 | 18 | 28 | 16 | 27 | 1-1/2 | 3,2 | 20 | 46 |  | | on request | | | 03089-02903AJ84 | B | stainless steel | 1.4034 | hardened | traffic red RAL 3020 | 3 | 1/4-28 | 14 | 31,5 | 12 | 5 | 10 | 3,5 | 8 | 7/16 | 0,8 | 4,5 | 10 |  | | on request | | | 03089-02004AK84 | B | stainless steel | 1.4034 | hardened | traffic red RAL 3020 | 4 | 5/16-24 | 18 | 38,5 | 15 | 6 | 13 | 4 | 10 | 1/2 | 1 | 6 | 12 |  | | on request | | | 03089-02105AL84 | B | stainless steel | 1.4034 | hardened | traffic red RAL 3020 | 5 | 3/8-24 | 21 | 43,5 | 17 | 7 | 15 | 5 | 13 | 9/16 | 1,3 | 5 | 12 |  | | on request | | | 03089-02206A584 | B | stainless steel | 1.4034 | hardened | traffic red RAL 3020 | 6 | 1/2-13 | 25 | 51,7 | 20 | 8 | 16 | 6 | 14 | 3/4 | 1,8 | 6 | 14 |  | | on request | | | 03089-02308A684 | B | stainless steel | 1.4034 | hardened | traffic red RAL 3020 | 8 | 5/8-11 | 33 | 68 | 26 | 10 | 21 | 8 | 19 | 15/16 | 2,3 | 15 | 35 |  | | on request | | | 03089-02410A784 | B | stainless steel | 1.4034 | hardened | traffic red RAL 3020 | 10 | 3/4-10 | 33 | 74 | 28 | 12 | 23 | 10 | 22 | 1-1/8 | 2,8 | 15 | 40 |  | | on request | | | 03089-02412AO84 | B | stainless steel | 1.4034 | hardened | traffic red RAL 3020 | 12 | 3/4-16 | 33 | 78 | 28 | 14 | 25 | 12 | 22 | 1-1/8 | 2,8 | 15 | 39 |  | | on request | | | 03089-02516A884 | B | stainless steel | 1.4034 | hardened | traffic red RAL 3020 | 16 | 1-8 | 40 | 96 | 32 | 18 | 28 | 16 | 27 | 1-1/2 | 3,2 | 20 | 46 |  | | on request | | | 03089-12903AJ | B | stainless steel | 1.4305 | not hardened | black grey RAL 7021 | 3 | 1/4-28 | 14 | 31,5 | 12 | 5 | 10 | 3,5 | 8 | 7/16 | 0,8 | 4,5 | 10 |  | | on request | | | 03089-12004AK | B | stainless steel | 1.4305 | not hardened | black grey RAL 7021 | 4 | 5/16-24 | 18 | 38,5 | 15 | 6 | 13 | 4 | 10 | 1/2 | 1 | 6 | 12 |  | | on request | | | 03089-12105AL | B | stainless steel | 1.4305 | not hardened | black grey RAL 7021 | 5 | 3/8-24 | 21 | 43,5 | 17 | 7 | 15 | 5 | 13 | 9/16 | 1,3 | 5 | 12 |  | | on request | | | 03089-12206A5 | B | stainless steel | 1.4305 | not hardened | black grey RAL 7021 | 6 | 1/2-13 | 25 | 51,7 | 20 | 8 | 16 | 6 | 14 | 3/4 | 1,8 | 6 | 14 |  | | on request | | | 03089-12308A6 | B | stainless steel | 1.4305 | not hardened | black grey RAL 7021 | 8 | 5/8-11 | 33 | 68 | 26 | 10 | 21 | 8 | 19 | 15/16 | 2,3 | 15 | 35 |  | | on request | | | 03089-12410A7 | B | stainless steel | 1.4305 | not hardened | black grey RAL 7021 | 10 | 3/4-10 | 33 | 74 | 28 | 12 | 23 | 10 | 22 | 1-1/8 | 2,8 | 15 | 40 |  | | on request | | | 03089-12412AO | B | stainless steel | 1.4305 | not hardened | black grey RAL 7021 | 12 | 3/4-16 | 33 | 78 | 28 | 14 | 25 | 12 | 22 | 1-1/8 | 2,8 | 15 | 39 |  | | on request | | | 03089-12516A8 | B | stainless steel | 1.4305 | not hardened | black grey RAL 7021 | 16 | 1-8 | 40 | 96 | 32 | 18 | 28 | 16 | 27 | 1-1/2 | 3,2 | 20 | 46 |  | | on request | | | 03089-12903AJ84 | B | stainless steel | 1.4305 | not hardened | traffic red RAL 3020 | 3 | 1/4-28 | 14 | 31,5 | 12 | 5 | 10 | 3,5 | 8 | 7/16 | 0,8 | 4,5 | 10 |  | | on request | | | 03089-12004AK84 | B | stainless steel | 1.4305 | not hardened | traffic red RAL 3020 | 4 | 5/16-24 | 18 | 38,5 | 15 | 6 | 13 | 4 | 10 | 1/2 | 1 | 6 | 12 |  | | on request | | | 03089-12105AL84 | B | stainless steel | 1.4305 | not hardened | traffic red RAL 3020 | 5 | 3/8-24 | 21 | 43,5 | 17 | 7 | 15 | 5 | 13 | 9/16 | 1,3 | 5 | 12 |  | | on request | | | 03089-12206A584 | B | stainless steel | 1.4305 | not hardened | traffic red RAL 3020 | 6 | 1/2-13 | 25 | 51,7 | 20 | 8 | 16 | 6 | 14 | 3/4 | 1,8 | 6 | 14 |  | | on request | | | 03089-12308A684 | B | stainless steel | 1.4305 | not hardened | traffic red RAL 3020 | 8 | 5/8-11 | 33 | 68 | 26 | 10 | 21 | 8 | 19 | 15/16 | 2,3 | 15 | 35 |  | | on request | | | 03089-12410A784 | B | stainless steel | 1.4305 | not hardened | traffic red RAL 3020 | 10 | 3/4-10 | 33 | 74 | 28 | 12 | 23 | 10 | 22 | 1-1/8 | 2,8 | 15 | 40 |  | | on request | | | 03089-12412AO84 | B | stainless steel | 1.4305 | not hardened | traffic red RAL 3020 | 12 | 3/4-16 | 33 | 78 | 28 | 14 | 25 | 12 | 22 | 1-1/8 | 2,8 | 15 | 39 |  | | on request | | | 03089-12516A884 | B | stainless steel | 1.4305 | not hardened | traffic red RAL 3020 | 16 | 1-8 | 40 | 96 | 32 | 18 | 28 | 16 | 27 | 1-1/2 | 3,2 | 20 | 46 |  | | on request | |
|
Indexing plungers, steel or stainless steel with plastic mushroom grip and locking slot - inch |
More information |
| Order No. | Form | Main material | Steel code | Surface finish body | Component colour | D | D1 | D2 | L | L1 | L2 | L3 | Travel S | SW1 | Fx30° | Spring force initial pressure F1 approx. N | Spring force final pressure F2 approx. N | CAD | Acc. | Price | Order |
|---|
| 03089-3903AJ | C | steel | - | hardened | black grey RAL 7021 | 3 | 1/4-28 | 14 | 31,5 | 12 | 5 | 10 | 3,5 | 8 | 0,8 | 4,5 | 10 |  | | on request | | | 03089-3004AK | C | steel | - | hardened | black grey RAL 7021 | 4 | 5/16-24 | 18 | 38,5 | 15 | 6 | 13 | 4 | 10 | 1 | 6 | 12 |  | | on request | | | 03089-3105AL | C | steel | - | hardened | black grey RAL 7021 | 5 | 3/8-24 | 21 | 43,5 | 17 | 7 | 15 | 5 | 13 | 1,3 | 5 | 12 |  | | on request | | | 03089-3206A5 | C | steel | - | hardened | black grey RAL 7021 | 6 | 1/2-13 | 25 | 51,7 | 20 | 8 | 16 | 6 | 14 | 1,8 | 6 | 14 |  | | on request | | | 03089-3308A6 | C | steel | - | hardened | black grey RAL 7021 | 8 | 5/8-11 | 33 | 68 | 26 | 10 | 21 | 8 | 19 | 2,3 | 15 | 35 |  | | on request | | | 03089-3410A7 | C | steel | - | hardened | black grey RAL 7021 | 10 | 3/4-10 | 33 | 74 | 28 | 12 | 23 | 10 | 22 | 2,8 | 15 | 40 |  | | on request | | | 03089-3412AO | C | steel | - | hardened | black grey RAL 7021 | 12 | 3/4-16 | 33 | 78 | 28 | 14 | 25 | 12 | 22 | 2,8 | 15 | 39 |  | | on request | | | 03089-3516A8 | C | steel | - | hardened | black grey RAL 7021 | 16 | 1-8 | 40 | 96 | 32 | 18 | 28 | 16 | 27 | 3,2 | 20 | 46 |  | | on request | | | 03089-3903AJ84 | C | steel | - | hardened | traffic red RAL 3020 | 3 | 1/4-28 | 14 | 31,5 | 12 | 5 | 10 | 3,5 | 8 | 0,8 | 4,5 | 10 |  | | on request | | | 03089-3004AK84 | C | steel | - | hardened | traffic red RAL 3020 | 4 | 5/16-24 | 18 | 38,5 | 15 | 6 | 13 | 4 | 10 | 1 | 6 | 12 |  | | on request | | | 03089-3105AL84 | C | steel | - | hardened | traffic red RAL 3020 | 5 | 3/8-24 | 21 | 43,5 | 17 | 7 | 15 | 5 | 13 | 1,3 | 5 | 12 |  | | on request | | | 03089-3206A584 | C | steel | - | hardened | traffic red RAL 3020 | 6 | 1/2-13 | 25 | 51,7 | 20 | 8 | 16 | 6 | 14 | 1,8 | 6 | 14 |  | | on request | | | 03089-3308A684 | C | steel | - | hardened | traffic red RAL 3020 | 8 | 5/8-11 | 33 | 68 | 26 | 10 | 21 | 8 | 19 | 2,3 | 15 | 35 |  | | on request | | | 03089-3410A784 | C | steel | - | hardened | traffic red RAL 3020 | 10 | 3/4-10 | 33 | 74 | 28 | 12 | 23 | 10 | 22 | 2,8 | 15 | 40 |  | | on request | | | 03089-3412AO84 | C | steel | - | hardened | traffic red RAL 3020 | 12 | 3/4-16 | 33 | 78 | 28 | 14 | 25 | 12 | 22 | 2,8 | 15 | 39 |  | | on request | | | 03089-3516A884 | C | steel | - | hardened | traffic red RAL 3020 | 16 | 1-8 | 40 | 96 | 32 | 18 | 28 | 16 | 27 | 3,2 | 20 | 46 |  | | on request | | | 03089-03903AJ | C | stainless steel | 1.4034 | hardened | black grey RAL 7021 | 3 | 1/4-28 | 14 | 31,5 | 12 | 5 | 10 | 3,5 | 8 | 0,8 | 4,5 | 10 |  | | on request | | | 03089-03004AK | C | stainless steel | 1.4034 | hardened | black grey RAL 7021 | 4 | 5/16-24 | 18 | 38,5 | 15 | 6 | 13 | 4 | 10 | 1 | 6 | 12 |  | | on request | | | 03089-03105AL | C | stainless steel | 1.4034 | hardened | black grey RAL 7021 | 5 | 3/8-24 | 21 | 43,5 | 17 | 7 | 15 | 5 | 13 | 1,3 | 5 | 12 |  | | on request | | | 03089-03206A5 | C | stainless steel | 1.4034 | hardened | black grey RAL 7021 | 6 | 1/2-13 | 25 | 51,7 | 20 | 8 | 16 | 6 | 14 | 1,8 | 6 | 14 |  | | on request | | | 03089-03308A6 | C | stainless steel | 1.4034 | hardened | black grey RAL 7021 | 8 | 5/8-11 | 33 | 68 | 26 | 10 | 21 | 8 | 19 | 2,3 | 15 | 35 |  | | on request | | | 03089-03410A7 | C | stainless steel | 1.4034 | hardened | black grey RAL 7021 | 10 | 3/4-10 | 33 | 74 | 28 | 12 | 23 | 10 | 22 | 2,8 | 15 | 40 |  | | on request | | | 03089-03412AO | C | stainless steel | 1.4034 | hardened | black grey RAL 7021 | 12 | 3/4-16 | 33 | 78 | 28 | 14 | 25 | 12 | 22 | 2,8 | 15 | 39 |  | | on request | | | 03089-03516A8 | C | stainless steel | 1.4034 | hardened | black grey RAL 7021 | 16 | 1-8 | 40 | 96 | 32 | 18 | 28 | 16 | 27 | 3,2 | 20 | 46 |  | | on request | | | 03089-03903AJ84 | C | stainless steel | 1.4034 | hardened | traffic red RAL 3020 | 3 | 1/4-28 | 14 | 31,5 | 12 | 5 | 10 | 3,5 | 8 | 0,8 | 4,5 | 10 |  | | on request | | | 03089-03004AK84 | C | stainless steel | 1.4034 | hardened | traffic red RAL 3020 | 4 | 5/16-24 | 18 | 38,5 | 15 | 6 | 13 | 4 | 10 | 1 | 6 | 12 |  | | on request | | | 03089-03105AL84 | C | stainless steel | 1.4034 | hardened | traffic red RAL 3020 | 5 | 3/8-24 | 21 | 43,5 | 17 | 7 | 15 | 5 | 13 | 1,3 | 5 | 12 |  | | on request | | | 03089-03206A584 | C | stainless steel | 1.4034 | hardened | traffic red RAL 3020 | 6 | 1/2-13 | 25 | 51,7 | 20 | 8 | 16 | 6 | 14 | 1,8 | 6 | 14 |  | | on request | | | 03089-03308A684 | C | stainless steel | 1.4034 | hardened | traffic red RAL 3020 | 8 | 5/8-11 | 33 | 68 | 26 | 10 | 21 | 8 | 19 | 2,3 | 15 | 35 |  | | on request | | | 03089-03410A784 | C | stainless steel | 1.4034 | hardened | traffic red RAL 3020 | 10 | 3/4-10 | 33 | 74 | 28 | 12 | 23 | 10 | 22 | 2,8 | 15 | 40 |  | | on request | | | 03089-03412AO84 | C | stainless steel | 1.4034 | hardened | traffic red RAL 3020 | 12 | 3/4-16 | 33 | 78 | 28 | 14 | 25 | 12 | 22 | 2,8 | 15 | 39 |  | | on request | | | 03089-03516A884 | C | stainless steel | 1.4034 | hardened | traffic red RAL 3020 | 16 | 1-8 | 40 | 96 | 32 | 18 | 28 | 16 | 27 | 3,2 | 20 | 46 |  | | on request | | | 03089-13903AJ | C | stainless steel | 1.4305 | not hardened | black grey RAL 7021 | 3 | 1/4-28 | 14 | 31,5 | 12 | 5 | 10 | 3,5 | 8 | 0,8 | 4,5 | 10 |  | | on request | | | 03089-13004AK | C | stainless steel | 1.4305 | not hardened | black grey RAL 7021 | 4 | 5/16-24 | 18 | 38,5 | 15 | 6 | 13 | 4 | 10 | 1 | 6 | 12 |  | | on request | | | 03089-13105AL | C | stainless steel | 1.4305 | not hardened | black grey RAL 7021 | 5 | 3/8-24 | 21 | 43,5 | 17 | 7 | 15 | 5 | 13 | 1,3 | 5 | 12 |  | | on request | | | 03089-13206A5 | C | stainless steel | 1.4305 | not hardened | black grey RAL 7021 | 6 | 1/2-13 | 25 | 51,7 | 20 | 8 | 16 | 6 | 14 | 1,8 | 6 | 14 |  | | on request | | | 03089-13308A6 | C | stainless steel | 1.4305 | not hardened | black grey RAL 7021 | 8 | 5/8-11 | 33 | 68 | 26 | 10 | 21 | 8 | 19 | 2,3 | 15 | 35 |  | | on request | | | 03089-13410A7 | C | stainless steel | 1.4305 | not hardened | black grey RAL 7021 | 10 | 3/4-10 | 33 | 74 | 28 | 12 | 23 | 10 | 22 | 2,8 | 15 | 40 |  | | on request | | | 03089-13412AO | C | stainless steel | 1.4305 | not hardened | black grey RAL 7021 | 12 | 3/4-16 | 33 | 78 | 28 | 14 | 25 | 12 | 22 | 2,8 | 15 | 39 |  | | on request | | | 03089-13516A8 | C | stainless steel | 1.4305 | not hardened | black grey RAL 7021 | 16 | 1-8 | 40 | 96 | 32 | 18 | 28 | 16 | 27 | 3,2 | 20 | 46 |  | | on request | | | 03089-13903AJ84 | C | stainless steel | 1.4305 | not hardened | traffic red RAL 3020 | 3 | 1/4-28 | 14 | 31,5 | 12 | 5 | 10 | 3,5 | 8 | 0,8 | 4,5 | 10 |  | | on request | | | 03089-13004AK84 | C | stainless steel | 1.4305 | not hardened | traffic red RAL 3020 | 4 | 5/16-24 | 18 | 38,5 | 15 | 6 | 13 | 4 | 10 | 1 | 6 | 12 |  | | on request | | | 03089-13105AL84 | C | stainless steel | 1.4305 | not hardened | traffic red RAL 3020 | 5 | 3/8-24 | 21 | 43,5 | 17 | 7 | 15 | 5 | 13 | 1,3 | 5 | 12 |  | | on request | | | 03089-13206A584 | C | stainless steel | 1.4305 | not hardened | traffic red RAL 3020 | 6 | 1/2-13 | 25 | 51,7 | 20 | 8 | 16 | 6 | 14 | 1,8 | 6 | 14 |  | | on request | | | 03089-13308A684 | C | stainless steel | 1.4305 | not hardened | traffic red RAL 3020 | 8 | 5/8-11 | 33 | 68 | 26 | 10 | 21 | 8 | 19 | 2,3 | 15 | 35 |  | | on request | | | 03089-13410A784 | C | stainless steel | 1.4305 | not hardened | traffic red RAL 3020 | 10 | 3/4-10 | 33 | 74 | 28 | 12 | 23 | 10 | 22 | 2,8 | 15 | 40 |  | | on request | | | 03089-13412AO84 | C | stainless steel | 1.4305 | not hardened | traffic red RAL 3020 | 12 | 3/4-16 | 33 | 78 | 28 | 14 | 25 | 12 | 22 | 2,8 | 15 | 39 |  | | on request | | | 03089-13516A884 | C | stainless steel | 1.4305 | not hardened | traffic red RAL 3020 | 16 | 1-8 | 40 | 96 | 32 | 18 | 28 | 16 | 27 | 3,2 | 20 | 46 |  | | on request | |
|
Indexing plungers, steel or stainless steel with plastic mushroom grip, locking slot and locknut - inch |
More information |
| Order No. | Form | Main material | Steel code | Surface finish body | Component colour | D | D1 | D2 | L | L1 | L2 | L3 | Travel S | SW1 | SW2 | Fx30° | Spring force initial pressure F1 approx. N | Spring force final pressure F2 approx. N | CAD | Acc. | Price | Order |
|---|
| 03089-4903AJ | D | steel | - | hardened | black grey RAL 7021 | 3 | 1/4-28 | 14 | 31,5 | 12 | 5 | 10 | 3,5 | 8 | 7/16 | 0,8 | 4,5 | 10 |  | | on request | | | 03089-4004AK | D | steel | - | hardened | black grey RAL 7021 | 4 | 5/16-24 | 18 | 38,5 | 15 | 6 | 13 | 4 | 10 | 1/2 | 1 | 6 | 12 |  | | on request | | | 03089-4105AL | D | steel | - | hardened | black grey RAL 7021 | 5 | 3/8-24 | 21 | 43,5 | 17 | 7 | 15 | 5 | 13 | 9/16 | 1,3 | 5 | 12 |  | | on request | | | 03089-4206A5 | D | steel | - | hardened | black grey RAL 7021 | 6 | 1/2-13 | 25 | 51,7 | 20 | 8 | 16 | 6 | 14 | 3/4 | 1,8 | 6 | 14 |  | | on request | | | 03089-4308A6 | D | steel | - | hardened | black grey RAL 7021 | 8 | 5/8-11 | 33 | 68 | 26 | 10 | 21 | 8 | 19 | 15/16 | 2,3 | 15 | 35 |  | | on request | | | 03089-4410A7 | D | steel | - | hardened | black grey RAL 7021 | 10 | 3/4-10 | 33 | 74 | 28 | 12 | 23 | 10 | 22 | 1-1/8 | 2,8 | 15 | 40 |  | | on request | | | 03089-4412AO | D | steel | - | hardened | black grey RAL 7021 | 12 | 3/4-16 | 33 | 78 | 28 | 14 | 25 | 12 | 22 | 1-1/8 | 2,8 | 15 | 39 |  | | on request | | | 03089-4516A8 | D | steel | - | hardened | black grey RAL 7021 | 16 | 1-8 | 40 | 96 | 32 | 18 | 28 | 16 | 27 | 1-1/2 | 3,2 | 20 | 46 |  | | on request | | | 03089-4903AJ84 | D | steel | - | hardened | traffic red RAL 3020 | 3 | 1/4-28 | 14 | 31,5 | 12 | 5 | 10 | 3,5 | 8 | 7/16 | 0,8 | 4,5 | 10 |  | | on request | | | 03089-4004AK84 | D | steel | - | hardened | traffic red RAL 3020 | 4 | 5/16-24 | 18 | 38,5 | 15 | 6 | 13 | 4 | 10 | 1/2 | 1 | 6 | 12 |  | | on request | | | 03089-4105AL84 | D | steel | - | hardened | traffic red RAL 3020 | 5 | 3/8-24 | 21 | 43,5 | 17 | 7 | 15 | 5 | 13 | 9/16 | 1,3 | 5 | 12 |  | | on request | | | 03089-4206A584 | D | steel | - | hardened | traffic red RAL 3020 | 6 | 1/2-13 | 25 | 51,7 | 20 | 8 | 16 | 6 | 14 | 3/4 | 1,8 | 6 | 14 |  | | on request | | | 03089-4308A684 | D | steel | - | hardened | traffic red RAL 3020 | 8 | 5/8-11 | 33 | 68 | 26 | 10 | 21 | 8 | 19 | 15/16 | 2,3 | 15 | 35 |  | | on request | | | 03089-4410A784 | D | steel | - | hardened | traffic red RAL 3020 | 10 | 3/4-10 | 33 | 74 | 28 | 12 | 23 | 10 | 22 | 1-1/8 | 2,8 | 15 | 40 |  | | on request | | | 03089-4412AO84 | D | steel | - | hardened | traffic red RAL 3020 | 12 | 3/4-16 | 33 | 78 | 28 | 14 | 25 | 12 | 22 | 1-1/8 | 2,8 | 15 | 39 |  | | on request | | | 03089-4516A884 | D | steel | - | hardened | traffic red RAL 3020 | 16 | 1-8 | 40 | 96 | 32 | 18 | 28 | 16 | 27 | 1-1/2 | 3,2 | 20 | 46 |  | | on request | | | 03089-04903AJ | D | stainless steel | 1.4034 | hardened | black grey RAL 7021 | 3 | 1/4-28 | 14 | 31,5 | 12 | 5 | 10 | 3,5 | 8 | 7/16 | 0,8 | 4,5 | 10 |  | | on request | | | 03089-04004AK | D | stainless steel | 1.4034 | hardened | black grey RAL 7021 | 4 | 5/16-24 | 18 | 38,5 | 15 | 6 | 13 | 4 | 10 | 1/2 | 1 | 6 | 12 |  | | on request | | | 03089-04105AL | D | stainless steel | 1.4034 | hardened | black grey RAL 7021 | 5 | 3/8-24 | 21 | 43,5 | 17 | 7 | 15 | 5 | 13 | 9/16 | 1,3 | 5 | 12 |  | | on request | | | 03089-04206A5 | D | stainless steel | 1.4034 | hardened | black grey RAL 7021 | 6 | 1/2-13 | 25 | 51,7 | 20 | 8 | 16 | 6 | 14 | 3/4 | 1,8 | 6 | 14 |  | | on request | | | 03089-04308A6 | D | stainless steel | 1.4034 | hardened | black grey RAL 7021 | 8 | 5/8-11 | 33 | 68 | 26 | 10 | 21 | 8 | 19 | 15/16 | 2,3 | 15 | 35 |  | | on request | | | 03089-04410A7 | D | stainless steel | 1.4034 | hardened | black grey RAL 7021 | 10 | 3/4-10 | 33 | 74 | 28 | 12 | 23 | 10 | 22 | 1-1/8 | 2,8 | 15 | 40 |  | | on request | | | 03089-04412AO | D | stainless steel | 1.4034 | hardened | black grey RAL 7021 | 12 | 3/4-16 | 33 | 78 | 28 | 14 | 25 | 12 | 22 | 1-1/8 | 2,8 | 15 | 39 |  | | on request | | | 03089-04516A8 | D | stainless steel | 1.4034 | hardened | black grey RAL 7021 | 16 | 1-8 | 40 | 96 | 32 | 18 | 28 | 16 | 27 | 1-1/2 | 3,2 | 20 | 46 |  | | on request | | | 03089-04903AJ84 | D | stainless steel | 1.4034 | hardened | traffic red RAL 3020 | 3 | 1/4-28 | 14 | 31,5 | 12 | 5 | 10 | 3,5 | 8 | 7/16 | 0,8 | 4,5 | 10 |  | | on request | | | 03089-04004AK84 | D | stainless steel | 1.4034 | hardened | traffic red RAL 3020 | 4 | 5/16-24 | 18 | 38,5 | 15 | 6 | 13 | 4 | 10 | 1/2 | 1 | 6 | 12 |  | | on request | | | 03089-04105AL84 | D | stainless steel | 1.4034 | hardened | traffic red RAL 3020 | 5 | 3/8-24 | 21 | 43,5 | 17 | 7 | 15 | 5 | 13 | 9/16 | 1,3 | 5 | 12 |  | | on request | | | 03089-04206A584 | D | stainless steel | 1.4034 | hardened | traffic red RAL 3020 | 6 | 1/2-13 | 25 | 51,7 | 20 | 8 | 16 | 6 | 14 | 3/4 | 1,8 | 6 | 14 |  | | on request | | | 03089-04308A684 | D | stainless steel | 1.4034 | hardened | traffic red RAL 3020 | 8 | 5/8-11 | 33 | 68 | 26 | 10 | 21 | 8 | 19 | 15/16 | 2,3 | 15 | 35 |  | | on request | | | 03089-04410A784 | D | stainless steel | 1.4034 | hardened | traffic red RAL 3020 | 10 | 3/4-10 | 33 | 74 | 28 | 12 | 23 | 10 | 22 | 1-1/8 | 2,8 | 15 | 40 |  | | on request | | | 03089-04412AO84 | D | stainless steel | 1.4034 | hardened | traffic red RAL 3020 | 12 | 3/4-16 | 33 | 78 | 28 | 14 | 25 | 12 | 22 | 1-1/8 | 2,8 | 15 | 39 |  | | on request | | | 03089-04516A884 | D | stainless steel | 1.4034 | hardened | traffic red RAL 3020 | 16 | 1-8 | 40 | 96 | 32 | 18 | 28 | 16 | 27 | 1-1/2 | 3,2 | 20 | 46 |  | | on request | | | 03089-14903AJ | D | stainless steel | 1.4305 | not hardened | black grey RAL 7021 | 3 | 1/4-28 | 14 | 31,5 | 12 | 5 | 10 | 3,5 | 8 | 7/16 | 0,8 | 4,5 | 10 |  | | on request | | | 03089-14004AK | D | stainless steel | 1.4305 | not hardened | black grey RAL 7021 | 4 | 5/16-24 | 18 | 38,5 | 15 | 6 | 13 | 4 | 10 | 1/2 | 1 | 6 | 12 |  | | on request | | | 03089-14105AL | D | stainless steel | 1.4305 | not hardened | black grey RAL 7021 | 5 | 3/8-24 | 21 | 43,5 | 17 | 7 | 15 | 5 | 13 | 9/16 | 1,3 | 5 | 12 |  | | on request | | | 03089-14206A5 | D | stainless steel | 1.4305 | not hardened | black grey RAL 7021 | 6 | 1/2-13 | 25 | 51,7 | 20 | 8 | 16 | 6 | 14 | 3/4 | 1,8 | 6 | 14 |  | | on request | | | 03089-14308A6 | D | stainless steel | 1.4305 | not hardened | black grey RAL 7021 | 8 | 5/8-11 | 33 | 68 | 26 | 10 | 21 | 8 | 19 | 15/16 | 2,3 | 15 | 35 |  | | on request | | | 03089-14410A7 | D | stainless steel | 1.4305 | not hardened | black grey RAL 7021 | 10 | 3/4-10 | 33 | 74 | 28 | 12 | 23 | 10 | 22 | 1-1/8 | 2,8 | 15 | 40 |  | | on request | | | 03089-14412AO | D | stainless steel | 1.4305 | not hardened | black grey RAL 7021 | 12 | 3/4-16 | 33 | 78 | 28 | 14 | 25 | 12 | 22 | 1-1/8 | 2,8 | 15 | 39 |  | | on request | | | 03089-14516A8 | D | stainless steel | 1.4305 | not hardened | black grey RAL 7021 | 16 | 1-8 | 40 | 96 | 32 | 18 | 28 | 16 | 27 | 1-1/2 | 3,2 | 20 | 46 |  | | on request | | | 03089-14903AJ84 | D | stainless steel | 1.4305 | not hardened | traffic red RAL 3020 | 3 | 1/4-28 | 14 | 31,5 | 12 | 5 | 10 | 3,5 | 8 | 7/16 | 0,8 | 4,5 | 10 |  | | on request | | | 03089-14004AK84 | D | stainless steel | 1.4305 | not hardened | traffic red RAL 3020 | 4 | 5/16-24 | 18 | 38,5 | 15 | 6 | 13 | 4 | 10 | 1/2 | 1 | 6 | 12 |  | | on request | | | 03089-14105AL84 | D | stainless steel | 1.4305 | not hardened | traffic red RAL 3020 | 5 | 3/8-24 | 21 | 43,5 | 17 | 7 | 15 | 5 | 13 | 9/16 | 1,3 | 5 | 12 |  | | on request | | | 03089-14206A584 | D | stainless steel | 1.4305 | not hardened | traffic red RAL 3020 | 6 | 1/2-13 | 25 | 51,7 | 20 | 8 | 16 | 6 | 14 | 3/4 | 1,8 | 6 | 14 |  | | on request | | | 03089-14308A684 | D | stainless steel | 1.4305 | not hardened | traffic red RAL 3020 | 8 | 5/8-11 | 33 | 68 | 26 | 10 | 21 | 8 | 19 | 15/16 | 2,3 | 15 | 35 |  | | on request | | | 03089-14410A784 | D | stainless steel | 1.4305 | not hardened | traffic red RAL 3020 | 10 | 3/4-10 | 33 | 74 | 28 | 12 | 23 | 10 | 22 | 1-1/8 | 2,8 | 15 | 40 |  | | on request | | | 03089-14412AO84 | D | stainless steel | 1.4305 | not hardened | traffic red RAL 3020 | 12 | 3/4-16 | 33 | 78 | 28 | 14 | 25 | 12 | 22 | 1-1/8 | 2,8 | 15 | 39 |  | | on request | | | 03089-14516A884 | D | stainless steel | 1.4305 | not hardened | traffic red RAL 3020 | 16 | 1-8 | 40 | 96 | 32 | 18 | 28 | 16 | 27 | 1-1/2 | 3,2 | 20 | 46 |  | | on request | |
|
Other items in this category |
|
|