norelem 使用 Cookies 以优化设计和持续改进网页。您通过继续使用网页,同意使用 Cookies。在我们的数据保护声明中可以找到有关 Cookies 主题的详细信息。同意
支脚,带埋头螺栓 DIN 6320(1971 年发行)
02030

支脚,带埋头螺栓 DIN 6320(1971 年发行)

返回

商品描述/产品说明

查看/筛选所有商品
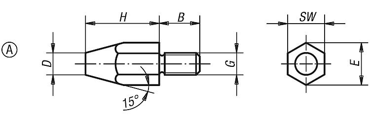
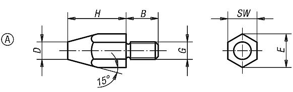
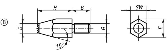
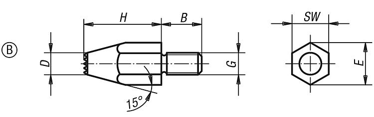
产品说明材料:调制钢。规格:黑色氧化处理。提示:定位销 02010 和 02020 可同样用作支脚。图纸提示:
A 型: 光滑支撑面
B 型: 硬质合金齿面
特点:
RoHS
下载此处为收集信息的 PDF:

查找 CAD 数据?请直接在产品列表中查找。
 Datasheet 02030 支脚,带埋头螺栓 DIN 6320(1971 年发行) 175 kB

图片(总概述)

支脚,带埋头螺栓 DIN 6320(1971 年发行)

支脚,带埋头螺栓,A 型,带光滑支撑面

更多信息

图纸

支脚,带埋头螺栓,A 型,带光滑支撑面

商品选择/筛选

订货号类型D

GHBESWCAD配件价格订购
02030-06A8M6101111,510 根据要求
02030-061A6M6201111,510 根据要求
02030-08A10M815131513 根据要求
02030-081A9M830131513 根据要求
02030-10A13M10201619,617 根据要求
02030-101A13M10401619,617 根据要求
02030-12A15M12252021,919 根据要求
02030-121A15M12502021,919 根据要求

支脚,带埋头螺栓,B 型,带硬质合金齿面

更多信息

图纸

支脚,带埋头螺栓,B 型,带硬质合金齿面

商品选择/筛选

订货号类型D

GHBESWCAD配件价格订购
02030-083B11,5M815131513 根据要求
02030-123B15M12252021,919 根据要求
我的 norelemE-Mail密码
购物车
商品数量: 0
总数: 0.00  
点击购物车
欢迎扫描二维码
咨询诺瑞朗官方客服微信
中国
苏ICP备20011289号-1  苏公网安备32058502011222 网页地图 打印 推荐 Top
Copyright © 2025 norelem. 保留所有权利。 电话 +49 71 45/206-44 至 45 · 传真 +49 71 45/206-83