|
|
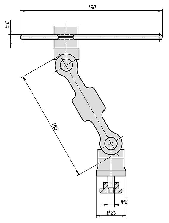
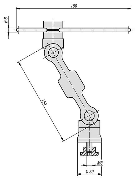
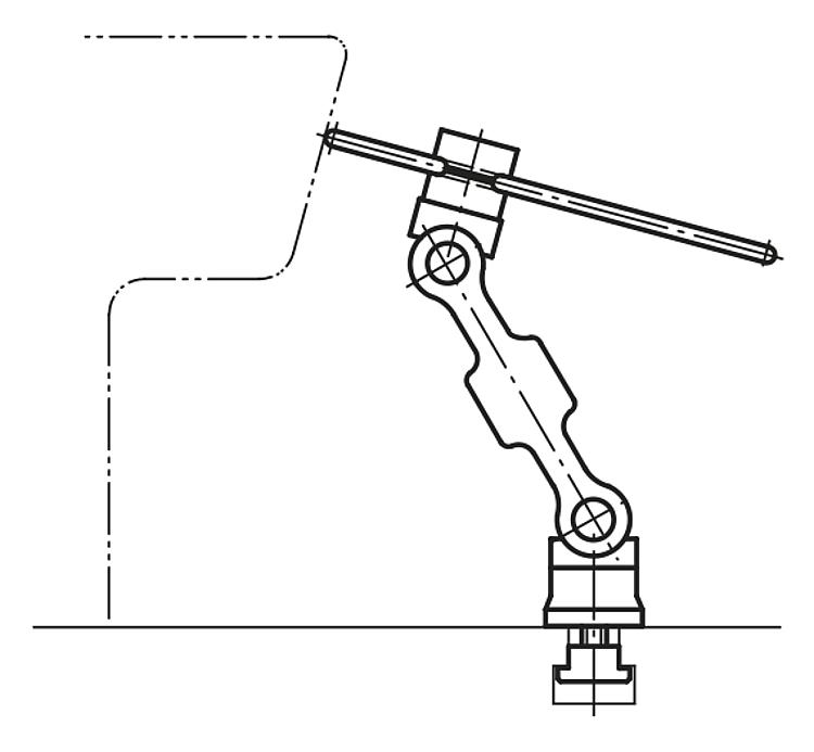
产品说明材料:夹紧接头材质为高强度铝。 轴螺栓、支撑盘和止动杆为钢制。规格:夹紧接头经蓝色和褐色阳极氧化处理。 轴螺栓、支撑盘和止动杆经黑色氧化处理。提示:5轴夹具主要充当在加工机床上定位或进行安装作业时的多用器械。其可以在 5 个轴上快速和灵活地无级调节。 完整供货包括 T 型内嵌块 M8x12 和六角扳手。根据要求:用于组合多个 5轴夹具的连接元件。特点: 下载此处为收集信息的 PDF:
查找 CAD 数据?请直接在产品列表中查找。
|
| 订货号 | 尺寸 | CAD | 配件 | 价格 | 订购 |
|---|
| 03088-15012 | 150 |  | | 根据要求 | |
|
|