norelem 使用 Cookies 以优化设计和持续改进网页。您通过继续使用网页,同意使用 Cookies。在我们的数据保护声明中可以找到有关 Cookies 主题的详细信息。同意
带偏心件的 侧方夹紧块
04515

带偏心件的 侧方夹紧块

返回

商品描述/产品说明

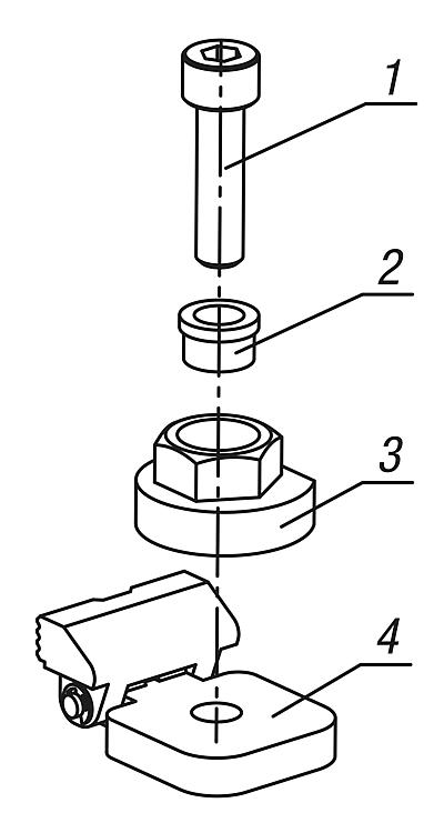
产品说明材料:调制钢。规格:黑色氧化处理。装配:1. 将定位螺栓插入轴环衬套,夹紧偏心件和夹紧单元,并将其牢固地拧入基板上。
2. 用开口扳手拧紧夹紧偏心件,夹紧工件。
优点:- 紧凑型设计
- 快速简便地夹紧部件
- 下拉功能
图纸提示:
1) 定位螺栓
2) 轴环衬套
3) 夹紧偏心件
4) 夹紧单元
特点:
RoHS
下载此处为收集信息的 PDF:

查找 CAD 数据?请直接在产品列表中查找。
 Datasheet 04515 带偏心件的 侧方夹紧块 387 kB

图纸

带偏心件的 侧方夹紧块
带偏心件的 侧方夹紧块

商品选择/筛选

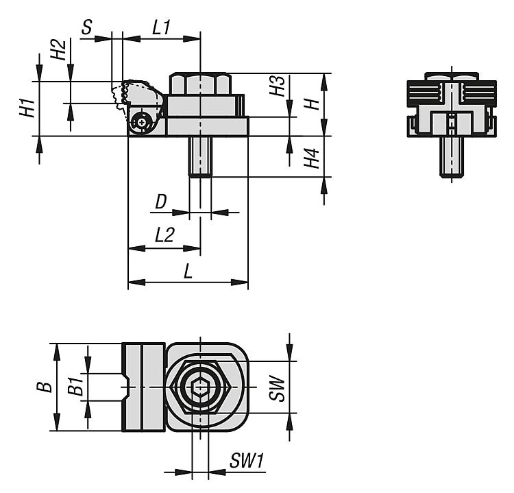
订货号BB1D

HH1H2H3H4LL1L2SWSW1行程
S
夹紧力
kN
锁紧扭矩
max. Nm
CAD配件价格订购
04515-0813210M8232087154428,526,519643,545 根据要求
04515-1014012M1029251091654353324855,555 根据要求
04515-1214614M1235301211176239,537,527105,5770 根据要求
我的 norelemE-Mail密码
购物车
商品数量: 0
总数: 0.00  
点击购物车
欢迎扫描二维码
咨询诺瑞朗官方客服微信
中国
苏ICP备20011289号-1  苏公网安备32058502011222 网页地图 打印 推荐 Top
Copyright © 2025 norelem. 保留所有权利。 电话 +49 71 45/206-44 至 45 · 传真 +49 71 45/206-83