norelem 使用 Cookies 以优化设计和持续改进网页。您通过继续使用网页,同意使用 Cookies。在我们的数据保护声明中可以找到有关 Cookies 主题的详细信息。同意
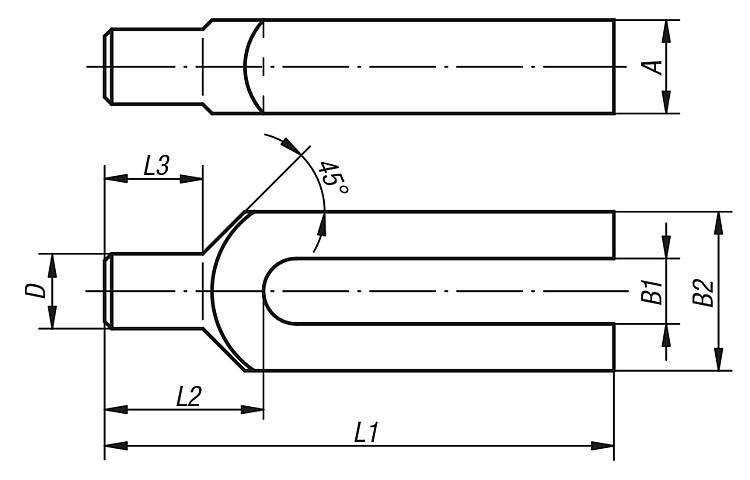
夹紧块,叉形,圆柱销,钢制和铝制,DIN 6315 C
04150

夹紧块,叉形,圆柱销,钢制和铝制,DIN 6315 C

返回

商品描述/产品说明

产品说明材料:调质钢或 EN AW-7022。规格:经喷漆处理,铝制,亮色。提示:使用球面垫圈 07420 时要使用 G 型。

夹持力说明仅适用钢制规格。
特点:
RoHS
下载此处为收集信息的 PDF:

查找 CAD 数据?请直接在产品列表中查找。
 Datasheet 04150 夹紧块,叉形,圆柱销,钢制和铝制,DIN 6315 C 169 kB

图纸

夹紧块,叉形,圆柱销,钢制和铝制,DIN 6315 C

商品选择/筛选

订货号

主体
材料
L1A

B1B2D

L2L3适用
螺栓
夹紧力
kN
CAD配件价格订购
04150-08调质钢10015930123018M88,77 根据要求
04150-10调质钢125201130163624M1013,9 根据要求
04150-12调质钢160251440204530M12/M1420,2 根据要求
04150-121调质钢200251440204530M12/M1420,2 根据要求
04150-16调质钢200301850245536M16/M1837,8 根据要求
04150-161调质钢250301850245536M16/M1837,8 根据要求
04150-20调质钢250402260306545M20/M2258,8 根据要求
04150-201调质钢315402260306545M20/M2258,8 根据要求
我的 norelemE-Mail密码
购物车
商品数量: 0
总数: 0.00  
点击购物车
欢迎扫描二维码
咨询诺瑞朗官方客服微信
中国
苏ICP备20011289号-1  苏公网安备32058502011222 网页地图 打印 推荐 Top
Copyright © 2025 norelem. 保留所有权利。 电话 +49 71 45/206-44 至 45 · 传真 +49 71 45/206-83