norelem 使用 Cookies 以优化设计和持续改进网页。您通过继续使用网页,同意使用 Cookies。在我们的数据保护声明中可以找到有关 Cookies 主题的详细信息。同意

商品描述/产品说明

产品说明材料:压铸锌制把手符合 DIN EN 12844.
定位销和夹紧楔采用钢制 1.0715.
固定环采用钢制.
规格:黑色把手经塑料涂层处理。
定位销和固定环采用磷化处理。
夹紧楔经黑色氧化处理。
激光刻印标度。
提示:当拧紧螺栓或转动锁紧手柄时会将孔中的两个夹紧楔夹紧。通过无级可调的固定环可牢固固定住一个或多个不同厚度的止挡元件。应用:夹紧销非常适合固定常规的止挡元件,还适用于不同材料厚度、孔径为 16 mm 或 28 mm 的栅格台/焊接台。优点:无级可调夹紧范围从 0-36 mm 到 0-75 mm。
不会受到孔径和孔表面质量的影响(最大 H12)。
夹紧范围可预先通过标度稍作调整。
孔内夹紧保护表面。
当台板材料厚度很薄时也可达到下拉效果(≥8 mm 或 ≥4 mm)。
可与常规的止挡元件兼容。
特点:
RoHS
下载此处为收集信息的 PDF:

查找 CAD 数据?请直接在产品列表中查找。
 Datasheet 04753 钢制夹紧销 778 kB

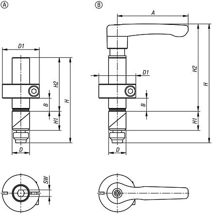
图片(总概述)

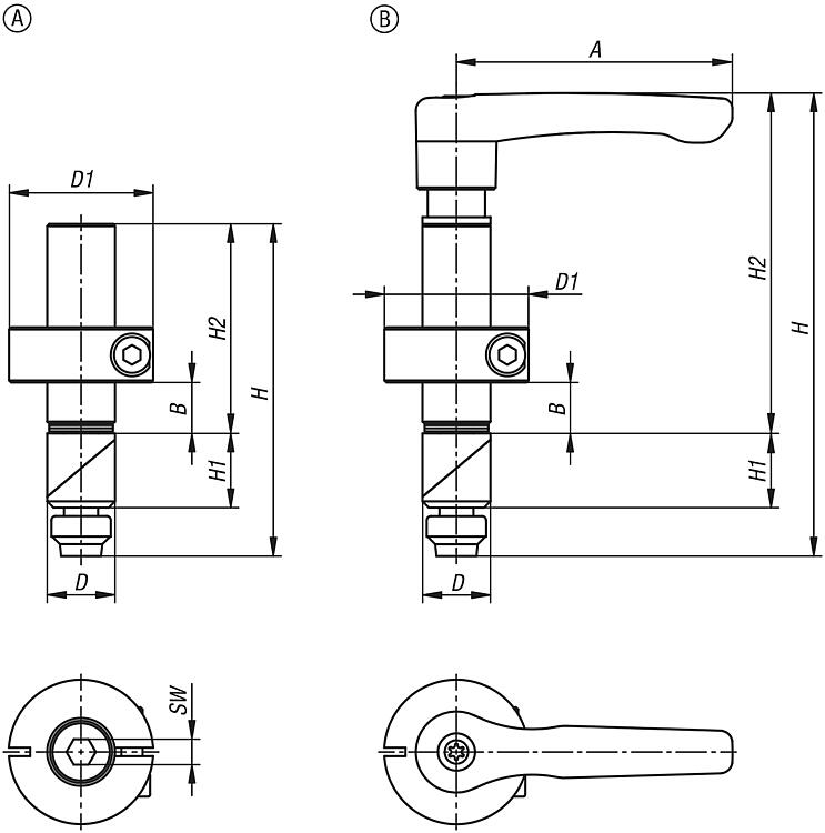
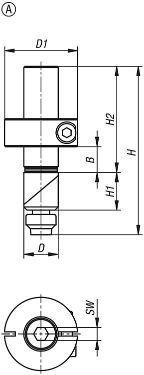
钢制夹紧销

钢制夹紧销,A 型

更多信息

图纸

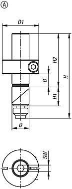
钢制夹紧销,A 型

商品选择/筛选

订货号类型D

D1HH1H2SWB
夹紧范围
CAD配件价格订购
04753-0016A16347817,54960-36 根据要求
04753-0028A2848129289060-75 根据要求

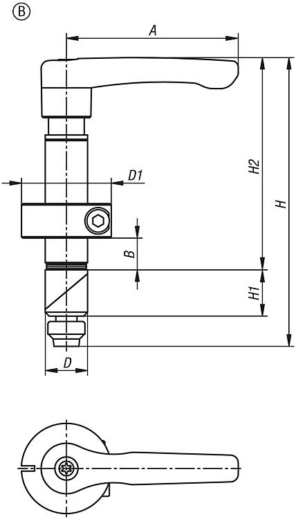
钢制夹紧销,B 型

更多信息

图纸

钢制夹紧销,B 型

商品选择/筛选

订货号类型AD

D1HH1H2B
夹紧范围
CAD配件价格订购
04753-0116B65163410917,5800-36 根据要求
04753-0128B802848168281290-75 根据要求
我的 norelemE-Mail密码
购物车
商品数量: 0
总数: 0.00  
点击购物车
欢迎扫描二维码
咨询诺瑞朗官方客服微信
中国
苏ICP备20011289号-1  苏公网安备32058502011222 网页地图 打印 推荐 Top
Copyright © 2025 norelem. 保留所有权利。 电话 +49 71 45/206-44 至 45 · 传真 +49 71 45/206-83