norelem 使用 Cookies 以优化设计和持续改进网页。您通过继续使用网页,同意使用 Cookies。在我们的
数据保护声明
中可以找到有关 Cookies 主题的详细信息。
同意
全球分布
创意
AGB
版权说明
数据保护
产品
企业信息
服务
下载
新闻
联系方式
产品概览
固定
灵活的标准件系统
装配
装配系统
运动
用于机床和设备制造的系统/组件
检查
量具检具组件
夹紧
夹紧技术
控制和调节
电动机构
输送
输送和移动技术
technoshop
norelem inch
英制产品目录
05596-40
带按钮的塑料弹簧锁 卡入式
返回
产品
产品概览
灵活的标准件系统
快速夹钳、 气动夹钳、 夹钳配件、 搭扣、 旋转锁销
弹簧锁
带按钮的塑料弹簧锁 卡入式
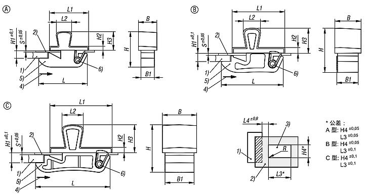
商品描述/产品说明
产品说明
材料:
锁闩 PC/ABS.
不锈钢制弹簧 1.4310。
规格:
黑色锁闩。
亮色弹簧。
提示:
弹簧锁设计适用于门、活门和护盖中。
提供三种不同的尺寸,适用于不同的门板厚度。
可燃性:请参见 UL94-HB 所列。
使用说明:
推动把手,将锁闩置于打开位置,即可打开门。借助弹簧,关紧门后会自动确保锁闭。
应用:
- 汽车行业
- 医疗技术
- 机械制造
- 设备制造
- 工业柜
装配:
1. 根据图纸制造无毛刺的安装切口。
2. 将锁闩的前部推入至切口中并向前按压。
3. 向下按压锁闩以啮合。
图纸提示:
1) 框架
2) 门板
3) 安装切口
4) 操作方向
5) 锁闩
6) 弹簧
特点:
下载
此处为收集信息的 PDF:
查找 CAD 数据?请直接在产品列表中查找。
Datasheet 05596-40 带按钮的塑料弹簧锁 卡入式
337 kB
图纸
商品选择/筛选
订货号
类型
B
B1
H
H1=总固定范围
H2
H3
H4
L
L1
L2
L3
L4
R
最大运行载荷,
单位为 N
温度范围
°C
S=门板厚度,
单位为 mm
CAD
配件
价格
订购
05596-40-211060
A
6
4,4
11,6
2,2
1,3
6,1
4,57
15,9
12,75
5
8,33
4,8
max. 0,1
25
-40 bis 60
0,6
根据要求
05596-40-215090
B
9,5
7,8
15,5
2,65
2,1
9,1
8,2
22,5
19,05
6,3
12,7
6,4
max. 0,1
90
-40 bis 60
0,8
根据要求
05596-40-222160
C
16,5
14
23,1
4,5
2,6
13,6
14,3
36
30
10,3
22,2
9,5
max. 0,1
130
-40 bis 60
1
根据要求
本类目的其他商品
<<
|
<
|
1-10
|
11-12
|
>
|
>>
05596
锌制脱扣器
05596-01
鲍登电缆
05596-05
弹簧锁不锈钢 带把手, 可折叠
05596-06
带 Bowden 电缆连接和手柄的不锈钢弹簧锁,可折叠
05596-10
带按钮的塑料弹簧锁
折叠式
05596-30
钢质或不锈钢弹簧锁,带把手,铰链式,安装时带安装支架
05596-31
钢或不锈钢弹簧锁,带把手,铰链式
05596-32
带把手的钢弹簧锁,铰链式
05596-42
带手扣斗的塑料弹簧锁,可啮合
05596-44
带手扣斗的塑料弹簧锁,可啮合
<<
|
<
|
1-10
|
11-12
|
>
|
>>
我的 norelem
E-Mail
密码
忘记密码
首次登陆
购物车
商品数量:
0
总数:
0.00
€
点击购物车
欢迎扫描二维码
咨询诺瑞朗官方客服微信
Algérie
Andorra
Argentina
Australia
België
Bolivia
Bosna i Hercegovina
Brasil
Canada
Česká republika
Chile
中国
Colombia
Costa Rica
Cuba
Danmark
Dem. Peop. Rep. of Korea
Deutschland
Ecuador
Eesti
España
Georgia
香港
Hrvatska
India
Ireland
Ísland
Italia
Jamaica
日本
Latvija
Liechtenstein
Lietuvos
Luxemburg
Magyarország
Malaysia
Malta
México
Nederland
New Zealand
Norge
Österreich
Pakistan
Paraguay
Perú
Polska
Portugal
Principauté de Monaco
台灣
Rep. di San Marino
대한민국
România
Schweiz
Singapore
Slovenija
Slovensko
South Africa
Suomi
Sverige
Türkiye
United Kingdom
United States of America
Uruguay
Venezuela
Việt Nam
Ελλάδα
Κύπρος
Беларусь
България
Република Србија
Россия
Србија и Црна Гора
Україна
ישראל
الامارات العربية المتحدة
السعودية
ايران
مصر
ประเทศไทย
Chinese
English
苏ICP备20011289号-1
苏公网安备32058502011222
网页地图
打印
推荐
Top
Copyright © 2025 norelem. 保留所有权利。
电话 +49 71 45/206-44 至 45 · 传真 +49 71 45/206-83