norelem 使用 Cookies 以优化设计和持续改进网页。您通过继续使用网页,同意使用 Cookies。在我们的数据保护声明中可以找到有关 Cookies 主题的详细信息。同意
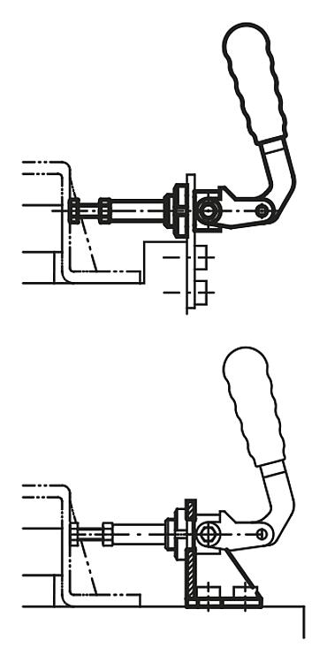
快速夹钳 推拉式推杆型, 支架安装
05170

快速夹钳 推拉式 推杆型, 支架安装

返回

商品描述/产品说明

产品说明材料:主体及推杆为调制钢1.0501,
拉手支架为DD11 1.0332。
规格:主体及杠杆镀锌;
轴销热处理;
耐油塑料手柄。
提示:夹钳可通过支架安装或直接用前端螺纹安装至夹具。特点:
RoHS
下载此处为收集信息的 PDF:

查找 CAD 数据?请直接在产品列表中查找。
 Datasheet 05170 快速夹钳 推拉式推杆型, 支架安装 150 kB
 快速夹钳技术资料 250 kB

快速夹钳

更多信息

商品选择/筛选

订货号L

L1L2L3L4L5L6L7L8HH1H2M=压杆D1D2S1行程
S
F
kN
塑料把手

CAD配件价格订购
05170-01026524234131513018201012020M6x3010M16x1,5626105200-205  根据要求
05170-01232756050201817030301392528M8x4012M20x1,58401,505200-120  根据要求
05170-016401059278352021360351553244M10x5016M27x1,58703,505200-135  根据要求

支架

更多信息

商品选择/筛选

订货号L

L1L2L3L4L5L6BB1HH1H2AA1D

D1D2S1适用快速夹钳

CAD配件价格订购
05170-11054217113--322742,52614-14176,55,5405170-010 根据要求
05170-11267387135302041325537161921216,56,5405170-012 根据要求
我的 norelemE-Mail密码
购物车
商品数量: 0
总数: 0.00  
点击购物车
欢迎扫描二维码
咨询诺瑞朗官方客服微信
中国
苏ICP备20011289号-1  苏公网安备32058502011222 网页地图 打印 推荐 Top
Copyright © 2025 norelem. 保留所有权利。 电话 +49 71 45/206-44 至 45 · 传真 +49 71 45/206-83