norelem 使用 Cookies 以优化设计和持续改进网页。您通过继续使用网页,同意使用 Cookies。在我们的数据保护声明中可以找到有关 Cookies 主题的详细信息。同意
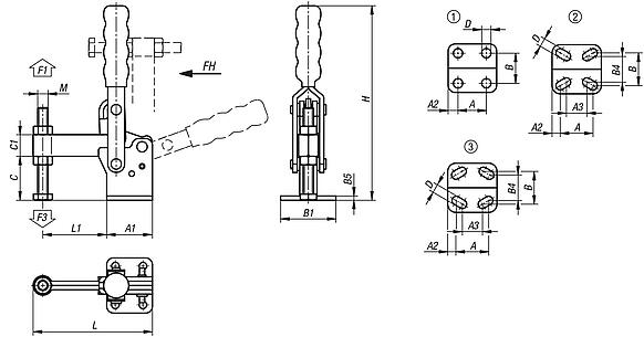
垂直压紧式快速夹钳,带平底座和固定压杆
05720-01

垂直压紧式快速夹钳,带平底座和固定压杆

返回

商品描述/产品说明

产品说明材料:钢制。规格:镀锌和钝化处理。
压杆及螺母经磷化处理。
耐油塑料手柄。
提示:05720-01-00800 规格随供有一个氯丁橡胶压垫。附件:05240
05241
05260
05885-01
05887-01
05888
05280
05880-01
特点:
RoHS
下载此处为收集信息的 PDF:

查找 CAD 数据?请直接在产品列表中查找。
 Datasheet 05720-01 垂直压紧式快速夹钳,带平底座和固定压杆 370 kB

图纸

垂直压紧式快速夹钳,带平底座和固定压杆

商品选择/筛选

订货号安装孔压把转角把手转角把手施力
FH
N
夹持力
F1
N
夹紧力
F3
N
CAD配件价格订购
05720-01-00800296°69°50800600 根据要求
05720-01-015003108°70°10015001000 根据要求
05720-01-02400190°70°15024001200 根据要求
05720-01-03400190°70°20034001600 根据要求
05720-01-04400190°70°25044001600 根据要求
05720-01-054001100°50°28054001800 根据要求
订货号A

A1A2A3BB1B4B5CC1D

HLL1MCAD配件价格订购
05720-01-0080016296,514243417,52,521,810,54,89766,731,5M5x35 根据要求
05720-01-015001935812,7274225329135,513575,735M6x50 根据要求
05720-01-0240019358-3247-33217,57,117887,745,5M08x65 根据要求
05720-01-0340032509-4564-442228,3218124,365M10x80 根据要求
05720-01-04400325310-4564-551258,7226138,374M12x100 根据要求
05720-01-0540050,876,212,7-69,895,2-882,131,812,3303197,5107,8M16x150 根据要求
我的 norelemE-Mail密码
购物车
商品数量: 0
总数: 0.00  
点击购物车
欢迎扫描二维码
咨询诺瑞朗官方客服微信
中国
苏ICP备20011289号-1  苏公网安备32058502011222 网页地图 打印 推荐 Top
Copyright © 2025 norelem. 保留所有权利。 电话 +49 71 45/206-44 至 45 · 传真 +49 71 45/206-83