norelem 使用 Cookies 以优化设计和持续改进网页。您通过继续使用网页,同意使用 Cookies。在我们的数据保护声明中可以找到有关 Cookies 主题的详细信息。同意
水平钢制推杆夹钳
夹持力可达 3000 N
05837-20

水平钢制推杆夹钳 夹持力可达 3000 N

返回

商品描述/产品说明

查看/筛选所有商品
产品说明材料:钢制。规格:钢制镀锌。
耐油塑料手柄。
提示:夹钳锁定在封闭的把手位置。
因此,仅用于拉紧。
特点:
RoHS
下载此处为收集信息的 PDF:

查找 CAD 数据?请直接在产品列表中查找。
 Datasheet 05837-20 水平钢制推杆夹钳 夹持力可达 3000 N 370 kB

图片(总概述)

水平钢制推杆夹钳
夹持力可达 3000 N
水平钢制推杆夹钳
夹持力可达 3000 N

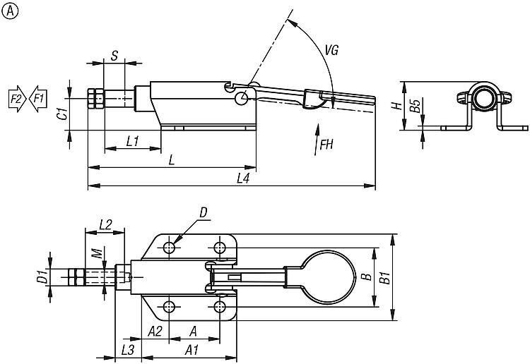
水平钢制推杆夹钳,夹持力可达 3000 N,A 型

更多信息

图纸

水平钢制推杆夹钳,夹持力可达 3000 N,A 型

商品选择/筛选

订货号类型A

A1A2BB1B5C1D

D1H行程
S
LL1L2L3L4M把手转角把手施力
FH
N
夹紧力
F1
N
夹持力
F2
N
CAD配件价格订购
05837-20-00500A24451328412155,28231072,127,11912,5128,5M5x1566°40400500 根据要求

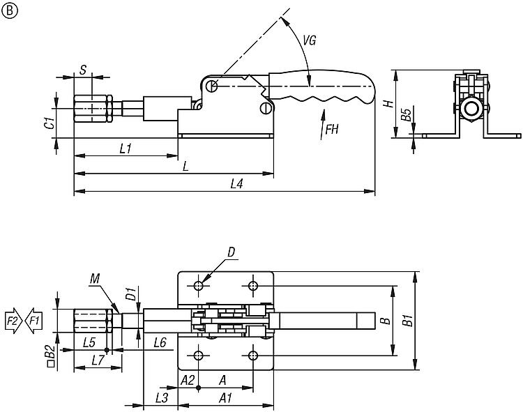
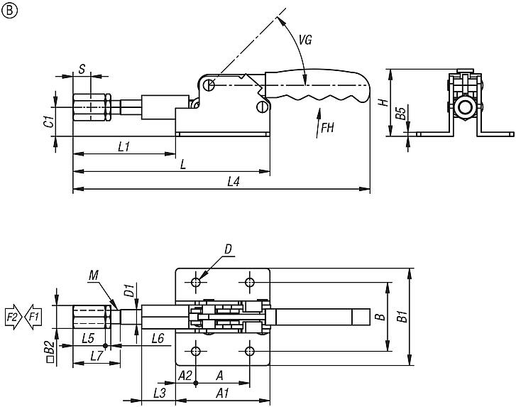
水平钢制推杆夹钳,夹持力可达 3000 N,B 型

更多信息

图纸

水平钢制推杆夹钳,夹持力可达 3000 N,B 型

商品选择/筛选

订货号类型A

A1A2BB1B5C1D

D1H行程
S
LL1L3L4L5L6L7SWM把手转角把手施力
FH
N
夹紧力
F1
N
夹持力
F2
N
CAD配件价格订购
05837-20-01600B4070155172321,56,310,950121467625,12202443517M1045°5012001600 根据要求

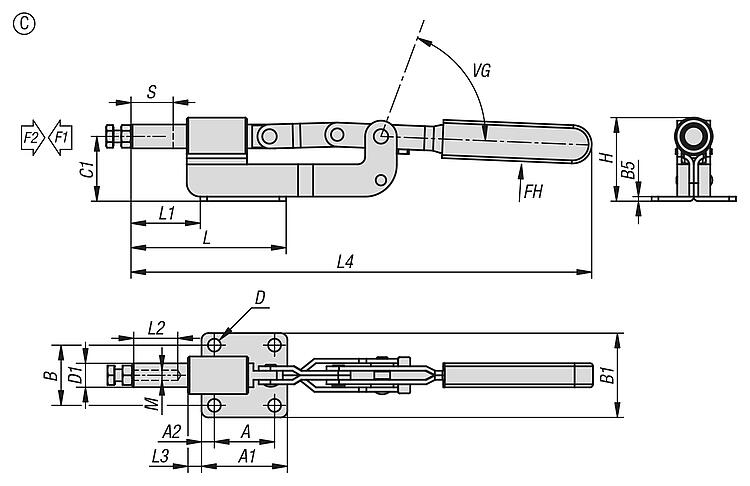
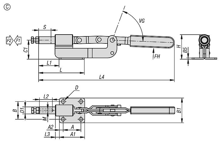
水平钢制推杆夹钳,夹持力可达 3000 N,C 型

更多信息

图纸

水平钢制推杆夹钳,夹持力可达 3000 N,C 型

商品选择/筛选

订货号类型A

A1A2BB1B5C1D

D1H行程
S
LL1L2L3L4M把手转角把手施力
FH
N
夹紧力
F1
N
夹持力
F2
N
CAD配件价格订购
05837-20-03000C40578,540563438,515,955,52810346369306M8x3072°6015003000 根据要求
我的 norelemE-Mail密码
购物车
商品数量: 0
总数: 0.00  
点击购物车
欢迎扫描二维码
咨询诺瑞朗官方客服微信
中国
苏ICP备20011289号-1  苏公网安备32058502011222 网页地图 打印 推荐 Top
Copyright © 2025 norelem. 保留所有权利。 电话 +49 71 45/206-44 至 45 · 传真 +49 71 45/206-83