|
|
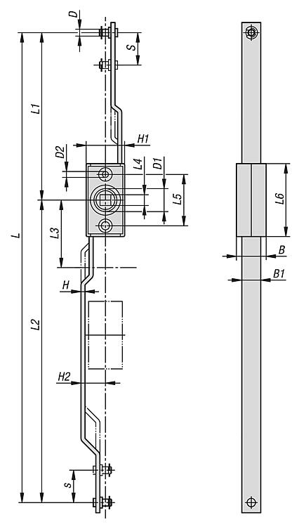
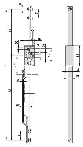
产品说明材料:锌制或塑料杆锁。提示:扁平杆的杆锁可与塑料摇杆 (05600-02) 结合安装,例如用于安全锁定控制柜。可实现两点式和三点式锁定系统。附件:05600-02 塑料摇杆。 05601-11 用于锌制舌簧的衬套。特点: 下载此处为收集信息的 PDF:
查找 CAD 数据?请直接在产品列表中查找。
|
| 订货号 | 主体 材料 | B | B1 | B2 | D
| D1 | H | H1 | H2 | L | L1 | L2 | L3 | L4 | L5 | L6 | 行程 S | CAD | 配件 | 价格 | 订购 |
|---|
| 05601-22-0348 | 聚酰胺 | 3 | 28,5 | 18 | 5 | 17 | 24 | 22 | 14 | 348 | 124 | 224 | 50 | 8 | 38 | 54 | 24 |  | | 根据要求 | | | 05601-22-1348 | 锌制 | 3 | 28,5 | 18 | 5 | 17 | 24 | 22 | 14 | 348 | 124 | 224 | 50 | 8 | 38 | 54 | 24 |  | | 根据要求 | |
|
|