|
|
|
21702位置指示器,准绝对式,不依赖电源,显示精度 10 µm |
返回 |
|
|
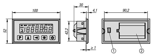
产品说明材料:塑料壳体。 观察窗 LCD 显示器。规格:带内置电池仓的位置指示器。 可插拔传感器。 带英制小数和分数功能的低电量 LCD 指示灯。提示:独立于电网的数字测量显示器用于无间隙的定位测量。 该系统通常用于工业和手工业领域的长度和角度止动器的测量任务(推台锯、钣金冲压机、折弯机...)。 配电盘附装件适用建议尺寸 92+0.8 x 45+0.6。 角度显示是可编程的。 显示区域高度是~13mm,刻度范围是 -1999999 至 1999999。 最大显示精度以十进制表示为 10 µm,Brunch-Inch 达 1/64 英寸。 位置显示器具有一个电池缓冲存储器和一个带低电量指示符号的电池监视装置(<1.1V)。 通过电池仓可以方便地更换电池。 它使用 2 节 Mignon-AA 电池供电(不属于供货范围)。技术参数:- 分辨率 0.01; 0.05; 0.1; 1 mm/ 0.001; 0.01; 1/16; 1/32; 1/64 英寸 - 系统精度 ±(0.1 + 0.01 x L) mm,长度,单位:米 - 工作电压 3 V DC, 反极性保护 - 功耗:在 3 V DC 时为 220 µA - 重复精度 ±0.01mm - 最大运行速度 5 m/s - EMV EN 61000-6-2; EN 61000-6-4 - 防护等级 IP 40,整机 - 防护等级 IP 54,前端温度范围:- 环境温度 0…60 °C - 存放温度 -10…70 °C装配:安装应根据随附的用户信息进行。功能:- 链条尺寸和复位功能 - 参考/偏移值直接输入附件:- 磁性传感器 21720 - 磁带 21725 - 空心轴传感器 21730说明:相对空气湿度允许的最大值为 95% 。不允许结露。图纸提示:特点: 下载此处为收集信息的 PDF:
查找 CAD 数据?请直接在产品列表中查找。
|
订货号 | 名称 | CAD | 配件 | 价格 | 订购 |
|---|
| 21702-01 | 位置指示器 |  | | 根据要求 | |
|
|