norelem 使用 Cookies 以优化设计和持续改进网页。您通过继续使用网页,同意使用 Cookies。在我们的数据保护声明中可以找到有关 Cookies 主题的详细信息。同意

商品描述/产品说明

查看/筛选所有商品
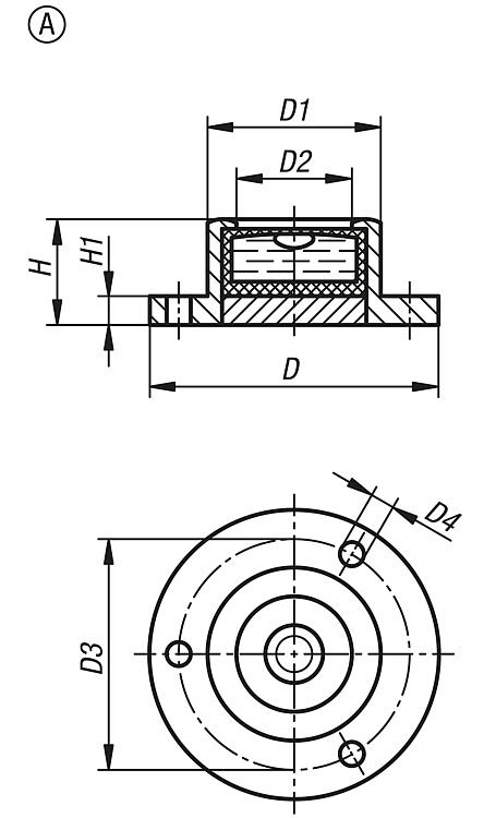
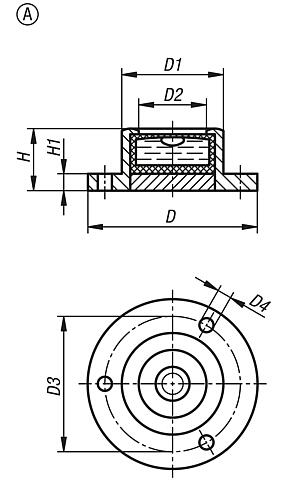
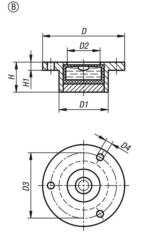
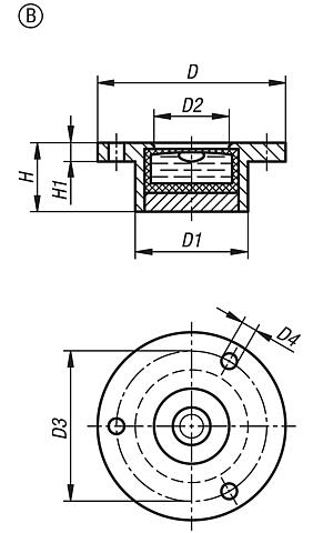
产品说明材料:黄铜底座。
盒式水准仪主体为聚酰胺。
规格:经镀镍和高光泽抛光处理。提示:水准仪作为零位指示器或用于检查水平位置,例如用于洒水车、倾斜仪、测量仪表和机械制造。盒式水准仪可以通过三个孔旋拧固定(A 型)或嵌入(B 型)。
- A 型:对齐磨平底面
- B 型:对齐法兰底面
- 水准仪刻度距离 2 mm,角分级灵敏度
- 填充清晰
- 黑色对比环
- 白色水准仪面
温度范围:-35 °C 至 +55 °C。特点:
RoHS
下载此处为收集信息的 PDF:

查找 CAD 数据?请直接在产品列表中查找。
 Datasheet 21800 盒式水准仪 旋拧底座 225 kB

图片(总概述)

盒式水准仪 旋拧底座

盒式水准仪,旋拧底座,A 型,带螺栓法兰

更多信息

图纸

盒式水准仪,旋拧底座,A 型,带螺栓法兰

商品选择/筛选

订货号类型D

D1D2D3D4HH1灵敏CAD配件价格订购
21800-1141030A201410171,6101,830' 根据要求
21800-1171030A25171221210230' 根据要求
21800-1181130A301812242,511330' 根据要求
21800-1281430A40282034,52,514430' 根据要求
21800-1341530A50342543315530' 根据要求

盒式水准仪,旋拧底座,B 型,带进口法兰

更多信息

图纸

盒式水准仪,旋拧底座,B 型,带进口法兰

商品选择/筛选

订货号类型D

D1D2D3D4HH1灵敏CAD配件价格订购
21800-2141030B201410171,6101,830' 根据要求
21800-2171030B25171221210230' 根据要求
21800-2181130B301812242,511330' 根据要求
21800-2281430B40282034,52,514430' 根据要求
21800-2341530B50342543315530' 根据要求
我的 norelemE-Mail密码
购物车
商品数量: 0
总数: 0.00  
点击购物车
欢迎扫描二维码
咨询诺瑞朗官方客服微信
中国
苏ICP备20011289号-1  苏公网安备32058502011222 网页地图 打印 推荐 Top
Copyright © 2025 norelem. 保留所有权利。 电话 +49 71 45/206-44 至 45 · 传真 +49 71 45/206-83