norelem 使用 Cookies 以优化设计和持续改进网页。您通过继续使用网页,同意使用 Cookies。在我们的数据保护声明中可以找到有关 Cookies 主题的详细信息。同意

商品描述/产品说明

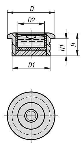
产品说明材料:黄铜底座。
盒式水准仪主体为聚酰胺。
规格:经镀镍和高光泽抛光处理。提示:水准仪作为零位指示器或用于检查水平位置,例如用于洒水车、倾斜仪、测量仪表和机械制造。
- 水准仪刻度距离 2 mm,角分级灵敏度
- 盒式水准仪对齐法兰底面
- 凸缘带嵌入凹槽
- 填充清晰
- 黑色对比环
- 白色水准仪面
温度范围:-35 °C 至 +55 °C。装配:- 测量罐体
- 通过压装的水平仪装配,0.02 mm – 0.03mm 的孔小于罐体的直径
- 根据孔的阶段进行可减轻装配的难度
特点:
RoHS
下载此处为收集信息的 PDF:

查找 CAD 数据?请直接在产品列表中查找。
 Datasheet 21804 盒式水准仪 凸缘底座 266 kB

图纸

盒式水准仪 凸缘底座

商品选择/筛选

订货号D

D1D2HH1灵敏CAD配件价格订购
21804-18103020181210830' 根据要求
21804-20123025201412930' 根据要求
21804-281330302820131030' 根据要求
我的 norelemE-Mail密码
购物车
商品数量: 0
总数: 0.00  
点击购物车
欢迎扫描二维码
咨询诺瑞朗官方客服微信
中国
苏ICP备20011289号-1  苏公网安备32058502011222 网页地图 打印 推荐 Top
Copyright © 2025 norelem. 保留所有权利。 电话 +49 71 45/206-44 至 45 · 传真 +49 71 45/206-83