|
|
|
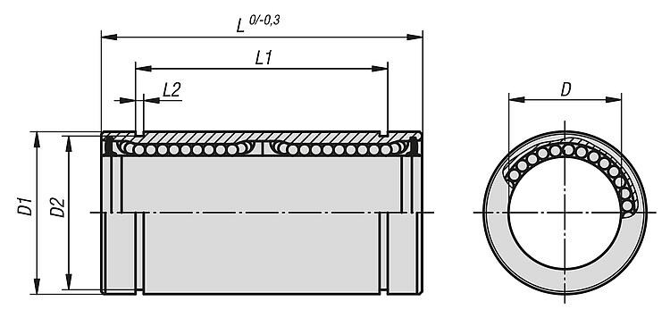
21500-10钢制串联线性滚珠轴承,带塑料保持架 |
返回 |
|
|
产品说明产品描述:串联线性滚珠轴承是双倍长度的 标准线性滚珠轴承。可以使用一个串联线性滚珠轴承代替两个标准线性滚珠轴承。因此,只需较少的结构消耗就能提高精度。 材料:滚动轴承钢制外套。 塑料保持架。 钢制滚珠。提示:线性滚珠轴承符合系列 3 的 ISO 10285 标准。带两侧密封件。线性滚珠轴承配有一个塑料保持架。这确保了安静运行和突出的运行特性。
建议公差: 轴:h6 壳体:H7
应在安装前为带两侧密封件的线性滚珠轴承涂油脂。
指定的承载量适用于使用经硬化和打磨处理的轴。温度范围:-20 °C 至 +80 °C。特点: 下载此处为收集信息的 PDF:
查找 CAD 数据?请直接在产品列表中查找。
|
| 订货号 | D
| D2 | D1 | L | L1 | L2 | 额定负载 动态 N | 额定负载 静态 N | 扭矩 Nm | CAD | 配件 | 价格 | 订购 |
|---|
| 21500-10-0802 | 8 | 15,2 | 16 | 46 | 33 | 1,1 | 430 | 820 | 4,3 |  | | 根据要求 | | | 21500-10-1202 | 12 | 21 | 22 | 61 | 45,8 | 1,3 | 830 | 1600 | 11,7 |  | | 根据要求 | | | 21500-10-1602 | 16 | 24,9 | 26 | 68 | 49,8 | 1,3 | 940 | 182 | 14,2 |  | | 根据要求 | | | 21500-10-2002 | 20 | 30,5 | 32 | 80 | 61 | 1,6 | 1400 | 2800 | 25 |  | | 根据要求 | | | 21500-10-2502 | 25 | 38 | 40 | 112 | 82 | 1,85 | 1600 | 3200 | 44 |  | | 根据要求 | | | 21500-10-3002 | 30 | 44,5 | 47 | 123 | 104,2 | 1,85 | 2550 | 5600 | 78,9 |  | | 根据要求 | | | 21500-10-4002 | 40 | 59 | 62 | 151 | 121,2 | 2,15 | 3500 | 8200 | 147 |  | | 根据要求 | | | 21500-10-5002 | 50 | 72 | 75 | 192 | 155,2 | 2,65 | 6200 | 16200 | 396 |  | | 根据要求 | |
|
|