norelem 使用 Cookies 以优化设计和持续改进网页。您通过继续使用网页,同意使用 Cookies。在我们的
数据保护声明
中可以找到有关 Cookies 主题的详细信息。
同意
全球分布
创意
AGB
版权说明
数据保护
产品
企业信息
服务
下载
新闻
联系方式
产品概览
固定
灵活的标准件系统
装配
装配系统
运动
用于机床和设备制造的系统/组件
检查
量具检具组件
夹紧
夹紧技术
控制和调节
电动机构
输送
输送和移动技术
technoshop
norelem inch
英制产品目录
23410
带滑动轴承重型规格的双万向节 DIN 808
返回
产品
产品概览
用于机床和设备制造的系统和组件
联轴器、 刚性联轴器、 胀紧套、 万向节、 快速插拔联轴器、 轴承、 密封件
万向节
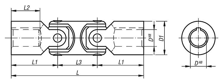
带滑动轴承重型规格的双万向节 DIN 808
商品描述/产品说明
产品说明
材料:
钢制。
规格:
亮色。
提示:
万向节(重型规格)适合手动驱动升降台、滑架、百叶窗等或在低转速时进行短暂机械驱动。
带滑动轴承的双万向节可 70° 旋转。
当为 150 rpm 时可传输最大扭矩(Nm),工作角度 α < 5°。
特点:
下载
此处为收集信息的 PDF:
查找 CAD 数据?请直接在产品列表中查找。
Datasheet 23410 带滑动轴承重型规格的双万向节 DIN 808
161 kB
万向节轴:安装和维护
218 kB
图纸
商品概述(精简)
商品选择/筛选
订货号
无开槽的定位孔
订货号
带开槽的定位孔
D
D1
L
L1
L2
L3
B
T
最大扭矩
Nm
静态
断裂力矩
Nm
筛选
23410-08060
23410-108060
8
13
60
21
11
18
2
9
4
25
23410-10074
23410-110074
10
16
74
26
15
22
3
11,4
6
35
23410-12088
23410-112088
12
22
88
31
18
26
4
13,8
13
80
23410-16104
23410-116104
16
25
104
37
21
30
5
18,3
23
140
23410-20124
23410-120124
20
32
123
43
24
37
6
22,8
46
280
23410-25156
23410-125156
25
40
156
54
32
47
8
28,3
90
600
23410-32188
23410-132188
32
50
188
66
40
56
10
35,3
180
1100
本类目的其他商品
23403
带滑动轴承 DIN 808 的单万向节
23403-01
带有类似 DIN 808 滑动轴承的不锈钢单万向节
23404
带滑动轴承的双万向节 DIN 808
23404-01
带有类似 DIN 808 滑动轴承的不锈钢双万向节
23406
带滚针轴承 DIN 808 的单万向节
23407
带滚针轴承的双万向节 DIN 808
23409
带滑动轴承重型规格 DIN 808 的单万向节
23412
可伸缩十字轴万向节轴
23414
球窝接头和万向节头(单)的橡胶护套
23415
球窝接头和万向节头(双)的橡胶护套
我的 norelem
E-Mail
密码
忘记密码
首次登陆
购物车
商品数量:
0
总数:
0.00
€
点击购物车
欢迎扫描二维码
咨询诺瑞朗官方客服微信
Algérie
Andorra
Argentina
Australia
België
Bolivia
Bosna i Hercegovina
Brasil
Canada
Česká republika
Chile
中国
Colombia
Costa Rica
Cuba
Danmark
Dem. Peop. Rep. of Korea
Deutschland
Ecuador
Eesti
España
Georgia
香港
Hrvatska
India
Ireland
Ísland
Italia
Jamaica
日本
Latvija
Liechtenstein
Lietuvos
Luxemburg
Magyarország
Malaysia
Malta
México
Nederland
New Zealand
Norge
Österreich
Pakistan
Paraguay
Perú
Polska
Portugal
Principauté de Monaco
台灣
Rep. di San Marino
대한민국
România
Schweiz
Singapore
Slovenija
Slovensko
South Africa
Suomi
Sverige
Türkiye
United Kingdom
United States of America
Uruguay
Venezuela
Việt Nam
Ελλάδα
Κύπρος
Беларусь
България
Република Србија
Россия
Србија и Црна Гора
Україна
ישראל
الامارات العربية المتحدة
السعودية
ايران
مصر
ประเทศไทย
Chinese
English
苏ICP备20011289号-1
苏公网安备32058502011222
网页地图
打印
推荐
Top
Copyright © 2025 norelem. 保留所有权利。
电话 +49 71 45/206-44 至 45 · 传真 +49 71 45/206-83