norelem 使用 Cookies 以优化设计和持续改进网页。您通过继续使用网页,同意使用 Cookies。在我们的数据保护声明中可以找到有关 Cookies 主题的详细信息。同意
球形橡胶止动缓冲器
26115

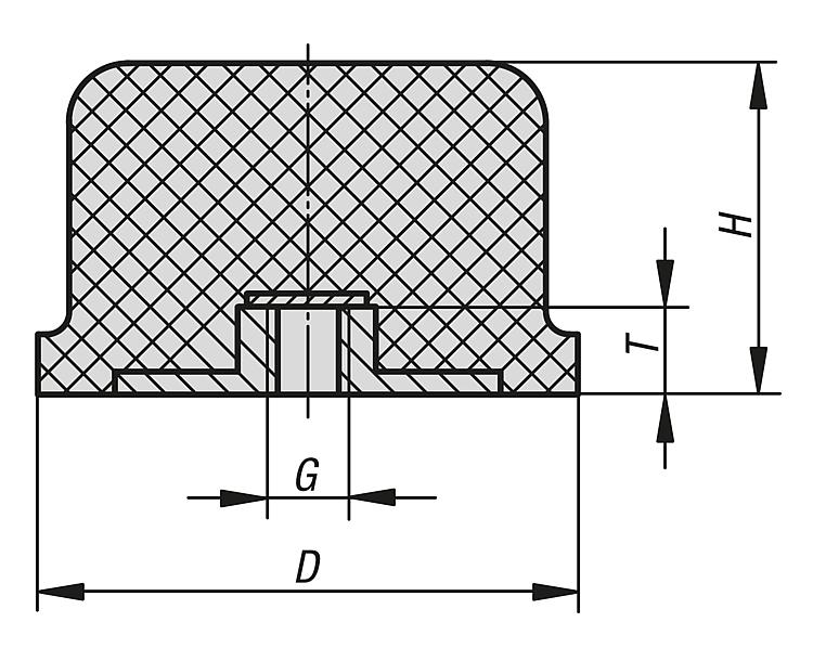
钢制橡胶金属缓冲器,带内螺纹的球形 KE 型

返回

商品描述/产品说明

产品说明材料:强度 5.6 钢制金属件。
天然橡胶弹性体,硬度 55° Shore A 或 70° Shore A。
规格:钢制镀锌。提示:橡胶止动缓冲器的特征是坚固以及有效缓冲和减弱冲击。橡胶止动缓冲器尤其适合用于限制弹性行程和缓冲移动和非移动机组、机器的冲击,以及通常用作止动器。
由于材料成分的原因,橡胶缓冲器会接触着色,由此导致地板或接触表面等出现磨损痕迹和变色等现象。
可根据要求提供浅灰色三元乙丙橡胶制成的非接触着色橡胶缓冲器。
温度范围:-20 °C 至 +75 °C。根据要求:其它邵氏硬度。
下载此处为收集信息的 PDF:

查找 CAD 数据?请直接在产品列表中查找。
 Datasheet 26115 钢制橡胶金属缓冲器,带内螺纹的球形 KE 型 273 kB

图纸

钢制橡胶金属缓冲器,带内螺纹的球形 KE 型

商品概述(精简)

商品选择/筛选
订货号

D

HGT弹簧刚度
N/mm
负载
N
肖氏硬度CAD配件价格订购
26115-050035555035M101015220055A 根据要求
26115-080060558060M1212301100055A 根据要求
26115-1250905512593M1616402000055A 根据要求
26115-050035705035M10101100800070A 根据要求
26115-080060708060M121217002400070A 根据要求
26115-1250907012590M161628006200070A 根据要求
我的 norelemE-Mail密码
购物车
商品数量: 0
总数: 0.00  
点击购物车
欢迎扫描二维码
咨询诺瑞朗官方客服微信
中国
苏ICP备20011289号-1  苏公网安备32058502011222 网页地图 打印 推荐 Top
Copyright © 2025 norelem. 保留所有权利。 电话 +49 71 45/206-44 至 45 · 传真 +49 71 45/206-83