norelem 使用 Cookies 以优化设计和持续改进网页。您通过继续使用网页,同意使用 Cookies。在我们的数据保护声明中可以找到有关 Cookies 主题的详细信息。同意

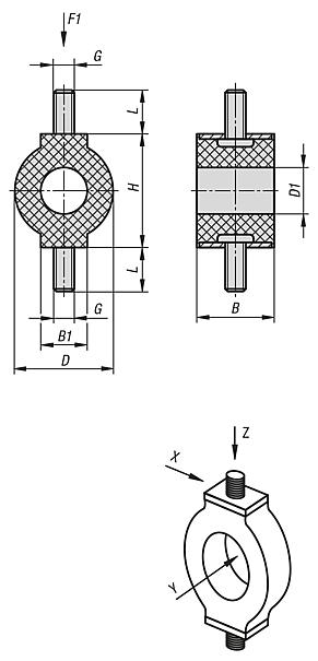
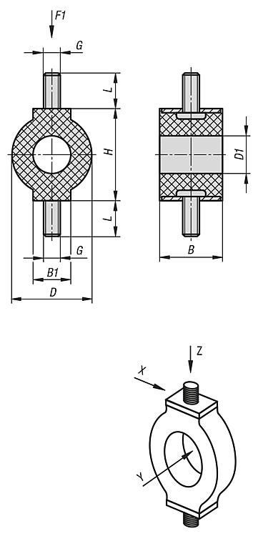
商品描述/产品说明

产品说明材料:强度 5.6 钢制金属件。
天然橡胶弹性体,中等硬度,57° Shore A。
规格:钢制镀锌。提示:O 型轴承具有非常软的弹簧特性,因此也被称为低频轴承。其用于低振动地存放仪表、电气部件以及固定较轻机组和精密工程设备。
由于材料成分的原因,橡胶缓冲器会接触着色,由此导致地板或接触表面等出现磨损痕迹和变色等现象。
可根据要求提供浅灰色三元乙丙橡胶制成的非接触着色橡胶缓冲器。

O 型轴承的弹簧特性以 X、Y 和 Z 的顺序增加。主负载方向为螺纹销的纵轴(Z 方向)。

温度范围:-30 °C 至 +80 °C特点:
RoHS
下载此处为收集信息的 PDF:

查找 CAD 数据?请直接在产品列表中查找。
 Datasheet 26130 O 形轴承钢,带双面外螺纹 201 kB

图纸

O 形轴承钢,带双面外螺纹

商品选择/筛选

订货号BB1D

D1

GHLF1
N
CAD配件价格订购
26130-012012579,59,5106M412,5108 根据要求
26130-01401757136146M4171018 根据要求
26130-0250305720122512M5301055 根据要求
我的 norelemE-Mail密码
购物车
商品数量: 0
总数: 0.00  
点击购物车
欢迎扫描二维码
咨询诺瑞朗官方客服微信
中国
苏ICP备20011289号-1  苏公网安备32058502011222 网页地图 打印 推荐 Top
Copyright © 2025 norelem. 保留所有权利。 电话 +49 71 45/206-44 至 45 · 传真 +49 71 45/206-83