norelem 使用 Cookies 以优化设计和持续改进网页。您通过继续使用网页,同意使用 Cookies。在我们的数据保护声明中可以找到有关 Cookies 主题的详细信息。同意

商品描述/产品说明

产品说明材料:

不锈钢 1.4571 轴承套。
不锈钢 1.4034 球形活节。
织物 PTFE - 不锈钢附件。

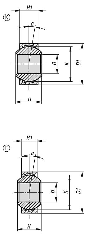
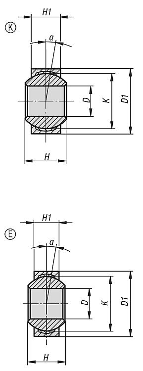
规格:经打磨处理,经抛光处理。 提示:适用于高压下和动态负载下。连接尺寸符合 DIN ISO 12240-1 E/ K。特点:
不锈钢RoHS
下载此处为收集信息的 PDF:

查找 CAD 数据?请直接在产品列表中查找。
 Datasheet 27632-02 万向轴承 K / E 系列 DIN ISO 12240-1 202 kB

图纸

万向轴承 K / E 系列 DIN ISO 12240-1

商品概述(精简)

商品选择/筛选
订货号

类型 1D

D1HH1Kα额定负载
动态
N
额定负载
静态
N
最高转速
1/min.
CAD配件价格订购
27632-02-10513尺寸系列 k5 H713 h78611,1113°750012500600 根据要求
27632-02-10615尺寸系列 k6 H715 h796,7512,713°930015500530 根据要求
27632-02-10818尺寸系列 k8 H718 h712915,8714°1670027800420 根据要求
27632-02-11021尺寸系列 k10 H721 h71410,519,0513°2340039000350 根据要求
27632-02-11224尺寸系列 k12 H724,5 h7161222,2213°3200034500300 根据要求
27632-02-11631尺寸系列 k16 H731,5 h7211528,5715°5250088000230 根据要求
订货号

类型 1D

D1HH1Kα额定负载
动态
N
额定负载
静态
N
CAD配件价格订购
27632-02-20614尺寸系列 e6 -0,00814 -0,008641013°40009000 根据要求
27632-02-20816尺寸系列 e8 -0,00816 -0,008851315°700015600 根据要求
27632-02-21019尺寸系列 e10-0,00819 -0,009961612°1000023400 根据要求
27632-02-21222尺寸系列 e12 -0,00822 -0,0091071811°1400032000 根据要求
27632-02-21630尺寸系列 e16 -0,00830 -0,00914102510°3900065000 根据要求
我的 norelemE-Mail密码
购物车
商品数量: 0
总数: 0.00  
点击购物车
欢迎扫描二维码
咨询诺瑞朗官方客服微信
中国
苏ICP备20011289号-1  苏公网安备32058502011222 网页地图 打印 推荐 Top
Copyright © 2025 norelem. 保留所有权利。 电话 +49 71 45/206-44 至 45 · 传真 +49 71 45/206-83