norelem 使用 Cookies 以优化设计和持续改进网页。您通过继续使用网页,同意使用 Cookies。在我们的数据保护声明中可以找到有关 Cookies 主题的详细信息。同意

商品描述/产品说明

查看/筛选所有商品
产品说明材料:

不锈钢脚杯和丝杠 1.4301.
橡胶衬层 (NBR) 85 邵氏硬度 +/-5,经 FDA 检测。
橡胶密封件,硅胶,经 FDA 检测。

规格:脚杯经高光泽抛光处理。
丝杠亮色。
黑色橡胶衬层。
蓝色橡胶密封件。
提示:认证符合 3-A 卫生标准。

螺距上高质量表面和双层密封涂层以及机床脚杯的主轴接头上的特制密封件,可防止污物的附着并将清洁时间减至最低。

机座交付时贴有 3-A 标志。
应用:此机座特别适用于食品工业、酿酒厂、乳制品制造业、饮料以及药品制造业中应用的机床、设备和装置。附件:螺纹盖 27791-10。图纸提示:
1) 调节范围
特点:
 RoHS
下载此处为收集信息的 PDF:

查找 CAD 数据?请直接在产品列表中查找。
 Datasheet 27791-05 Hygienic DESIGN 调节脚杯 328 kB
 norelem-3-A-Zertifikat-2025 164 kB

图片(总概述)

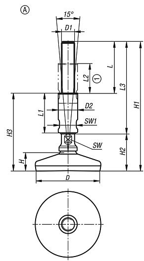
Hygienic DESIGN 调节脚杯

Hygienic DESIGN 调节脚杯,A 型

更多信息

图纸

Hygienic DESIGN 调节脚杯,A 型

商品选择/筛选

订货号类型D

D1D2HH1H2H3LL1L2L3SWSW1负载能力
max. kN
(静态负载)
CAD配件价格订购
27791-05-106012X140A60M12242319151112796045140132010 根据要求
27791-05-106012X190A60M122423241511371048570190132010 根据要求
27791-05-106016X140A60M16242319151112796045140132010 根据要求
27791-05-106016X190A60M162423241511371048570190132010 根据要求
27791-05-108016X140A80M16242519353114796045140132020 根据要求
27791-05-108016X190A80M162425243531391048570190132020 根据要求
27791-05-108020X140A80M20302519353114796045140172620 根据要求
27791-05-108020X190A80M203025243531391048570190172620 根据要求
27791-05-108024X140A80M24352519353114796045140203020 根据要求
27791-05-108024X190A80M243525243531391048570190203020 根据要求
27791-05-110016X140A100M16242819656117796045140132025 根据要求
27791-05-110016X190A100M162428246561421048570190132025 根据要求
27791-05-110020X140A100M20302819656117796045140172625 根据要求
27791-05-110020X190A100M203028246561421048570190172625 根据要求
27791-05-110024X140A100M24352819656117796045140203025 根据要求
27791-05-110024X190A100M243528246561421048570190203025 根据要求
27791-05-112016X140A120M16243220060121796045140132030 根据要求
27791-05-112016X190A120M162432250601461048570190132030 根据要求
27791-05-112020X140A120M20303220060121796045140172630 根据要求
27791-05-112020X190A120M203032250601461048570190172630 根据要求
27791-05-112024X140A120M24353220060121796045140203030 根据要求
27791-05-112024X190A120M243532250601461048570190203030 根据要求

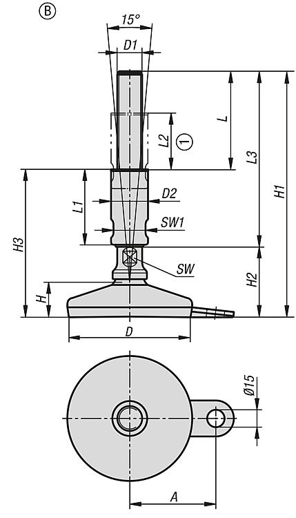
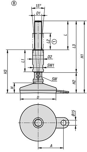
Hygienic DESIGN 调节脚杯,B 型

更多信息

图纸

Hygienic DESIGN 调节脚杯,B 型

商品选择/筛选

订货号类型AD

D1D2HH1H2H3LL1L2L3SWSW1负载能力
max. kN
(静态负载)
CAD配件价格订购
27791-05-206012X140B4560M12242319151112796045140132010 根据要求
27791-05-206012X190B4560M122423241511371048570190132010 根据要求
27791-05-206016X140B4560M16242319151112796045140132010 根据要求
27791-05-206016X190B4560M162423241511371048570190132010 根据要求
27791-05-208016X140B5480M16242519353114796045140132020  根据要求
27791-05-208016X190B5480M162425243531391048570190132020  根据要求
27791-05-208020X140B5480M20302519353114796045140172620  根据要求
27791-05-208020X190B5480M203025243531391048570190172620  根据要求
27791-05-208024X140B5480M24352519353114796045140203020  根据要求
27791-05-208024X190B5480M243525243531391048570190203020  根据要求
27791-05-210016X140B69100M16242819656117796045140132025  根据要求
27791-05-210016X190B69100M162428246561421048570190132025  根据要求
27791-05-210020X140B69100M20302819656117796045140172625  根据要求
27791-05-210020X190B69100M203028246561421048570190172625  根据要求
27791-05-210024X140B69100M24352819656117796045140203025  根据要求
27791-05-210024X190B69100M243528246561421048570190203025  根据要求
我的 norelemE-Mail密码
购物车
商品数量: 0
总数: 0.00  
点击购物车
欢迎扫描二维码
咨询诺瑞朗官方客服微信
中国
苏ICP备20011289号-1  苏公网安备32058502011222 网页地图 打印 推荐 Top
Copyright © 2025 norelem. 保留所有权利。 电话 +49 71 45/206-44 至 45 · 传真 +49 71 45/206-83