|
|
|
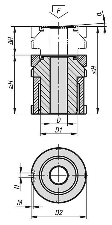
27707带球面调节垫圈的钢制或不锈钢高度调整元件 |
返回 |
|
|
产品说明材料:标准规格 1.7225, 不锈钢规格 1.4305。规格:经电镀锌和蓝色钝化处理的标准规格。 亮色不锈钢规格。提示:带球面调节垫圈的高度调整元件用于安装和校准电机、机组、驱动元件和生产流水线中。通过它可以在装配倾角最大约 4° 的倾斜支承面时实现精确的位置匹配。 其特征是具有 15 mm 至 50 mm 的较大调节行程。 从总载荷 F 中扣除预紧力(螺丝 8.8,µ m = 0.125)后,可获得静态附加载荷 F1。 附件:球面平衡垫圈 07460 . 带 DIN 1810A 挂钩的加长版钩形扳手 96650. 下载此处为收集信息的 PDF:
查找 CAD 数据?请直接在产品列表中查找。
|
| 订货号 | 主体 材料 | D
| 适用 螺栓 | D1 | D2 | H min. | H max.
| ΔH | N | M | α | F kN | F1 kN | CAD | 配件 | 价格 | 订购 |
|---|
| 27707-1506 | 调质钢 | 6,6 | M6 | M15x1 | 25 | 35 | 50 | 15 | 4 | 2 | 4° | 40 | 36 |  |  | 根据要求 | | | 27707-2006 | 调质钢 | 6,6 | M6 | M20x1 | 32 | 43 | 63 | 20 | 4 | 2 | 4° | 65 | 55,7 |  |  | 根据要求 | | | 27707-2008 | 调质钢 | 9 | M8 | M20x1 | 32 | 43 | 63 | 20 | 4 | 2 | 4° | 65 | 48 |  |  | 根据要求 | | | 27707-2010 | 调质钢 | 11 | M10 | M20x1 | 32 | 43 | 63 | 20 | 4 | 2 | 4° | 65 | 37,9 |  |  | 根据要求 | | | 27707-2510 | 调质钢 | 11 | M10 | M30x1,5 | 45 | 54 | 79 | 25 | 5 | 2 | 4° | 120 | 92,9 |  |  | 根据要求 | | | 27707-2512 | 调质钢 | 13,5 | M12 | M30x1,5 | 45 | 54 | 79 | 25 | 5 | 2 | 4° | 120 | 80,4 |  |  | 根据要求 | | | 27707-2516 | 调质钢 | 17,5 | M16 | M30x1,5 | 45 | 54 | 79 | 25 | 5 | 2 | 4° | 120 | 45,5 |  |  | 根据要求 | | | 27707-3216 | 调质钢 | 17,5 | M16 | M40x1,5 | 58 | 70 | 102 | 32 | 6 | 2,5 | 4° | 210 | 136 |  |  | 根据要求 | | | 27707-3220 | 调质钢 | 22 | M20 | M40x1,5 | 58 | 70 | 102 | 32 | 6 | 2,5 | 4° | 210 | 90 |  |  | 根据要求 | | | 27707-3224 | 调质钢 | 26 | M24 | M40x1,5 | 58 | 70 | 102 | 32 | 6 | 2,5 | 4° | 210 | 37 |  |  | 根据要求 | | | 27707-4020 | 调质钢 | 22 | M20 | M50x1,5 | 70 | 83 | 123 | 40 | 6 | 2,5 | 4° | 330 | 210 |  |  | 根据要求 | | | 27707-4024 | 调质钢 | 26 | M24 | M50x1,5 | 70 | 83 | 123 | 40 | 6 | 2,5 | 4° | 330 | 157 |  |  | 根据要求 | | | 27707-4030 | 调质钢 | 33 | M30 | M50x1,5 | 70 | 83 | 123 | 40 | 6 | 2,5 | 4° | 330 | 53 |  |  | 根据要求 | | | 27707-5024 | 调质钢 | 26 | M24 | M60x2 | 80 | 94 | 144 | 50 | 7 | 3 | 4° | 495 | 322 |  | | 根据要求 | | | 27707-5030 | 调质钢 | 33 | M30 | M60x2 | 80 | 94 | 144 | 50 | 7 | 3 | 4° | 495 | 218 |  | | 根据要求 | | | 27707-15061 | 不锈钢 | 6,6 | M6 | M15x1 | 25 | 35 | 50 | 15 | 4 | 2 | 4° | 27,1 | 24,14 |  |  | 根据要求 | | | 27707-20061 | 不锈钢 | 6,6 | M6 | M20x1 | 32 | 43 | 63 | 20 | 4 | 2 | 4° | 43,4 | 36,56 |  |  | 根据要求 | | | 27707-20081 | 不锈钢 | 9 | M8 | M20x1 | 32 | 43 | 63 | 20 | 4 | 2 | 4° | 43,4 | 30,86 |  |  | 根据要求 | | | 27707-20101 | 不锈钢 | 11 | M10 | M20x1 | 32 | 43 | 63 | 20 | 4 | 2 | 4° | 43,4 | 23,41 |  |  | 根据要求 | | | 27707-25101 | 不锈钢 | 11 | M10 | M30x1,5 | 45 | 54 | 79 | 25 | 5 | 2 | 4° | 84 | 64,01 |  |  | 根据要求 | | | 27707-25121 | 不锈钢 | 13,5 | M12 | M30x1,5 | 45 | 54 | 79 | 25 | 5 | 2 | 4° | 84 | 54,82 |  |  | 根据要求 | | | 27707-25161 | 不锈钢 | 17,5 | M16 | M30x1,5 | 45 | 54 | 79 | 25 | 5 | 2 | 4° | 84 | 28,9 |  |  | 根据要求 | | | 27707-32161 | 不锈钢 | 17,5 | M16 | M40x1,5 | 58 | 70 | 102 | 32 | 6 | 2,5 | 4° | 148 | 92,9 |  |  | 根据要求 | | | 27707-32201 | 不锈钢 | 22 | M20 | M40x1,5 | 58 | 70 | 102 | 32 | 6 | 2,5 | 4° | 148 | 59,08 |  |  | 根据要求 | | | 27707-32241 | 不锈钢 | 26 | M24 | M40x1,5 | 58 | 70 | 102 | 32 | 6 | 2,5 | 4° | 148 | 20,3 |  |  | 根据要求 | | | 27707-40201 | 不锈钢 | 22 | M20 | M50x1,5 | 70 | 83 | 123 | 40 | 6 | 2,5 | 4° | 225 | 136,08 |  |  | 根据要求 | | | 27707-50241 | 不锈钢 | 26 | M24 | M60x2 | 80 | 94 | 144 | 50 | 7 | 3 | 4° | 323 | 195,3 |  | | 根据要求 | | | 27707-50301 | 不锈钢 | 33 | M30 | M60x2 | 80 | 94 | 144 | 50 | 7 | 3 | 4° | 323 | 118,6 |  | | 根据要求 | |
|
|