norelem 使用 Cookies 以优化设计和持续改进网页。您通过继续使用网页,同意使用 Cookies。在我们的数据保护声明中可以找到有关 Cookies 主题的详细信息。同意

商品描述/产品说明

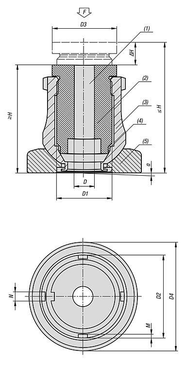
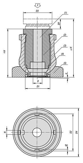
产品说明材料:钢制 1.7225。规格:电镀锌和经过钝化处理。提示:带球头调平器的高度调整脚适用于需要安装和校准重型系统、机器和设备。通过它可以在装配倾角最大约 4° 的倾斜支承面时实现精确的位置匹配。
其特征是具有 15 mm 至 50 mm 的较大调节行程。
扣除固定螺栓预紧力后,可获得静态附加载荷 F。
装配:高度调节脚通过固定螺栓(1)安装在机器或类似设备上。这意味着上侧(2)与机器或装置牢固连接。用钩形扳手转动下侧(3)即可调节高度。防拧装置(4)可防止上半部分拧得过松;它对最大调节高度(∆H)也起着决定性作用。调平器(5)与下侧相连,因此可以补偿倾斜度达 4° 的接触面。由于采用了特殊的设计措施,调平器(5)不会从下侧(3)上脱落,因此与下侧形成一个整体。根据要求:其他尺寸。
不锈钢高度调节脚 A1 或 A4。
附件:带 DIN 1810A 挂钩的加长版钩形扳手 96650.特点:
RoHS
下载此处为收集信息的 PDF:

查找 CAD 数据?请直接在产品列表中查找。
 Datasheet 27709-10 高度调整脚,配有球头调平器 253 kB

图纸

高度调整脚,配有球头调平器

商品选择/筛选

订货号D

D1D2D3D4H
min.
H
max.
ΔHMNF
kN
α适用
螺栓
CAD配件价格订购
27709-10-15066,6M15x12519343651152445M6 根据要求
27709-10-20089M20x13224444464202475M8 根据要求
27709-10-251011M30x1,545356258832525140M10 根据要求
27709-10-321213,5M40x1,558458076108322,56210M12 根据要求
27709-10-401617,5M50x1,570559586126402,56400M16 根据要求
27709-10-502022M60x280651101041545037520M20 根据要求
我的 norelemE-Mail密码
购物车
商品数量: 0
总数: 0.00  
点击购物车
欢迎扫描二维码
咨询诺瑞朗官方客服微信
中国
苏ICP备20011289号-1  苏公网安备32058502011222 网页地图 打印 推荐 Top
Copyright © 2025 norelem. 保留所有权利。 电话 +49 71 45/206-44 至 45 · 传真 +49 71 45/206-83