norelem 使用 Cookies 以优化设计和持续改进网页。您通过继续使用网页,同意使用 Cookies。在我们的数据保护声明中可以找到有关 Cookies 主题的详细信息。同意
油位指示器 带电子油位和温度监控装置
28000-12

油位指示器 带电子油位和温度监控装置

返回

商品描述/产品说明

产品说明材料:玻璃纤维增强型尼龙热塑性塑料制壳体。
尼龙热塑性塑料制观察窗。
橡胶 (NBR) 制 O 型环和平面密封件。
PVC 塑料反射器。
塑料浮子。
钢制螺栓和六角螺母。
规格:黑色壳体。
透明观察窗,高机械强度,抗老化。
白色反射器。
红色浮子,带磁性元件。
镀锌螺栓和六角螺母。
提示:通过油位指示器,不仅可以直观地显示液位,还可以通过 REED 开关检测液位。除了目视检查外,当容器内的液体温度达到 70 °C 的阈值时,油位指示器可以发出电子信号。
闭合电路后,浮子元件一旦达到设定的最小值,将立即输出电子信号。
传感器位于外壳上,可根据液位的控制要求调节高度。最低距下部固定螺栓的中心约 35 mm。
标准情况下,REED 开关配有常开触点 (NO)。
通过温度开关(双金属)监测温度。达到规定温度时,根据型号,电路由传感器关闭 (NO) 或打开 (NC)。
观察窗由两个透明组件组成,组装后通过超声波焊接在一起。确保了整体密封。
最大压力为 1 bar。固定螺栓的最大锁紧扭矩为 5 Nm。
观察窗具有良好的机械阻力,与矿物油、汽油、润滑剂、石油、溶剂和大多数化学试剂相容。应避免接触酒精溶液和热水。
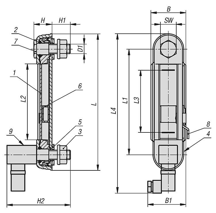
技术参数:参见下载、技术说明。温度范围:最高工作温度:75 °C。装配:油位指示器通过两个 M12 螺纹孔固定,或者通过两个直径为 12.2 mm (± 0.2 mm) 的带法兰螺母的孔固定。固定孔的轴距 = L1 ± 0.3。功能:通过带有磁铁的浮子元件测量油位,达到 "REED" 液位开关时,该磁铁激活电触点。如果油位低于某一水平,则可以发出电脉冲。说明:强磁场会影响功能。图纸提示:
1) 观察窗
2) O 型环
3) M12 法兰螺母
4) 外壳
5) 平面密封件
6) 带磁铁的浮子
7) M12 空心螺栓
8) Reed 开关
9) 温度传感器
特点:
RoHS
下载此处为收集信息的 PDF:

查找 CAD 数据?请直接在产品列表中查找。
 Datasheet 28000-12 油位指示器 带电子油位和温度监控装置 310 kB

图纸

油位指示器 带电子油位和温度监控装置

商品选择/筛选

订货号类型 2BB1D1

HH1H2LL1L2L3L4SW固定螺栓
数量
CAD配件价格订购
28000-12-112712常开触点4245M122121801641279175191192 根据要求
28000-12-212712常闭触点4245M122121801641279175191192 根据要求
我的 norelemE-Mail密码
购物车
商品数量: 0
总数: 0.00  
点击购物车
欢迎扫描二维码
咨询诺瑞朗官方客服微信
中国
苏ICP备20011289号-1  苏公网安备32058502011222 网页地图 打印 推荐 Top
Copyright © 2025 norelem. 保留所有权利。 电话 +49 71 45/206-44 至 45 · 传真 +49 71 45/206-83